Каталог по сериям
Выбрана серия: ГОСТ
ГОСТ

2380x220x32801ПК 33-24-6 (ГОСТ 26434-2015)
Цена по запросу

2980x300x5970ПВ 10-4 АIVт н
Цена по запросу

800x800x10800С 8-108-12 К6
Цена по запросу

2390x220x5080ПБ 51-24-3 (ГОСТ 26434-2015)
Цена по запросу

250x585x59507ПБ 60-52 (ГОСТ 948-2016)
Цена по запросу

700x700x5400С 7-54-6 К4
Цена по запросу

935x400x55501П 5-6 АтVIт (ГОСТ 27215-87)
Цена по запросу

2980x300x5970ПВ 14-2 АIIIвт
Цена по запросу

220x300x59703ПР 2 АтVск н (ГОСТ 26992-86)
Цена по запросу

280x890x119603БСО 12-1 ВрII (ГОСТ 20372-86)
Цена по запросу

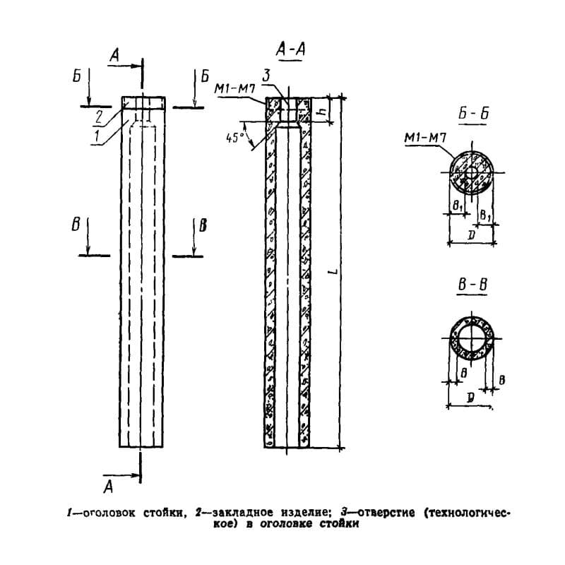
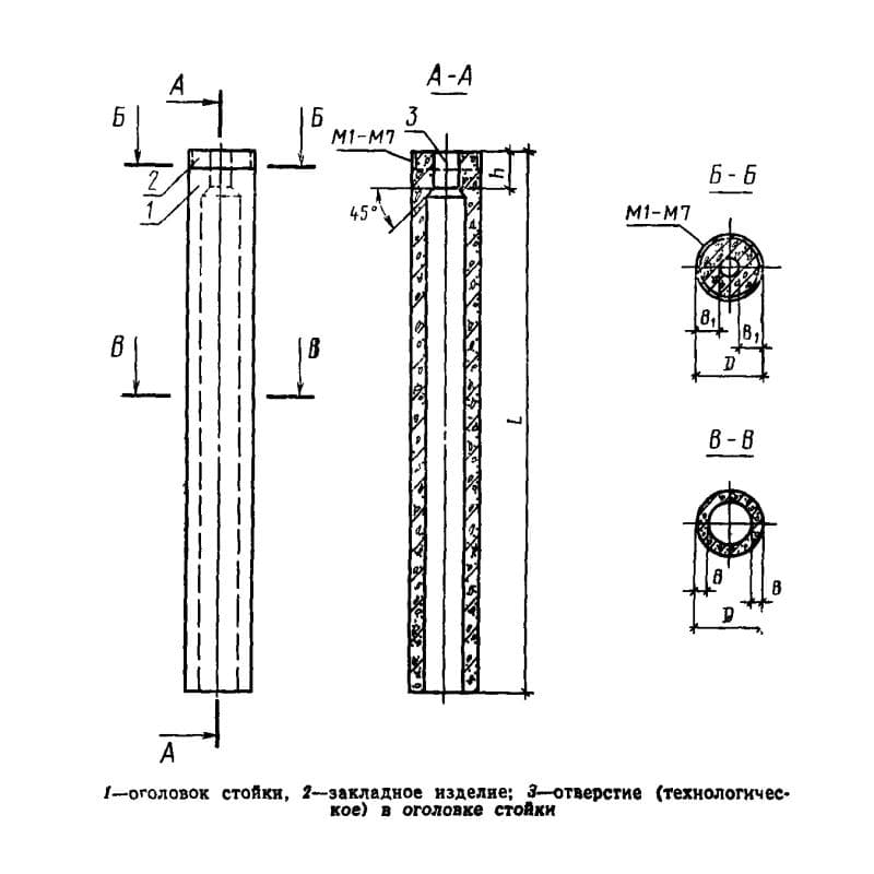
118x118x3950БНТ 100 (ГОСТ 1839-80)
Цена по запросу

600x700x112508К 102-1
Цена по запросу