Каталог по сериям
Выбрана серия: ГОСТ 23444-79
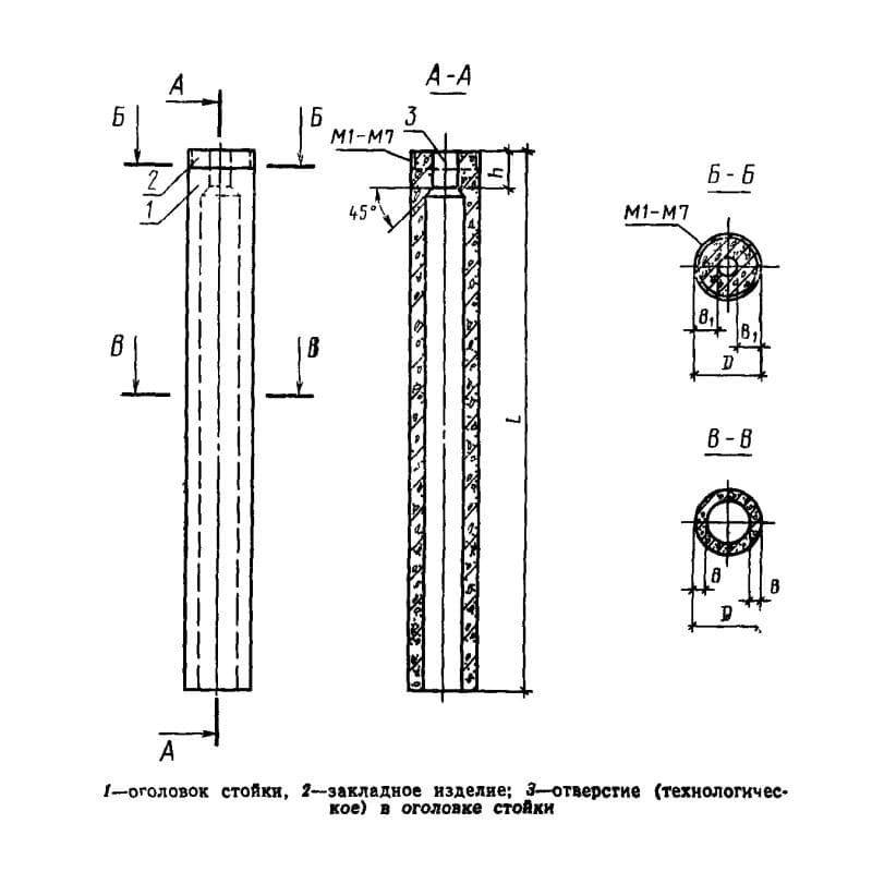
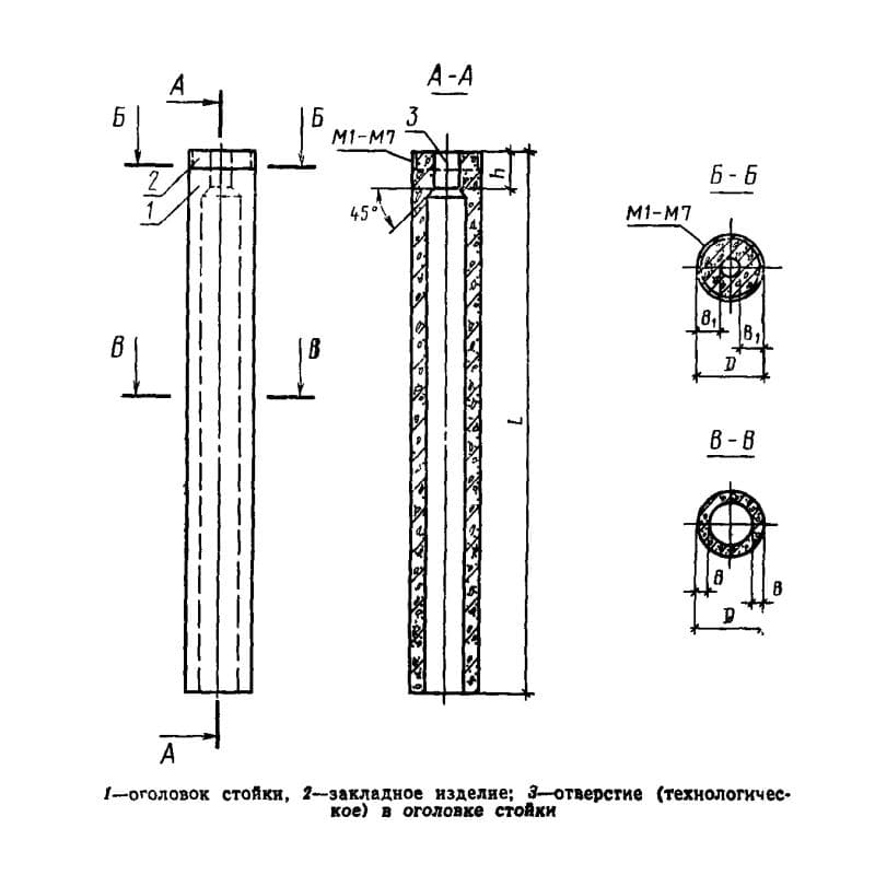
ГОСТ 23444-79

600x600x6600С 6-66-10 К4
Цена по запросу

600x600x6600С 6-66-10 К5
Цена по запросу

600x600x6600С 6-66-10 К6
Цена по запросу

600x600x6600С 6-66-10 К7
Цена по запросу

600x600x6600С 6-66-6 К1
Цена по запросу

600x600x6600С 6-66-6 К2
Цена по запросу

600x600x6600С 6-66-6 К3
Цена по запросу

600x600x6600С 6-66-6 К4
Цена по запросу

600x600x6600С 6-66-6 К5
Цена по запросу

600x600x6600С 6-66-7 К1
Цена по запросу

600x600x6600С 6-66-7 К2
Цена по запросу

600x600x6600С 6-66-7 К3
Цена по запросу