Каталог по сериям
Выбрана серия: ГОСТ 23444-79
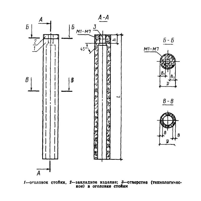
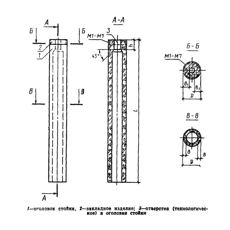
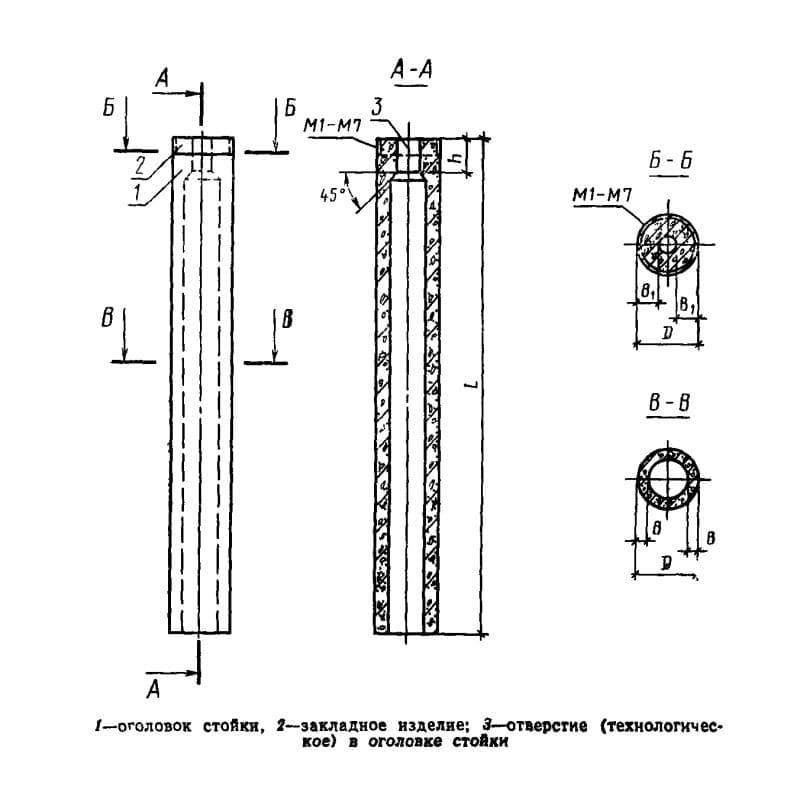
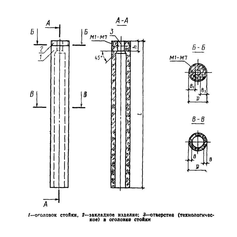
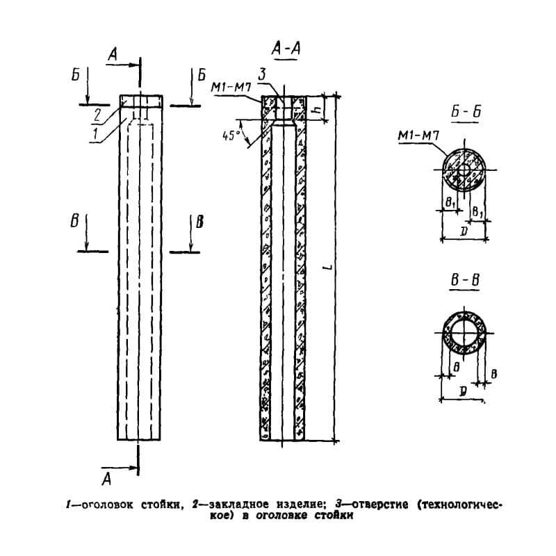
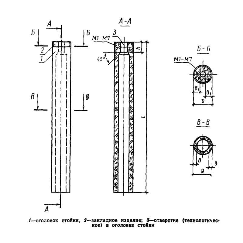
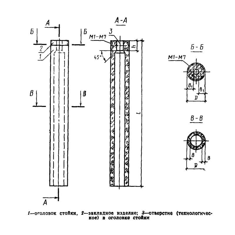
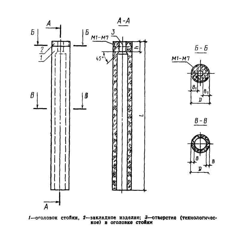
ГОСТ 23444-79

600x600x4800С 6-48-6 К3
Цена по запросу

600x600x4800С 6-48-6 К4
Цена по запросу

600x600x4800С 6-48-6 К5
Цена по запросу

600x600x4800С 6-48-7 К1
Цена по запросу

600x600x4800С 6-48-7 К2
Цена по запросу

600x600x4800С 6-48-7 К3
Цена по запросу

600x600x4800С 6-48-7 К4
Цена по запросу

600x600x4800С 6-48-7 К5
Цена по запросу

600x600x4800С 6-48-7 К6
Цена по запросу

600x600x4800С 6-48-7 К7
Цена по запросу

600x600x4800С 6-48-8 К1
Цена по запросу

600x600x4800С 6-48-8 К2
Цена по запросу