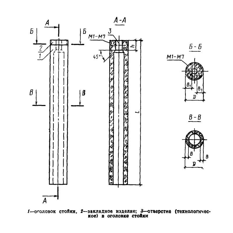
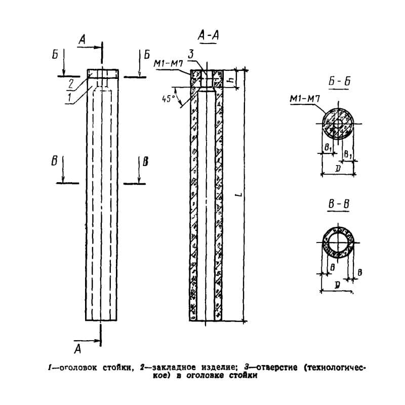
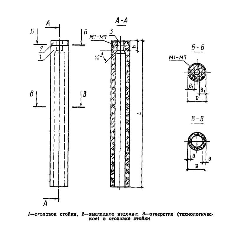
Каталог по сериям
Выбрана серия: ГОСТ 23444-79
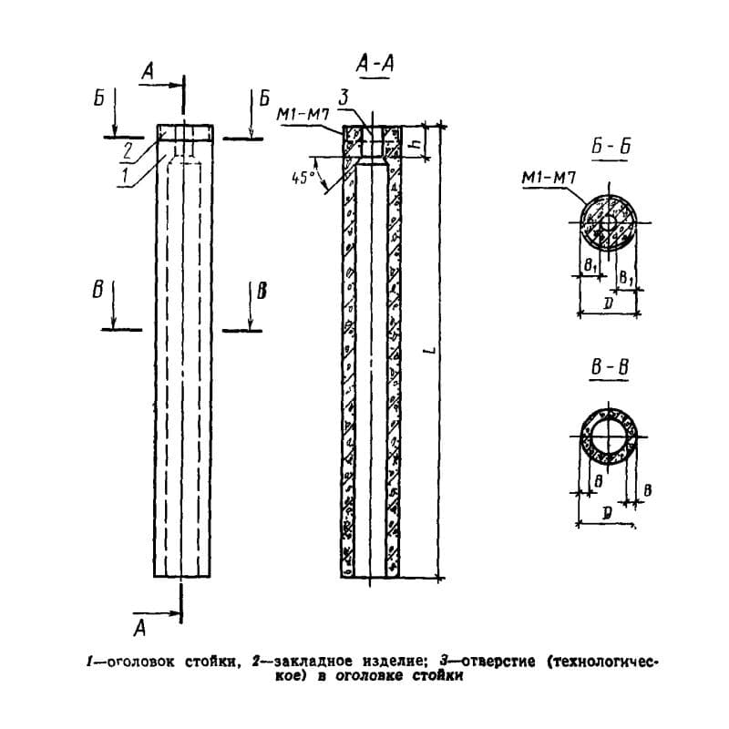
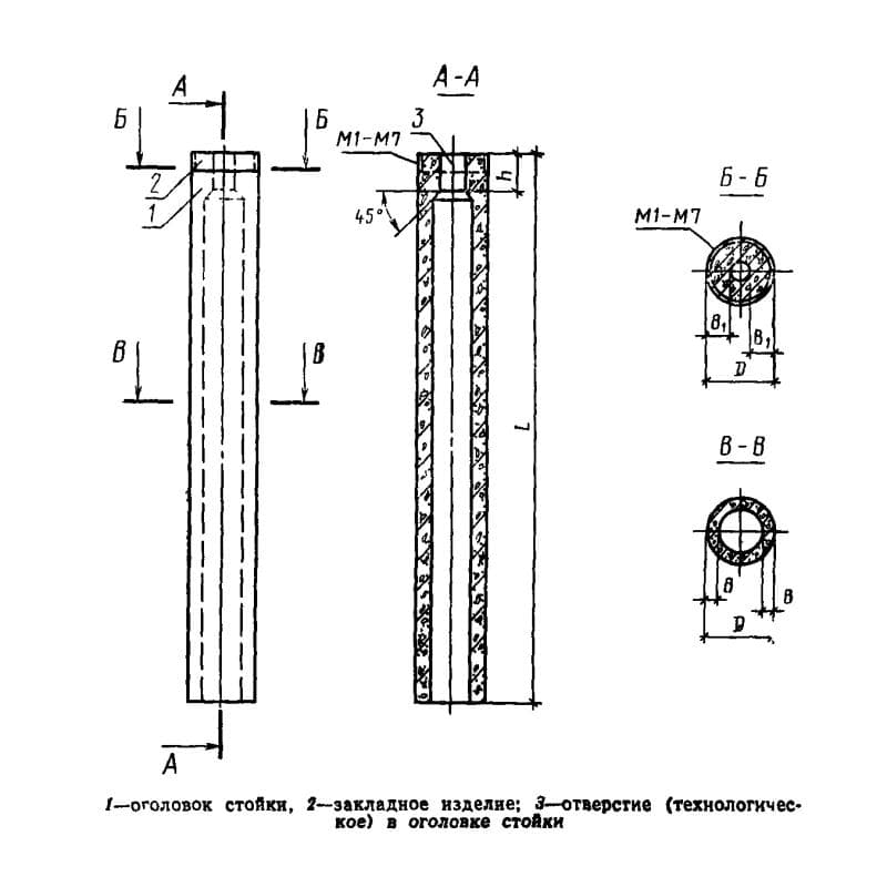
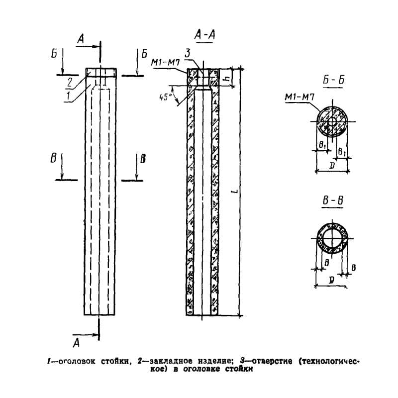
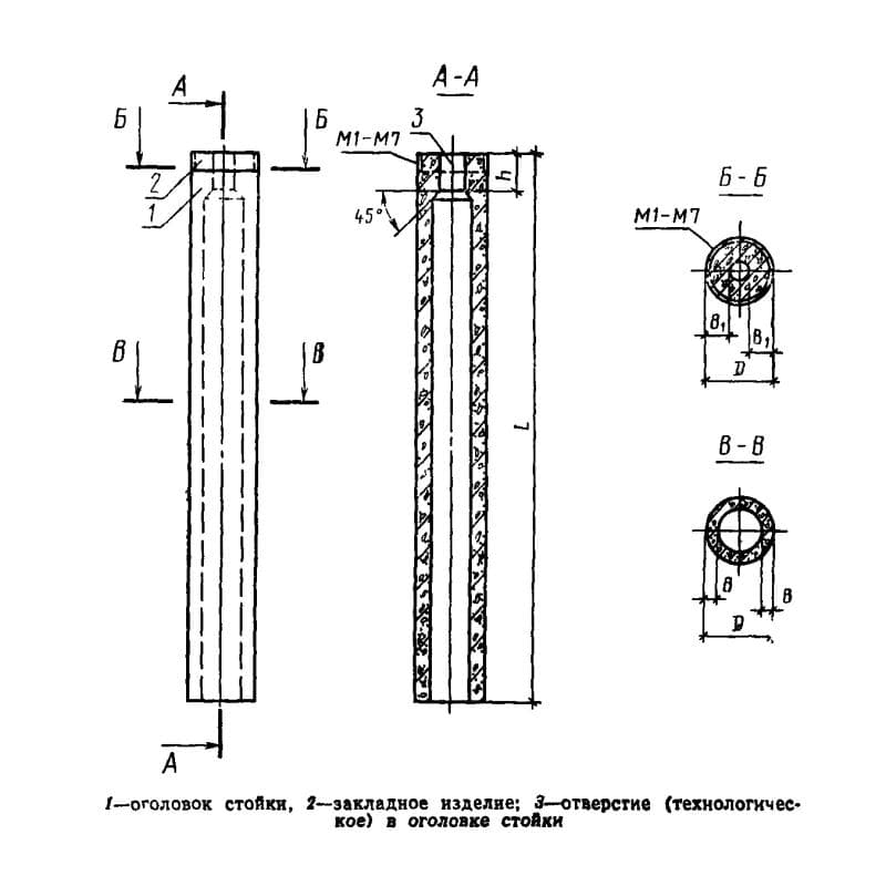
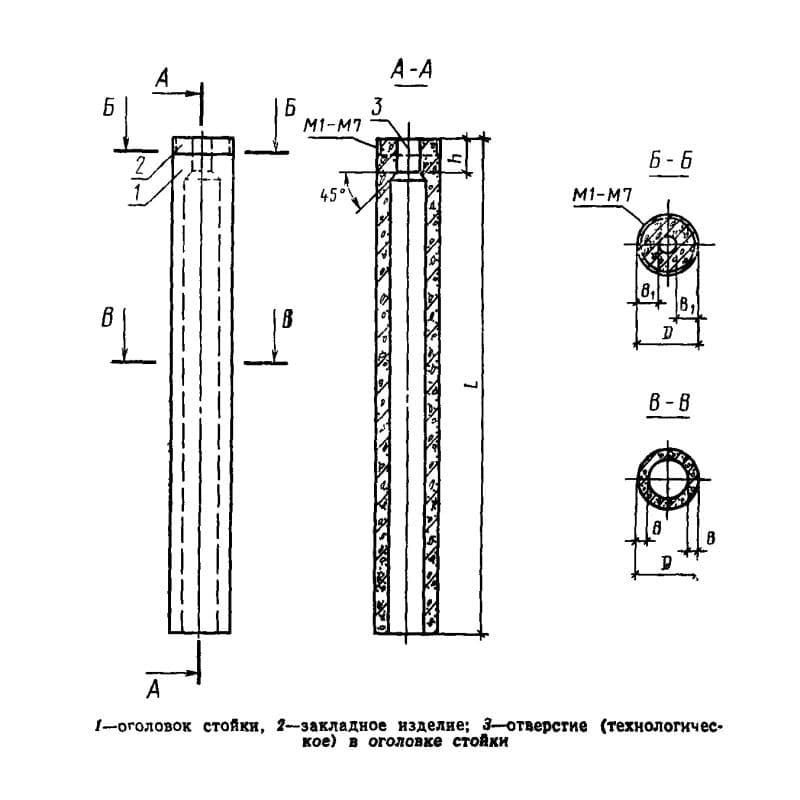
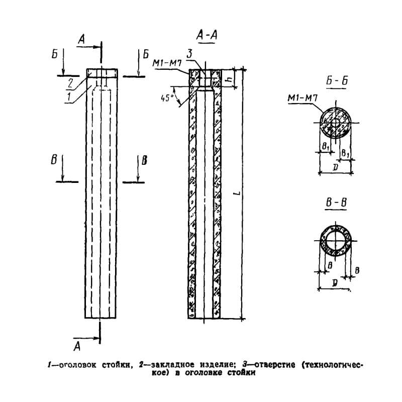
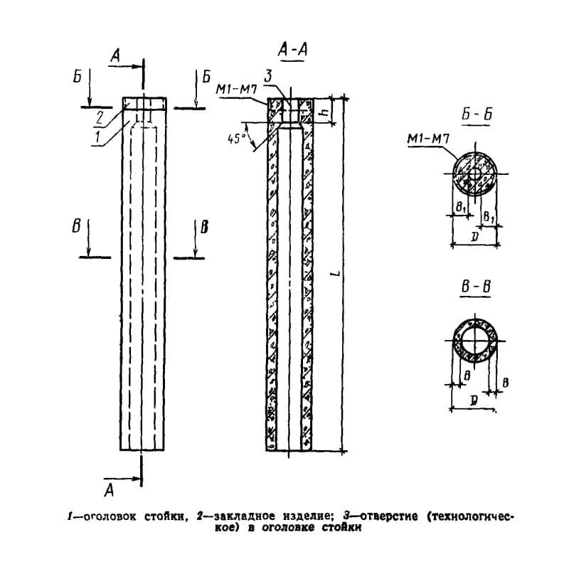
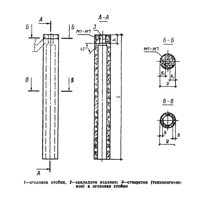
ГОСТ 23444-79

600x600x15000С 6-150-8 К4
Цена по запросу

600x600x15000С 6-150-8 К5
Цена по запросу

600x600x15000С 6-150-8 К6
Цена по запросу

600x600x15000С 6-150-8 К7
Цена по запросу

600x600x15600С 6-156-10 К3
Цена по запросу

600x600x15600С 6-156-10 К4
Цена по запросу

600x600x15600С 6-156-10 К5
Цена по запросу

600x600x15600С 6-156-10 К6
Цена по запросу

600x600x15600С 6-156-10 К7
Цена по запросу

600x600x15600С 6-156-6 К2
Цена по запросу

600x600x15600С 6-156-6 К3
Цена по запросу

600x600x15600С 6-156-6 К4
Цена по запросу