
Серия ИИ 04-4
Выпуски:
Выпуск 1. Железобетонные многопустотные, ребристые, сплошные плитыВыпуск 17. Предварительно напряженные многопустотные и ребристые панели длиной 526 и 576 см, армированные стержнями из стали класса А-IV. Метод натяжения - электротермический. Рабочие чертежиВыпуск 18. Предварительно напряженные многопустотные и ребристые панели длиной 526 и 576 см, армированные высокопрочной проволокой диаметром 5 класса Вр-II с линейно-групповым расположением арматуры.Выпуск 19. Предварительно напряженные многопустотные и ребристые панели длиной 526 и 576 см армированные стержнями из стали класса Ат-V, методы натяжения - электротермический и механический. Рабочие чВыпуск 2. Железобетонные плиты с круглыми пустотамиВыпуск 20. Панели многопустотные и ребристые длиной 276 см, армированные сварными сетками и каркасами из стали класса А-III. Рабочие чертежиВыпуск 21. Легкобетонные предварительно напряженные многопустотные и ребристые панели длиной 526 и 576 см, армированные стержнями из стали класса А-IV. Метод натяжения - электротермический. Рабочие чеВыпуск 22. Панели легкобетонные многопустотные и ребристые длиной 276 см, армированные сварными сетками и каркасами из стали класса А-IIIВыпуск 23. Карнизные плиты и фризовый камень. Рабочие чертежиВыпуск 24. Предварительно напряженные многопустотные и ребристые панели длиной 876 см, армированные стержнями из стали класса А-IV. Метод натяжения - электротермическийВыпуск 25. Предварительно напряженные многопустотные и ребристые панели длиной 876 см, армированные высокопрочной проволокой диаметром 5 класса ВР-II с линейно-групповым расположением арматуры. МетодВыпуск 26м. Многопустотные и ребристые панели длиной 276, 526 и 576 см. Рабочие чертежиВыпуск 27. Легкобетонные предварительно напряженные многопустотные и ребристые панели длиной 876 см, армированные стержнями из стали класса А-IV. Метод напряжения - электротермическийВыпуск 28. Предварительно напряженные многопустотные и ребристые панели под расчетную нагрузку 1600 кгс/м2 длиной 526 и 576 см, армированные стержнями из стали класса А-IV. Метод натяжения - электротеВыпуск 29. Предварительно напряженные многопустотные и ребристые панели под расчетную нагрузку 1600 кгс/м2 длиной 526 и 576 см армированные стержнями из стали класса Ат- V. Методы натяжения - электроВыпуск 30. Предварительно напряженные многопустотные и ребристые панели под расчетную нагрузку 1600 кгс/м2 длиной 526 и 576 см, армированные высокопрочной проволокой диаметром 5 класса Вр- II. Метод нВыпуск 31. Панели многопустотные и ребристые под расчетную нагрузку 1600 кгс/м2 длиной 276 см, армированные сварными сетками и каркасами из стали класса А- III. Рабочие чертежиВыпуск 32. Предварительно напряженные многопустотные и ребристые панели длиной 636 см, армированные стержнями из стали класса А-IV. Метод натяжения - электротермический. Рабочие чертежиВыпуск 33. Предварительно напряженные многопустотные и ребристые панели длиной 526 и 576 см, армированные высокопрочной проволокой диаметром 5 класса ВР-II с линейно-групповым расположением арматуры.Выпуск 34. Комплексные панели перекрытий многопустотные длиной 276, 526, 576 и 876 см с основанием пола из легких бетонов и звукоизоляционных материаловВыпуск 4. Железобетонные плиты с вертикальными пустотами и сплошные. Рабочие чертежиВыпуск 6. Железобетонные ребристые плиты. Варианты армирования. Рабочие чертежиВыпуск 1. Железобетонные многопустотные, ребристые, сплошные плитыВыпуск 17. Предварительно напряженные многопустотные и ребристые панели длиной 526 и 576 см, армированные стержнями из стали класса А-IV. Метод натяжения - электротермический. Рабочие чертежиВыпуск 18. Предварительно напряженные многопустотные и ребристые панели длиной 526 и 576 см, армированные высокопрочной проволокой диаметром 5 класса Вр-II с линейно-групповым расположением арматуры.Выпуск 19. Предварительно напряженные многопустотные и ребристые панели длиной 526 и 576 см армированные стержнями из стали класса Ат-V, методы натяжения - электротермический и механический. Рабочие чВыпуск 2. Железобетонные плиты с круглыми пустотамиВыпуск 20. Панели многопустотные и ребристые длиной 276 см, армированные сварными сетками и каркасами из стали класса А-III. Рабочие чертежиВыпуск 21. Легкобетонные предварительно напряженные многопустотные и ребристые панели длиной 526 и 576 см, армированные стержнями из стали класса А-IV. Метод натяжения - электротермический. Рабочие чеВыпуск 22. Панели легкобетонные многопустотные и ребристые длиной 276 см, армированные сварными сетками и каркасами из стали класса А-IIIВыпуск 23. Карнизные плиты и фризовый камень. Рабочие чертежиВыпуск 24. Предварительно напряженные многопустотные и ребристые панели длиной 876 см, армированные стержнями из стали класса А-IV. Метод натяжения - электротермическийВыпуск 25. Предварительно напряженные многопустотные и ребристые панели длиной 876 см, армированные высокопрочной проволокой диаметром 5 класса ВР-II с линейно-групповым расположением арматуры. МетодВыпуск 26м. Многопустотные и ребристые панели длиной 276, 526 и 576 см. Рабочие чертежиВыпуск 27. Легкобетонные предварительно напряженные многопустотные и ребристые панели длиной 876 см, армированные стержнями из стали класса А-IV. Метод напряжения - электротермическийВыпуск 28. Предварительно напряженные многопустотные и ребристые панели под расчетную нагрузку 1600 кгс/м2 длиной 526 и 576 см, армированные стержнями из стали класса А-IV. Метод натяжения - электротеВыпуск 29. Предварительно напряженные многопустотные и ребристые панели под расчетную нагрузку 1600 кгс/м2 длиной 526 и 576 см армированные стержнями из стали класса Ат- V. Методы натяжения - электроВыпуск 30. Предварительно напряженные многопустотные и ребристые панели под расчетную нагрузку 1600 кгс/м2 длиной 526 и 576 см, армированные высокопрочной проволокой диаметром 5 класса Вр- II. Метод нВыпуск 31. Панели многопустотные и ребристые под расчетную нагрузку 1600 кгс/м2 длиной 276 см, армированные сварными сетками и каркасами из стали класса А- III. Рабочие чертежиВыпуск 32. Предварительно напряженные многопустотные и ребристые панели длиной 636 см, армированные стержнями из стали класса А-IV. Метод натяжения - электротермический. Рабочие чертежиВыпуск 33. Предварительно напряженные многопустотные и ребристые панели длиной 526 и 576 см, армированные высокопрочной проволокой диаметром 5 класса ВР-II с линейно-групповым расположением арматуры.Выпуск 34. Комплексные панели перекрытий многопустотные длиной 276, 526, 576 и 876 см с основанием пола из легких бетонов и звукоизоляционных материаловВыпуск 4. Железобетонные плиты с вертикальными пустотами и сплошные. Рабочие чертежиВыпуск 6. Железобетонные ребристые плиты. Варианты армирования. Рабочие чертежи
Продукция по Серия ИИ 04-4
Серия ИИ 04-4

1020x215x2980АК 30-11
Цена по запросу

380x160x1490АФ 15-4
Цена по запросу

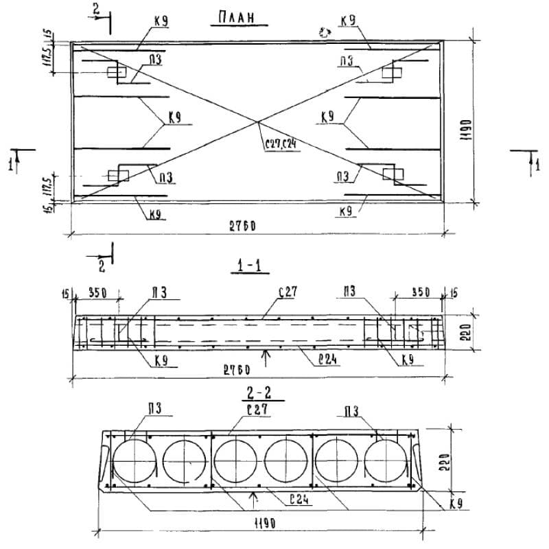
1190x220x2760ПК 12,5-28-12
Цена по запросу

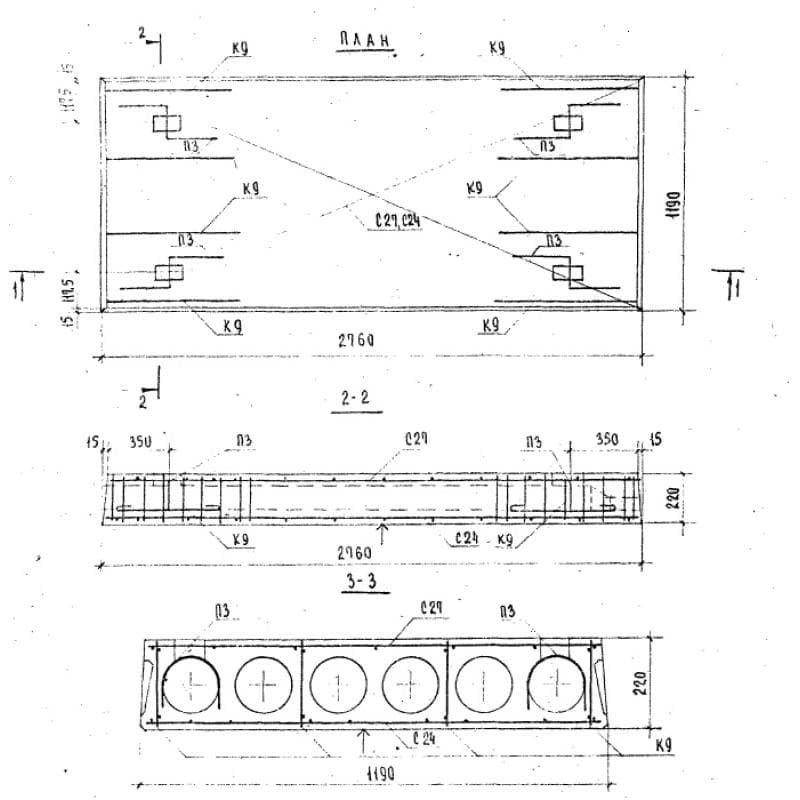
1190x220x2760ПК 12,5-28-12
Цена по запросу

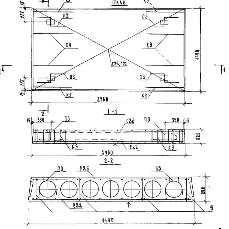
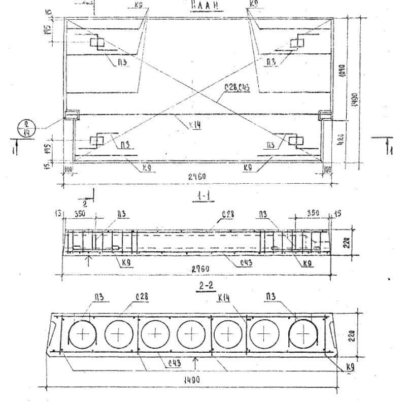
1490x220x2760ПК 12,5-28-15
Цена по запросу

1490x220x2760ПК 12,5-28-15
Цена по запросу

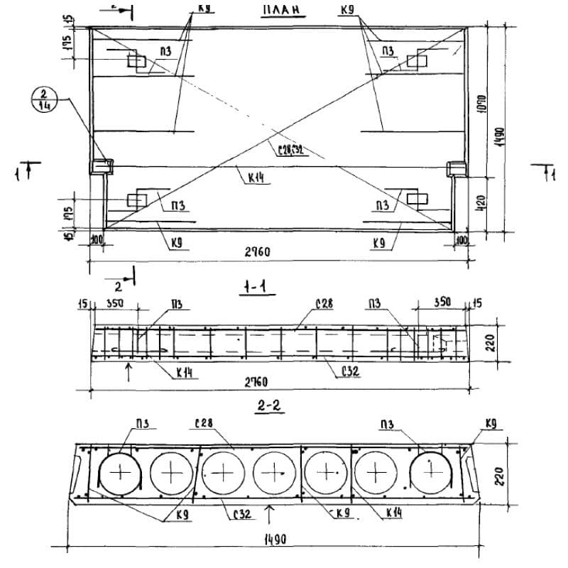
1490x220x2760ПК 12,5-28-15 п
Цена по запросу

1490x220x2760ПК 12,5-28-15 п
Цена по запросу

1490x220x2760ПК 12,5-28-15 с
Цена по запросу

1490x220x2760ПК 12,5-28-15 с
Цена по запросу

1490x220x5260ПК 12,5-53-15
Цена по запросу

1490x220x5260ПК 12,5-53-15
Цена по запросу