1НЦ 48-22-35-150 л

zvcgtfc5pqtxh4g
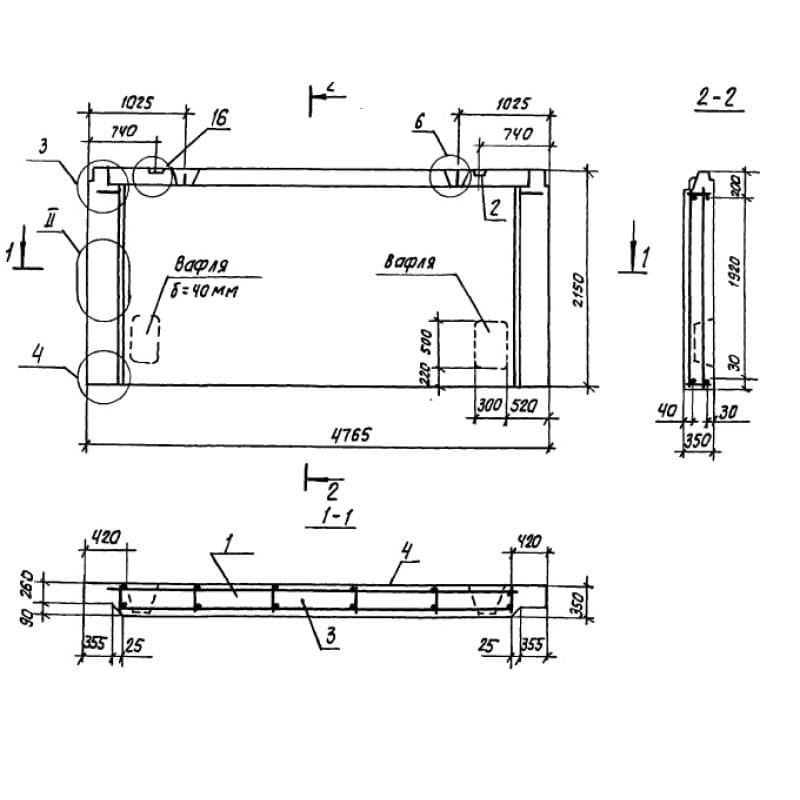
1НЦ 48-22-35-150 л

О товаре

Длина:4765
Ширина:350
Высота:2150
Вес:5600
ГОСТ, Серия:-
Объем бетона:3,03 м3
Геометрический объем:3,5857 м3

Цена по запросу

ОПИСАНИЕ

Наружная цокольная панель 1НЦ 48-22-35-150 л - высокопрочное унифицированное изделие, имеющее прямоугольную форму. В верхней части элемента присутствует выступ (гребень), проходящей по всей длине и необходимый для сопряжения со смежными частями каркаса. Панели без гребня служат опорой для балконных плит. Для дополнительной фиксации с другими конструкциями, в панели предусмотрены два трапециевидных углубления, с расположенными в них арматурными выпусками и шпонки.

Применяются наружные однослойные цокольные панели при строительстве многоэтажных жилых домов, разработанных 97 домостроительной серией. Изделия выступают в качестве несущих стен в общем каркасе здания и могут иметь проемы, в зависимости от проектного положения. Рядовые панели размещаются вдоль фасадов, торцевые в соответствии на боковых частях здания. Допускается эксплуатация конструкций при нормальном ветровом давлении не более 0,38 кПа и температуре наружного воздуха не ниже -40 градусов. При разработке изделий учитывались требования СНиП 2.03.01-84 и ГОСТ 11024-84. Предельные габариты строительных элементов не должны превышать 4,5х2,2х0,35 м.

Маркировочные обозначения

Для простоты обнаружения в номенклатурном ряду была специально разработана система маркировочных обозначений. Совокупность символов 1НЦ 48-22-35-150 л, содержащих ключевые характеристики изделия, расшифровывается:

1. 1 - тип, однослойная;

2. НЦ - наружная цокольная стеновая панель;

3. 48 - длина (дм);

4. 22 - высота (дм);

5. 35 - толщина (см);

6. 150 - марка бетона по прочности на сжатие;

7. л - легкий бетон.

Дополнительно в конце маркировочного обозначения могут указываться цифры, обозначающие номер опалубочного изменения. Запрещается произвольно менять маркировку.

Особенности производства

Согласно требованиям Серии 1.100.1-7 изготовление панелей должно осуществляться фасадной стороной вниз. В качестве основного материала выступает керамзитобетон с классом по прочности на сжатие В7,5. Средняя плотность бетона должна составлять 1500 кг/м3. Морозостойкость не ниже F50. Материалами фактурного слоя и слоя для крепления облицовочной плитки выступает бетон класса В7,5 толщиной не менее 2 см. Допускается применение других видов фасадной отделки: присыпка крошкой, глазурование.

Установка пространственных каркасов производится на специальные фиксаторы при закрытых бортах. Дополнительно с помощью проволоки к каркасам могут быть привязаны различные арматурные детали. За основу берется стержневая сталь класса AIII по ГОСТ 5781-82 и проволока Вр1 по ГОСТ 6727-81. Закладные изделия должны соответствовать ГОСТ 10922-75. Петли изготавливаются из стали класса AcII марки 10ГТ.

Распалубка разрешена только после достижения 70% отпускной прочности. При наличии у панели гребня (в верхней части) обязательна его обработка водоотталкивающей мастикой. Приемосдаточные испытания должны проводиться с учетом требований нормативно правовой документации. Прошедшие проверку конструкции снабжаются сертификатами качества, подтверждающими пригодность к эксплуатации.

Транспортировка и хранение

Для хранения однослойных наружных цокольных стеновых панелей 1НЦ 48-22-35-150 л рекомендуется заранее подготовить территорию и обеспечить устойчивое основание с надежным опиранием. Подъём допускается с использованием специального оборудования исключительно за строповочные петли с использованием траверс, имеющих наклон к вертикали не более 15 градусов. Важно обеспечить защиту конструкций от механических повреждений специальными деревянными кассетами.