КЦ 7-9 в (ТП 902-09-46.88)





КЦ 7-9 в (ТП 902-09-46.88)
О товаре
Цена по запросу
ОПИСАНИЕ
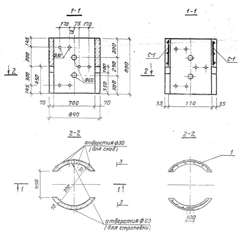
Кольца стеновые КЦ 7-9 в (ТП 902-09-46.88)– уникальные железобетонные изделия, имеющие полую цилиндрическую форму. Отличительной особенностью конструкции является наличие вырезов, расположенных в боковых частях элемента. Они предназначены для подвода трубопровода.
Высокопрочные железобетонные кольца колодцев широко используются при строительстве сооружений дождеприемной канализации. Элементы применяются совместно с другими железобетонными конструкциями, запроектированными по документу ТП 902-09-46.88. Изделия монтируются на соразмерные элементы и образуют единый колодец, собирающий атмосферные жидкости с городских улиц и на территориях автомобильных и железных дорог. Специальное отверстие, размещенное в боковой части, позволяет подвести к колодезному сооружению трубу для отвода жидкости в нужном направлении. Конструкции являются надежными и долговечными строительными элементами и способны качественно функционировать в различных климатических условиях.
Расшифровка маркировки
На поверхность элементов наносятся специальные знаки, помогающие ориентироваться в номенклатурном ряду. Они состоят из цифр и букв, содержащих ключевую информацию о конструкциях. Совокупность символов КЦ 7-9 в (ТП 902-09-46.88) имеет следующую трактовку:
1. КЦ – тип конструкции – кольцо колодезное;
2. 7 – внутренний диаметр;
3. 9 – высота изделия;
4. в – индекс, указывающий на наличие отверстий и их размеры и расположение.
Запрещается внесение произвольных изменений в заводское маркировочное обозначение.
Материалы и производство
По условиям документа ТП 902-09-46.88 в качестве главного материала для производства стеновых колодцев КЦ 7-9 в (ТП 902-09-46.88) служит тяжелый бетон класса В15 по прочности на сжатие. Морозостойкость зависит от температуры наружного воздуха в зимний период и может варьироваться от F50 до F100. Показатель водонепроницаемости зависит от градиента напора и может быть трех видов: W4, W6, W8. Толщина защитного слоя бетона должна составлять от 35 до 40 мм.
Для армирования изделий используются сетки, изготавливаемые из стали класса AI по ГОСТ 5781-82 и холоднотянутой проволоки класса B-I по ГОСТ 6727-80. Сборка сеток должна осуществляться с помощью контактной точечной сварки в соответствии с требованиями ГОСТ 14098-85. Сварка стержней обязательна во всех точках пересечения. Для производства закладных деталей применяется сталь класса AII с диаметром стержней 16 мм. Все металлические части проходят обязательную антикоррозионную обработку специальными составами.
Контрольные испытания для изделий – необходимый этап перед отправкой потребителю. Производится проверка прочности и качества поверхностей. Геометрические пропорции следует сравнивать со значениями, представленными на рабочих чертежах документа ТП 902-09-46.88. Прошедшие проверки контракции снабжаются необходимой документацией и допускаются к поставке.
Транспортировка и хранение
Складирование и транспортировка стеновых колец КЦ 7-9 в (ТП 902-09-46.88) должны осуществляться в рабочем положении. Изделия необходимо укладывать на деревянное основание, препятствующее соприкосновению с грунтом. Обязательна сортировка элементов в соответствии с маркировочными обозначениями.
Транспортировка допускается грузовыми автотранспортными средствами и железнодорожными составами требуемого тоннажа. Обязательна жесткая фиксация конструкций до начала перевозки. Все конструктивные выступающие части должны быть надежно защищены от механических повреждений. Важно соблюдать правила и нормы техники безопасности на всех этапах работы с конструкциями.