1ДПШ 12

1ДПШ 12
О товаре
Цена по запросу
ОПИСАНИЕ
Дорожная бетонная панель 1ДПШ 12 – представляет собой условно рассеченную по диагонали половинку плиты, имеющую шестигранную конфигурацию. Изготовленная из бетонной смеси тяжелой марки, используется в виде доборного элемента для обустройства покрытия авто трасс. Дорожные шестиугольные плиты способны удерживать вес автомобильного транспорта не более 30 тонн.
Диагональная половинка визуально напоминает конфигурацию правильной трапеции, полученной в результате рассечения шестигранной плиты. При их изготовлении обязательно выдерживаются требования, предусмотренные ГОСТ 21924-84.
Плиты дорожные шестиугольные 1ДПШ 12 по ГОСТ 21924-84 допускается эксплуатировать в качестве дорожного покрытия при температуре окружающего воздуха до – 400С. При их укладке необходимо правильно учитывать температурный зазор.
1. Варианты маркировки
Дорожные плиты обязательно маркируются буквенно-цифровой комбинацией, разделяемой дефисом. Такое условное обозначение дает представление об их типе, для обустройства каких автодорог они применяются, размер диагонали, способе транспортировки.
Условное обозначение обязательно размещается на торцевой и боковой гранях плиты для укладки автодорог. Дополнительно на ней указывается масса и дата изготовления изделия. Маркировка может иметь следующий вид:
1. 1ДПШ 12;
2. 1ДПШ-12.
2. Основная сфера применения
Дорожные шестиугольные плиты 1ДПШ 12 в основном применяются при обустройстве дорог постоянного и временного пользования в городской черте для проезда автомобилей любого класса с нагрузкой не более 30 тн.
Сегодня дорожные плиты различных типов – это наилучший из всех существующих способ качественной и быстрой укладки полотна автомобильных дорог. По таким улицам спокойно может ездить разнообразная грузовая техника повышенного тоннажа.
Плиты дорожные шестиугольные 1ДПШ 12 последнее время пользуются большой востребованностью при обустройстве временных взлетно-посадочных площадок для самолетов легкой серии. Дорожные бетонные плиты при аккуратном отношении можно использовать для укладки до 10 раз. Тем более, что они успешно эксплуатируются в широком диапазоне температур -/+ 500С.
3. Обозначения маркировки изделия
Условное обозначение на каждой дорожной плите информирует о конфигурации, сфере применения, эксплуатационных параметрах. Они наносятся на потец.
Для примера расшифруем маркировку плиты 1ДПШ 12
1. 1 – обозначает, что ее используют для укладки постоянных дорожных полотен;
2. ДПШ – условно она разделена вдоль диагонали плиты шестигранной формы;
3. 12 – размер ее диагонали в дециметрах;
При выборе плит дорожных шестиугольных 1ДПШ 12 для обустройства автодорогв городской черте необходимо обратить внимание и на другие их технические параметры. Они имеют:
Длина = 2320;
Ширина = 1000;
Высота = 180;
Вес = 780;
Объем бетона = 0,31;
Геометрический объем = 0,4176.
4. Технология производства
Процесс изготовления плит дорожных шестиугольных 1ДПШ 12 включает следующие этапы.
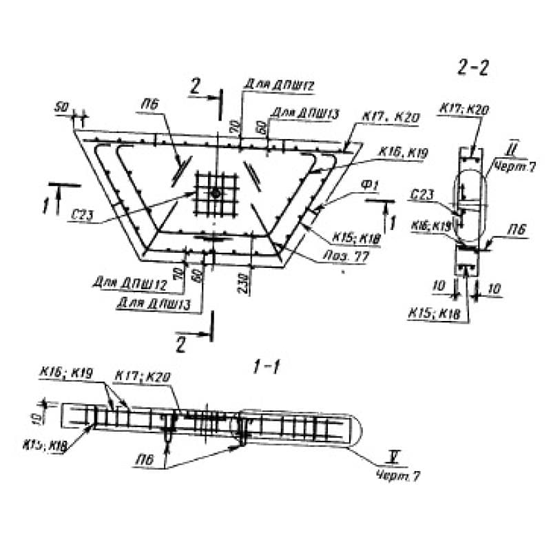
1. Изготовления металлического каркаса. Он сваривается из пяти прутков арматуры диаметром не менее 10 мм марки А3, A-V, A-IV, расположенных в продольном направлении. И кусков арматуры, имеющих диаметр 8 мм, аналогичного класса, укладываемых поперечно. Этот способ сваривания методом двойной взаимосвязанной сетки позволяет значительно повысить прочностные характеристики. Но такой вариант усиления значительно увеличивает вес изделия. Все необходимые размеры и требования к нему оговорены в ГОСТ 21924-84.
2. Установки каркаса в специальную форму. При выполнении этой операции необходимо следить за обеспечением технологического зазора в 25 мм между армированным каркасом и будущей поверхностью плиты. Для этого используют специальные фиксаторы.
3. Подготовка раствора. Традиционно для его изготовления применяют портландцемент тяжелой марки не ниже 400, имеющий плотность не менее 2500 кг/м3. Этот материал гарантирует получение изделий обладающих повышенной прочностью, износостойкостью, надежностью.
4. Заливка формы. После полного ее заполнения, раствор уплотняется вручную с использованием погружного вибратора либо форма устанавливается на специальный вибрационный стол.
5. Пропаривание. После того, как рабочей смеси выйдет весь воздух, форму помещают в пропарочную камеру. Время этой процедуры должно соответствовать требования ГОСТ.
5. Требования к хранению и транспортировка
Складировать дорожные плиты шестиугольные 1ДПШ 12, как и различные аналогичные изделия, специалисты рекомендуют горизонтально в штабелях. Такой штабель должен быть не выше 2 метров. Между плитами необходимо прокладывать деревянные брусья с сечением не менее 30 мм. Их нужно располагать строго один под другим.
На складе плиты для укладки на автодорогах должны быть разложены в штабелях по маркам и датам производства. Первый ряд при штабелировании необходимо укладывать на тщательно выровненную площадку с довольно плотным основанием. Это позволит избежать возможного их смещения при длительном хранении.
При погрузке и транспортировке необходимо укладывать дорожные плиты, чтобы предотвратить случайное их повреждение. Вследствие этого не рекомендуется во время разгрузки и погрузки применять удары, толчки либо другие механические воздействия.