2КС 102-8-3,3 (Шифр Э 1708/1)

2КС 102-8-3,3 (Шифр Э 1708/1)
О товаре
Цена по запросу
ОПИСАНИЕ
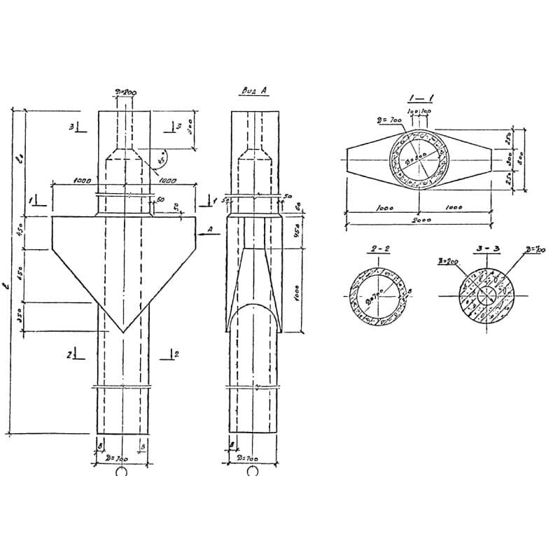
Железобетонная колонна 2КС 102-8-3,3 (Шифр Э 1708/1) представляет собой высокопрочный вертикальный несущий элемент сложной формы с кольцевым поперечным сечением. В зависимости от расположения в каркасе здания, номенклатурный список включает в себя колонны средние с двумя консолями и крайние - с одной. Предназначены данные строительные элементы для создания пространственной жесткости производственных зданий и сооружений, снабженных мостовыми опорными электрическими кранами облегченного и нормального режима работы с грузоподъемностью до 32 т.
Допустимо использовать 2КС 102-8-3,3 (Шифр Э 1708/1) при возведении одноэтажных строений высотой в диапазоне от 8,4 до 12 м, отапливаемых и неотапливаемых (при средней температуре наружного воздуха не менее -40 градусов по Цельсию). Разработаны колонны для эксплуатации в I-IV географических районах по скоростному напору ветра и снеговому покрову в соответствии со СНиП II-64-74. Запрещается использовать данные конструкции в условиях агрессивной среды, в областях с сейсмической активностью, превышающей 6 баллов.
Расшифровка маркировки
Согласно с рабочими чертежами каждое железобетонное изделие обозначается маркой, которая имеет вид объединенной буквенной и цифровой системы. В маркировке 2КС 102-8-3,3 (Шифр Э 1708/1) кратко даны основные технические характеристики изделия, а именно:
1. 2 - типоразмер;
2. КС - колонна средняя;
3. 102 - высота этажа в дм;
4. 8 - толщина стенки ствола в см;
5. 3,3 - порядковый номер армирования ствола и консоли.
В конце маркировки могут указываться шифры, указывающие на наличие дополнительных закладных деталей, плотность бетона и другие.
Помимо марки на наружных поверхностях колонн штампуются несмываемой краской: краткое наименование производителя, дата выпуска, отпускной вес, печать ОТК с указанием номера контролера. На конструкциях, имеющих высшую категорию качества, проставляется Знак качества.
Материалы и производство
Шифр Э 1708/1 является основополагающим документом, определяющим порядок и требования к изготовлению колонн 2КС 102-8-3,3 (Шифр Э 1708/1). Регламентировано осуществлять их выпуск центрифугированным способом (ременные или роликовые центрифуги), который состоит в том, что бетонная смесь, помещенная в специальную опалубку, равномерно распределяется и уплотняется за счет вращения формы под действием центробежной силы.
Для изготовления колонн применяется тяжелый бетон с классами по прочности на сжатие В40, В45. Марки по морозостойкости и водонепроницаемости прописываются в спецификациях к заказу и должны соответствовать СНиП 2.03.01-84.
Пространственные арматурные цилиндрические каркасы, придающие колоннам особую прочность и стойкость к появлению трещин, собираются из арматурных стержней и проволочной арматуры - спиралей. Консоли данных изделий усиливаются пространственными каркасами, состоящими из плоских сварных сеток и отдельных стержней. В качестве арматуры запроектирована сталь класса АIII и проволока ВI.
Приемку готовых колонн надлежит проводить партиями (не более 100 изделий одной марки, выполненных по одной технологии и из одних и тех же материалов) согласно с указаниями ГОСТ 13015.1-81. Отклонения фактических размеров конструкций, от прямолинейности по длине, толщине защитного слоя бетона не должны превышать номинальных величин, указанных в нормативном документе изготовления.
Транспортировка и хранение
Колонны 2КС 102-8-3,3 (Шифр Э 1708/1) необходимо складировать в горизонтальном положении, уложенные в штабеля с высотой не более 3 рядов изделий. При хранении и перевозке обязательно должны применяться инвентарные прокладки, предающие изделиям устойчивость.
При перевозке к месту монтажа колоннам следует обеспечивать надежную фиксацию при помощи опорных и крепежных устройств, препятствующих их от смещения и опрокидывания.