2ФВ 9-9-1

2ФВ 9-9-1
О товаре
Цена по запросу
ОПИСАНИЕ
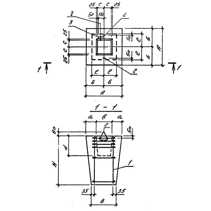
Фундамент 2ФВ 9-9-1 - это железобетонное изделие трапециевидного поперечного сечения, имеющее форму пирамиды усеченной к низу. Свое применение фундаменты нашли в качестве опор для сборных железобетонных колонн и свай в конструкции кабельной проходной или непроходной эстакады. По Серии изготовления 3.016.1-9 запроектированы опоры в двух вариантах, в зависимости от вида основания для погружения. 2ФВ 9-9-1 относятся к фундаментам в вытрамбованных котлованах, здесь во время установки изделий, предусматривается песчаная подготовка толщиной 100 мм. Также условиями для применения конструкций являются: температура не ниже минус сорок градусов по Цельсию, сейсмическая активность местности до шести баллов, III-IV район по весу снегового покрова и непросадочные и непучинистые грунты. Строения кабельных эстакад и их составляющие элементы предназначены для применения в обычной газовой среде, для слабо- и среднеагрессивных газовых сред необходимы защитные мероприятия.
Расшифровка маркировки изделия
Для упрощения работы с изделием, любая конструкция на основе армированного бетона наделяется маркировкой. Суть марки состоит в том, чтобы передать в сжатом виде информацию о строительном элементе:
1. 2 - порядковый номер, соответствующей высоте изделия;
2. ФВ - фундамент, втрамбованный в грунт;
3. 9 - длина по верхней грани в дм;
4. 9 - ширина по верхней грани в дм;
5. 1 - несущая способность.
Маркировка прописывается на внешней поверхности готового изделия темной, стойкой к влажности и ультрафиолету краской. Помимо марки, там же может указываться товарный знак производителя или же его краткое название, серия работы, дата выпуска, отпускная масса, штамп ОТК.
Материалы и производство
Железобетонные фундаменты изготавливают в заводских условиях, при этом производители должны руководствоваться спецификацией и рабочими чертежами из Серии 3.016.1-9. Производство 2ФВ 9-9-1 происходит в специальных стальных формах. Для того чтобы изделие было качественным, было соответствующей чертежу формы и отвечало всем требованиям регламента, производитель фундаментов должен четко соблюдать технологический процесс. Основной используемый здесь материал - бетон марки М200 класса В15. Он изготавливается с помощью смешивания до однородного состава вяжущих веществ с водой, различными добавками и заполнителем. На основании индивидуальных будущих проектов подбирается бетон по морозостойкости и водонепроницаемости.
Для того чтобы избежать разрушения будущего фундамента, в него закладывают стальную арматуру, поверхность которой отлично сцепляется с бетоном, образует монолитное изделие. Армируется 2ФВ 9-9-1 с помощью каркасов и плоских сеток из горячекатаной стали класса А-III. Перед установкой в опалубку их соединяют с помощью контактной точечной сварки в единый пространственный каркас. Сварка производится во всех точках пересечения стержней. Также в изделие присутствуют закладные детали из стали класса А-I. После изготовления 2ФВ 9-9-1 важно, чтобы все соединительные и закладные стальные элементы конструкции были смазаны от коррозии цинковым покрытием толщиной 120 мкм.
По итогу производства, изделия партиями проходят контроль качества.
Хранение и транспортировка
Фундаменты 2ФВ 9-9-1 хранят в специальных складских помещениях, штабелями не больше двух рядов в высоту. Обязательное условие здесь - применение деревянных прокладок и подкладок. Перевозят как автомобильным, так и железнодорожным транспортом, с соблюдением все возможных мер предосторожности, которые помогают избежать нарушения целостности изделия.