1-3П 200-60-5 м

1-3П 200-60-5 м
О товаре
Цена по запросу
ОПИСАНИЕ
Панели оград 1-3П 200-60-5 м – это железобетонные прочные прямоугольные изделия с точными геометрическими параметрами, разработанные для создания сборных бетонных декоративных ограждений. В конструкции используются также столбы Серии БЗ.017.1-2.99, изготавливаемые с пазами в боковых частях, в которые устанавливаются плиты. Использование элементов конструкции позволяет в короткие сроки возводить надежные и долговечные ограждения с эстетичным внешним видом. Этому способствует высокая точность геометрических параметров – сборные элементы не требуют дополнительной обработки – после установки столбов, панели монтируют на цементный раствор. Применение сборных конструкций позволяет оперативно оградить территорию в любое время года, в соответствии с техническими и эстетическими требованиями проекта.
1. Варианты маркировки
Производителем представлены несколько вариантов плит для ограждений, различающихся визуально и по техническим характеристикам. Отличия панелей отображаются в маркировке изделий, расшифровка которой приведена ниже. В настоящее время можно производить следующие марки панелей Серии Б3.017.1-2.99:
1. 1-2П 200-50-5 м;
2. 1-3П 200-50-5 м;
3. 1-3П 200-60-5 м;
4. 1П 200-50-5 м;
5. 2П 200-50-5 м.
2. Основная сфера применения
Панели оград разработаны для создания декоративного ограждения территорий различного назначения. Сборные конструкции железобетонных ограждений применяют при возведении жилых и общественных зданий, в промышленном и частном строительстве. Высоту и архитектурный тип ограждения выбирают в соответствии с условиями застройки и эксплуатирования, а так же, технико-экономическими показателями. В рамках Серии Б3.017.1-2.99 разработано три типа поверхности, которые, к тому же, могут комбинироваться в различных сочетаниях. Прочность панелей оград 1-3П 200-60-5 м учитывает вертикальные нагрузки от собственного веса и горизонтальные ветровые (рассчитаны на 1 ветровой регион). Применение панелей оград рассчитано на сухих, непросадочных и непучинистых грунтах, с учетом допустимого уклона.
3. Обозначение маркировки
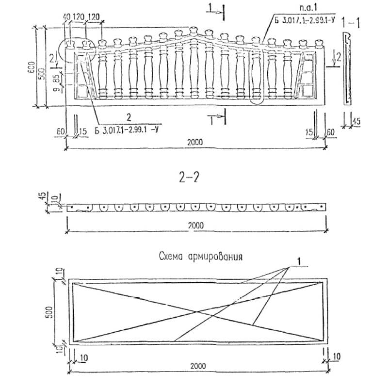
Железобетонная и бетонная продукция, изготовленная в заводских условиях, обязательно маркируется производителем в установленном порядке. Маркировка панелей оград наносится на торцевой части, невидимой после монтажа и состоит из буквенно-цифровых групп, отображающих основные характеристики – конфигурацию поверхности, тип изделия, его габаритные размеры и применяемый тип бетона. На примере панели оград 1-3П 200-60-5 м:
1. 1-3 – тип конфигурации поверхности плиты. В этом пункте отображается один из трех типов поверхности или их комбинированное применение (в таком случае цифры написаны через дефис);
2. П – панель оград;
3. 200 – длина панели в см;
4. 60 – высота панели в см;
5. 5 – толщина панели в см, округленная до целого;
6. М – тип бетона, используемого для производства плиты – мелкозернистый.
Габаритные размеры панелей оград 1-3П 200-60-5 м:
Длина = 2000;
Ширина = 45;
Высота = 500;
Вес = 53;
Объем бетона = 0,024;
Геометрический объем = 0,045.
4. Материалы изготовления и характеристики изделия
Несмотря на то, что панели предназначены для создания ограждений декоративного назначения, при проектировании учитывались условия использования, предполагающие воздействие факторов окружающей среды – температурные перепады, осадки, ветровые нагрузки, поэтому материалы для производства подобраны так, чтобы обеспечить возможность долгосрочной эксплуатации в таких условиях. Производство панелей оград 1-3П 200-60-5 м выполняется из мелкозернистого бетона классом В 15 по прочности на сжатие, изготовленного на основе портландцемента. Морозостойкость варьируется в соответствии с температурными условиями региона эксплуатации (не менее F 50). Для армирования используются сварные плоские сетки, изготовленные методом контактной точечной сварки или при помощи вязальной проволоки, производство выполняется из горячекатаной стали класса А 111, арматурной проволоки Вр-1. Так как плиты имеют незначительный вес, закладные изделия для их подъема и монтажа не предусмотрены. После достижения бетоном отпускной прочности (в теплое время года 70%, в холодное – 100% проектной), плиты проходят контрольные испытания, позволяющие выявить действительные характеристики изделий. После этого панели оград 1-3П 200-60-5 м документируются, маркируются и поставляются заказчику, как правило, вместе со столбами этой же серии.
5. Складирование, транспортировка и хранение
Складирование панелей выполняется на выровненной поверхности в вертикальном положении, в кассетах, предварительно сортированными по маркам. Таким же образом выполняется транспортирование. Для погрузочных работ используют спецтехнику, при транспортировании обязательно тщательно фиксируют кассеты, полностью исключив продольные и поперечные смещения, трение или удары изделий друг о друга. Не допускается выгрузка сваливанием, а так же сбрасывание кассет или отдельных плит с какой-либо высоты. Нарушение правил транспортирования и хранения панелей оград 1-3П 200-60-5 м может привести к появлению трещин и сколов на поверхности, другим деформациям, несовместимым с условиями эксплуатирования.