2КДП 180-4,4 с

2КДП 180-4,4 с
О товаре
Цена по запросу
ОПИСАНИЕ
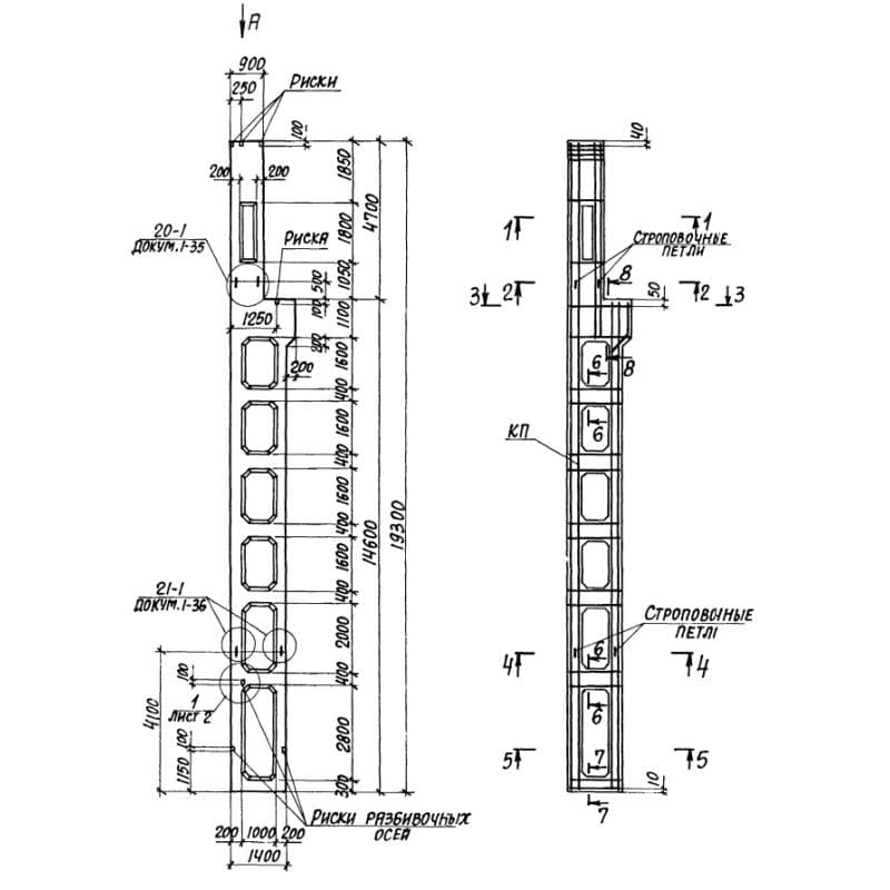
Колонны двухветвевые с проходом 2КДП 180-4,4 с – это один из более чем трехсот различных типоразмеров колонн, запроектированных в качестве несущих и поддерживающих элементов в одноэтажных зданиях промышленного типа. Технические условия выпуска, рабочие чертежи и требования к изделиям этой марки прописаны в выпусках типового проекта Серия 1.424.1-10. При изготовлении производители также должны ориентироваться на указания ГОСТа 25628-90. Особенность конструкции данного вида колон состоит в разделении нижней части на две части, соединенные распорками, которые образовывают укрепленные проходы для крановых путей. Двухветвевые колонны - это монолитные изделия, выполненные из бетона и стали высочайшей прочности. Они отлично приспособлены для работы под большими нагрузками и потому пользуются большой популярностью в современном строительстве.
1. Варианты написания маркировки
Каждое отдельное железобетонное изделие снабжается определенной последовательностью буквенных и цифровых символов. Они несут в себе информацию о габаритных и технических параметрах того или иного материала и образуют марку элемента. Варианты маркирования определяются действующими техническими нормативами. Для двухветвевых колон это:
1. 2КДП 180;
2. 2КДП 180-1,3 с;
3. 2КДП 180-1,4 с;
4. 2КДП 180-2,3 с;
5. 2КДП 180-2,4 с;
6. 2КДП 180-3,4 с;
7. 2КДП 180-4,3 с;
8. 2КДП 180-4,4 с;
9. 2КДП 180-5,3 с;
10. 2КДП 180-5,4 с;
11. 2КДП 180-6,4 с;
12. 2КДП 180-6,5 с;
13. 2КДП 180-7,4 с;
14. 2КДП 180-7,5 с;
15. 2КДП 180-8,4 с;
16. 2КДП 180-8,5 с.
2. Основная сфера применения
Двухветвевые колонны 2КДП 180-4,4 с предназначены для установки в одноэтажных промышленных зданиях отапливаемого и неотапливаемого типа, высота которых варьируется в пределах от 15,6 до 18 м. Ширина крановых проходов составляет не менее 400 мм, а грузоподъемность самих кранов – вплоть до 50 тонн. Колонны данного типа могут применяться в условиях агрессивной газовой среды и используются в разных климатических районах. Они выпускаются в нескольких вариациях (средние и крайние). При установке в зависимости от технического проекта между отдельными элементами соблюдается шаг в 6 или 12 м. Специально укрепленные элементы переносят даже повышенную сейсмическую активность (вплоть до 8 баллов по шкале Рихтера), а потому установка подобных изделий актуальна практически в любых регионах нашей страны.
3. Обозначения маркировки изделия
Как уже было сказано выше, правильное обозначение ЖБ элементов маркировочными символами определяется действующими стандартами. Марка двухветвевых колон с проходами 2КДП 180-4,4 с имеет следующую структуру:
1. 2 – номер типоразмера изделия для здания конкретной высоты;
2. КДП – двухветвевая колонна с проходом;
3. 180 – высота здания сокращенная до дм.;
4. 4 – порядковый номер типа армирующей стали;
5. 4 - марка бетона;
6. с - сейсмостойкость.
Из расшифровки видно, что марка указывает на особенности конструкции и габариты колонны. Она часто используется при составлении технической документации, а при нанесении на сами железобетонные элементы дополняется более подробными сведениями об основных параметрах изделия:
Длина = 19300;
Ширина = 900;
Высота = 500;
Вес = 16300;
Объем бетона = 6,5;
Геометрический объем = 8,685.
Нанесение таких обозначений непосредственно на продукцию является обязательным условием выпуска, осуществляется черными стойкими красками и существенно облегчает процесс сортировки изделий.
4. Изготовление и основные характеристики
Главное условие успешного изготовления колон двухветвевых с проходом Серии 1.424.1-10 – применение качественных высокопрочных материалов. Это бетон тяжелых марок от М300 до М500, обладающий повышенными показателями жесткости и трещиностойкости, а также пространственные каркасы из высоких классов стали А-ІІІ и Ат-ІVС. Элементы каркаса соединяются в проектное положение методом контактно-точечной сварки, помещаются в стальные опалубочные формы и заливаются бетонной смесью. Каждая металлическая деталь должна быть покрыта цементным слоем как минимум на 32 мм. Диаметр самих армирующих стержней составляет 30 мм.
Для удобства при изъятии готовых изделий из форм, а также при проведении погрузочных работ, правилами предписывается использование инвентарных строповочных приспособлений или строповочных петель. После формовки, термической обработки и распалубки готовые ЖБ элементы проходят комплекс приемо-сдаточных испытаний на прочность, трещиностойкость и соответствие внешних характеристик существующим требованиям.
5. Транспортировка и хранение
Хранятся колонны двухветвевые с проходом 2КДП 180-4,4 с на специально оборудованных подготовленных площадках в ровных штабелях. Обязательными условиями безопасного складирования является применение послойной изоляции материалов деревянными инвентарными прокладками. Транспортировка железобетонных изделий осуществляется в зафиксированном горизонтальном положении: с помощью стальных лент или проволоки колонны закрепляют на определенном расстоянии от бортов кузова и так же, как и при складировании, прокладывают деревянными досками.