1КСО 60-00-3-32-00

swa0rhj96hm78mp
1КСО 60-00-3-32-00

О товаре

Длина:6000
Ширина:400
Высота:400
Вес:2425
ГОСТ, Серия:-
Объем бетона:0,98 м3
Геометрический объем:0,96 м3

Цена по запросу

ОПИСАНИЕ

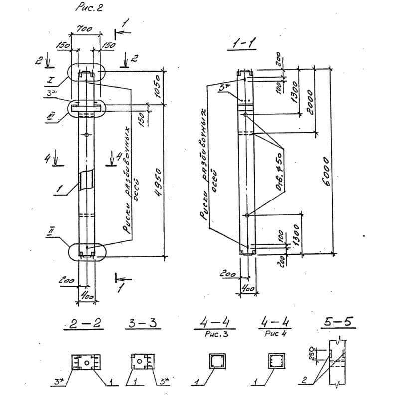
Колонна 1КСО 60-00-3-32-00 типовое железобетонное изделие, разработанное для строительства каркасных зданий и сооружений различного назначения. Колонны разработаны с прямоугольным поперечным сечением 400х400 мм., для высоты этажей 3.6 м.; 4.2 м.; 5.4 м.; 6.0 м.; 7.2 м. Рабочие чертежи, рекомендации по изготовлению и применению содержит Серия 1.020.1-4. В зависимости от применения по высоте строения разделяют несколько типов колонн: верхние, средние, нижние, бесстыковые. Исходя из расположения изделия в каркасе здания и примыкания к нему других конструктивных элементов, колонны изготавливают: одноконсольные или двухконсольные. Колонна предназначена для применения как в неагрессивной, так и слабоагрессивной, среднеагрессивной и агрессивной среде газового воздействия. Изделие является высокопрочным, имеет 3-ю категорию трещиностойкости. Предел огнестойкости колонны составляет 3 часа.

Расшифровка маркировки

Маркировочное обозначение разработано согласно ГОСТ 23009-78. Маркировка представляет собой буквенно - числовые группы разделенные дефисом. Каждая из групп несет характерную для изделия информацию. Рассмотрим маркировку на примере колонны 1КСО 60-00-3-32-00 где:

1. 1 цифра, указывает на количество этажей;

2. К начальная буква наименования элемента;

3. С указывает, что колонна для средних этажей;

4. О одноконсольная;

5. 60 высота этажей, кроме первого, в дм.;

6. 00 высота первого этажа, в дм.;

7. 3 марка бетона;

8. 32 диаметр угловых стержней арматуры, в мм.;

9. 00 диаметр промежуточных стержней арматуры, в мм.

В маркировку возможно внесение дополнительных индексов, указывающих на конструктивные особенности изделия.

Материалы и производство

Изготовление колонн технологический процесс, запроектированный на заводе сборного железобетона. Бетонирование изделия происходит в металлической форме. Для прочной основы колонны используется тяжелый конструкционный бетон марки М300 М600, классов В22.5 В45. Дополнительные требования к бетонной смеси указываются в конкретном проекте, в соответствии с будущими условиями эксплуатирования. В тело колонны закладывается пространственный каркас. В качестве продольной рабочей арматуры используется горячекатаная сталь класса AIII по ГОСТ 5781-82. Поперечное армирование выполняется в виде замкнутых хомутов из стали класса AI. Сварные сетки косвенного армирования выполняются из стержневой стали класса AIII. Колонны запроектированы с основными закладными деталями для сопряжения с ригелями покрытия и перекрытиями. Для крепления дополнительных конструктивных элементов, предусмотренных проектом, возможно монтирование дополнительных закладных деталей. Точность изготовления пространственного каркаса обуславливается сборкой в специальных кондукторах. Возможно изготовление колонн с арматурными выпусками. Для изделий, которые планируются эксплуатироваться в агрессивной среде, производят работы по защите изделия, методы защиты указываются в рабочих документах. Выступающие закладные детали, а также, если имеются арматурные выпуски, обрабатывают антикоррозийным покрытием.

Изготовленные колонны должны быть приняты ОТК завода - производителя. Принимаются колонны партиями. Партия изделий оценивается по результатам поштучного приёмочного контроля конструкций.

Транспортировка и хранение

Колонны складируют на специально подготовленной площадке с плотным выровненным основанием. Должен быть обеспечен доступ для захвата и подъема каждого отдельного изделия. Колонны укладывают горизонтально в один ряд или невысокий штабель. Транспортирование колонн осуществляется автомобильным транспортом, на автопоездах с прицепами и полуприцепами общего назначения. Подъем производить за специально предусмотренные отверстия в изделии.