1СД 75-31-30-4 (1.821.1-7)

1СД 75-31-30-4 (1.821.1-7)
О товаре
Цена по запросу
ОПИСАНИЕ
Свая-колонна 1СД 75-31-30-4 (1.821.1-7) - это особо прочное индустриальное изделие, выполненное в виде стержня прямоугольного сечения. Данный тип изделий обычно используется при возведении сельскохозяйственных производственных зданий, которые располагаются в несейсмических районах и в районах с сейсмичностью семь, восемь и девять баллов. Детали выполняются из прочного и качественного материала, поэтому они обладают отличной выносливостью и долговечностью, а так же обеспечивают значительную несущую способность.
Расшифровка маркировки
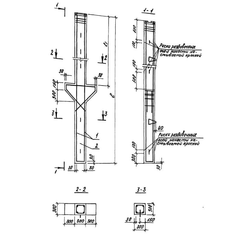
Маркировка свай-колонн наносится на одну из боковых сторон железобетонного изделия несмываемой, влагоустойчивой краской при помощи трафаретов и штампов, согласно правилам, которые прописаны в нормативном документе Серии 1.821.1-7. Чтобы более детально познакомиться с данными индустриальными изделиями, рассмотрим значение каждого индекса в маркировке 1СД 75-31-30-4 (1.821.1-7):
1. 1 - свая без уширения крайняя (2- свая средняя с уширением);
2. СД - тип изделия-свая-колонна;
3. 75 - длина;
4. 31-30 - поперечное сечение;
5. 4 - несущая способность.
Обязательно на одной из торцевых сторон должны быть проставлены: логотип завода-производителя, дата изготовления, отпускной вес, указывается в килограммах и ставится печать ОТК.
Основные характеристики и изготовление
Железобетонные изделия сваи-колонны производятся в заводских условиях, соблюдая все нормы и правила нормативного документа Серии 1.821.1-7. За прочную основу принимается тяжелый бетон класса B20. Марка бетона по морозостойкости должна быть не ниже F50, а марка водонепроницаемости устанавливается на основании норматива в зависимости от климата района, в котором планируется постройка. Помимо того, что изделия изготавливаются из особо прочного материала, они дополнительно подвергаются армированию. Согласно регламенту элементы армируются сложным пространственным каркасом, для этого принимается горячекатаная сталь класса AIII. Для быстроты установки в конструкции закладываются строповочные петли и изготавливаются из арматурной стали класса A-I по ГОСТ 5781-82. Закладные детали запроектированы из углеродистой стали. Все металлические детали должны иметь антикоррозионное покрытие. Отпускная прочность бетона согласно Серии 1.821.1-7 должна составлять в теплое время не ниже 70%, а в холодное время года не меньше 90% от проектной марки бетона. Чтобы отправить индустриальные конструкции к заказчику, они первоначально должны пройти все необходимые проверки на прочность, жесткость и трещиностойкость. Тщательно осматривается поверхность бетона, выявляются все дефекты, если вдруг такие имеются. Геометрия изделий сравнивается с образцами, а все отклонения должны соответствовать нормативу. Только после всех проверочных испытаний железобетонные конструкции получают паспорт качества и готовятся к поставке.
Транспортировка и хранение
Складируются 1СД 75-31-30-4 (1.821.1-7) на специально оснащенной территории, в штабеля высотой не более 2.5 м, при этом элементы должны быть аккуратно разложены и рассортированы по маркировкам. Транспортировка осуществляется на специализированном транспорте, как на автомобильном, так и на железнодорожных платформах, с соблюдением правил техники безопасности. Все партии изделий следует надежно закрепить в кузове автомобиля, чтобы избежать повреждения элементов во время движения транспорта. Заранее необходимо подготовить подъездной путь техники, чтобы погрузочно-разгрузочные работы проводились в ускоренном режиме. Подъем и монтаж индустриальных конструкций производится за монтажные петли.