1БН 16-22-50-75 п-1

1БН 16-22-50-75 п-1
О товаре
Цена по запросу
ОПИСАНИЕ
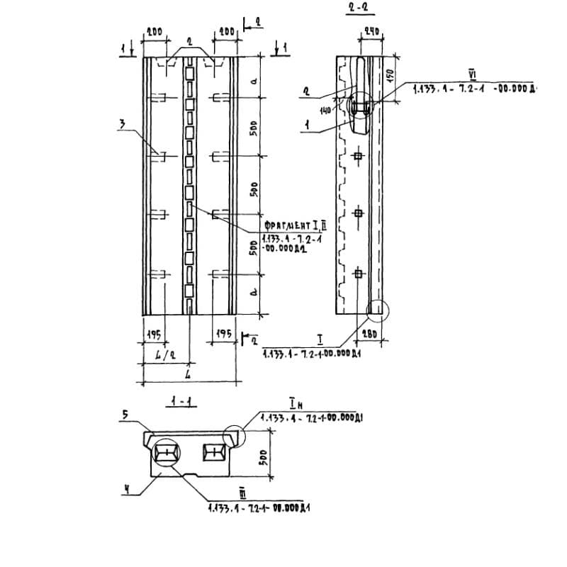
Блоки наружных стен 1БН 16-22-50-75 п-1 представляют собой прочные строительные изделия прямоугольной формы с ровной гладкой поверхностью, которые активно применяются при возведении жилых зданий, высота которых составляет 1-4 этажа, а так же при строительстве общественных зданий высотой 1-3 этажа. Нормативный документ Серия 1.133.1-7 содержит подробную информацию, касательно производства данных элементов, а так же наглядно представлены рабочие чертежи. Благодаря данным блокам, которые являются, как отличной основой для будущего сооружения, так и позволяют быстро возводить стены, которые будут обладать не только значительной выносливостью, но и долговечностью. Огнестойкость блоков, как правило, составляет восемь часов. Изделия используются, как в обычных климатических районах, так и в районах, где температура воздуха может составлять до минус 40 градусов по Цельсию.
Расшифровка маркировки
Каждому блоку без исключения присваивается индивидуальная маркировка, которая включает в себя буквы и цифры согласно ГОСТ 19010-82. Чтобы детально разобраться, что означается каждый символ в марке 1БН 16-22-50-75 п-1, обратимся к нормативному документу Серии 1.133.1-7, который содержит очень подробную расшифровку:
1. 1БН - блок простеночный рядовой (1БНЛ - простеночный лоджий; 1БНУ - простеночный угловой; 1БНУЛ - простеночный угловой лоджий; 1БНТ - простеночный температурных швов).
2. 16 - длина;
3. 22 - высота;
4. 50 - толщина;
5. 75 - марка бетона;
6. п - легкий бетон на пористых заполнителях;
7. 1 - блок левый.
На лицевой грани каждого элемента ставят логотип предприятия, дату выпуска, номер партии, вес изделия и штамп ОТК.
Основные характеристики и изготовление
Блоки 1БН 16-22-50-75 п-1 производятся в стальных формах в горизонтальном положении на специализированных заводах с полным соблюдением всех правил нормативного документа Серии 1.133.1-7. Марка бетона принимается М75, а так же допускается применение легкого бетона. Что касается марки бетона наружного слоя, то она запроектирована не менее М150. Согласно действующему нормативу, допускается использовать марку бетона М50. Индекс морозостойкости и водонепроницаемости полностью зависит от климатических особенностей района застройки согласно ГОСТ 7025-78. Элементы обладают значительной прочностью, благодаря тому, что армируются сварными стержнями и сеткам, объединенными в пространственный каркас. Запроектирована арматурная сталь класса A-I, A-III и используется обыкновенная проволока Bp-I согласно Серии 1.133.1-7. Наружная поверхность деталей имеет фактурный слой толщиной примерно 30 мм. В теле изделий имеются монтажные петли и закладные детали, которые приняты из стали класса A-I и A-III. Распалубка и извлечение из форм может осуществляться только в том случае, если прочность бетона достигнет не менее 80% от проектной марки по ГОСТ 13015.0-81. Перед тем, как готовые строительные изделия отправятся к заказчику, они обязательно должны пройти ряд контрольных испытаний на прочность. Особое внимание обращают на поверхность блоков, которая должна быть ровной и гладкой без каких либо пятен, вмятин и других дефектов, согласно всем требованиям ГОСТ 13015.1-81 и ГОСТ 19010-82.
Транспортировка и хранение
Хранение блоков 1БН 16-22-50-75 п-1 осуществляется на складских площадках в вертикальном рабочем положении и они все должны быть рассортированы по маркировкам. Так же строительные изделия допускается складировать в горизонтальном положении в штабелях высотой не более 2,5 м с применением деревянных подкладок. Транспортировка производится на специализированном транспорте, элементы следует укладывать в вертикальном положении. Погрузочно-разгрузочные работы, осуществляются с помощью специализированной техники, путем захвата за монтажные петли, а так же все манипуляции проводятся с соблюдением техники безопасности.