33Р 30

sbplhbw8jez49yn
33Р 30

О товаре

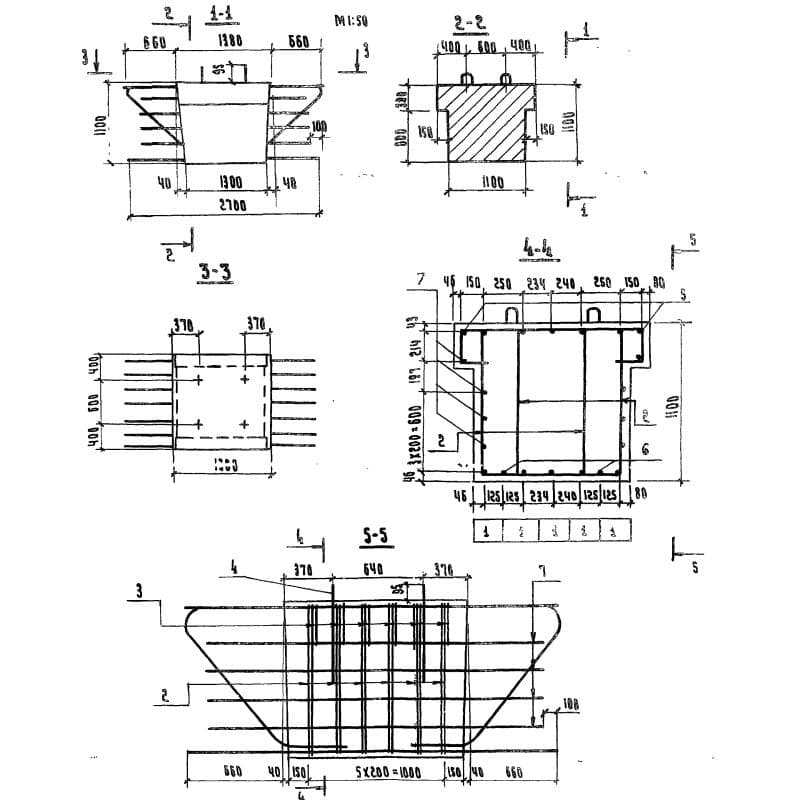
Длина:1380
Ширина:1400
Высота:1100
Вес:4300
ГОСТ, Серия:-
Объем бетона:1,72 м3
Геометрический объем:2,1252 м3

Цена по запросу

ОПИСАНИЕ

Блок ригеля 33Р 30 железобетонное изделие конструктивного типа. Блок является высокопрочным изделием, имеет трапециевидную форму. Блок ригеля применяется в строительстве промежуточных опор под пролетные строения для автодорожных мостов. Эксплуатирование блока ригеля возможно в районах с расчетной температурой минус 40 градусов и выше, с сейсмичностью до 6 баллов. Выпуск данного типа изделий регламентирует Серия 3.503.1-57.

Расшифровка маркировки

Маркировочное обозначение элемента это комбинация букв и чисел. Блок ригеля маркируется в зависимости от типа опоры и максимально длины пролетного строения, опираемого на данную опору. Рассмотрим маркировку 33Р 30 где:

1. 33 крайний блок ригеля для пролетных строений длиной 12, 24 и 33 м.;

2. Р - буквенный индекс блока ригеля в опорах-стенках;

3. 30 - для опор-стенок с проемами и без.

Изменять принятую маркировку или вносить изменения категорически не допускается. Маркировочные обозначения наносят на каждый готовый блок при помощи штампов или трафаретов краской темного цвета. В дальнейшем это облегчает процесс сортирования и обнаружения изделия на складе.

Материалы и производство

Выпуск блока ригеля запроектирован в стальных формах. Перед заполнением, форма должна быть тщательно подготовлена: очищена от бетона и смазана. Блоки принято производить из гидротехнического бетона соответствующего ГОСТу 4795-68. Марка бетона по морозостойкости принимается в зависимости от района строительства конкретного объекта и должна быть прописана в спецификации сборочного чертежа данного блока. Все материалы, которые берутся для приготовления бетонной смеси, должны удовлетворять действующим техническим стандартам. Важную роль играет арматурный каркас, армирование выбирается в зависимости от длины пролетного строения. В качестве рабочей арматуры берется углеродистая стержневая сталь класса AIII. Химический состав стали должен соответствовать ГОСТ 380-71*. Сборка арматурного каркаса происходит путем сваривания пересечения стержней контактной точечной сваркой. Проектное положение арматурного каркаса в металлической форме обеспечивается специальными фиксаторами из пластика или песчано - цементного раствора, не допускаются металлические фиксаторы. Защитный бетонный слой поверх арматуры обеспечивается вставкой бетонных кубиков. Для удобства подъема и монтажа в конструкции изделия присутствуют закладные детали и монтажные петли. Необходимо проводить мероприятия по защите металла против коррозии.

Выпущенная партия блоков отправляется на проверку в отдел технического контроля. Изделие проверяется на соответствие рабочим чертежам. Осматривается бетонная поверхность, на ней не должно быть трещин, за исключением усадочных, толщиной не более 0,1 мм. Не допустимы обвалы бетона и оголение арматурных стержней. К заказчику конструктивные элементы отправляются с сопровождающим документом, подтверждающим качество.

Транспортировка и хранение

Готовые блоки ригеля хранят на специально оборудованном складе готовой продукции. Блоки, которые не прошли контрольную проверку и отправлены на ремонт, хранятся отдельно. Изделия должны быть рассортированы по маркам и типам. При складировании маркировочные обозначения, нанесенные на каждое изделие, должны просматриваться. Необходимо обеспечить доступ для захвата и подъема каждого блока. Изделия укладываются в невысокие штабеля, между ними прокладывают инвентарные деревянные подкладки. При транспортировании блоки ригеля нужно фиксировать, чтобы не допустить нарушения целостности продукции. При погрузочно-разгрузочных работах, транспортировании, монтаже необходимо соблюдать технику безопасности.