2ЛМ 29-12-14-4

2ЛМ 29-12-14-4
О товаре
Цена по запросу
ОПИСАНИЕ
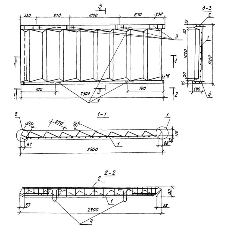
Лестничный марш 2ЛМ 29-12-14-4 унифицированное железобетонное изделие, имеющее массу конструктивных особенностей. Основная часть элемента по форме напоминает прямоугольник с расположенными на нем выступами треугольной формы. Продольные торцы оснащены ребрами, проходящими по всей длине конструкции.
Активное использование лестничных маршей можно наблюдать при строительстве многоэтажных жилых домов, разработанных 97 домостроительной серией. Данные изделия применяются совместно с лестничными площадками, запроектированными Серией 1.100.1-7, и служат в каркасе здания для обустройства лестничных клеток. Специальные пролеты из ступеней и площадок позволяют осуществлять пешее перемещение будущим жильцам многоэтажных сооружений. При разработке изделий учитывались требования ГОСТ 67-1023-89 и СНиП 2.03.01-84. Допустимыми условиями для эксплуатации являются температуры наружного воздуха не ниже -40 градусов и ветровое давление не более 0,38 кПа.
Маркировочные обозначения
Быстро найти необходимые под конкретный типовой проект строительные материалы на территориях складских помещений помогают специальные маркировочные знаки, разработанные проектными институтами. Основные характеристики, заключенные в совокупности символов 2ЛМ 29-12-14-4, имеют следующую расшифровку:
1. 2ЛМ - ребристый лестничный марш;
2. 29 - длина (дм);
3. 12 - ширина (дм);
4. 14 - высота установки;
5. 4 - несущая способность.
Символику следует наносить на боковой грани готовых изделий устойчивой к истиранию краской. Запрещается внесение произвольных изменений в маркировочное обозначение.
Особенности производства
В качестве главного нормативного документа, содержащего требования и рекомендации по производству лестничных маршей 2ЛМ 29-12-14-4, выступает Серия 1.100.1-7. Основным материалом служит тяжелый бетон, имеющий класс по прочности на сжатие В25. Учитывая тонкости климатических условий региона строительства, подбираются показатели морозостойкости и водонепроницаемости. Подбор ведется под каждый типовой проект индивидуально.
Перед заливкой бетонной смеси в форму размещаются специальные пространственные каркасы, выполненные из высокопрочной стали класса AIII и AI с диаметром стержней 10 и 16 мм по ГОСТ 5781-82, а также проволоки класса Вр1 с диаметром прутков 5 мм по ГОСТ 6727-80. Для петель используется сталь класса AcII диаметром 10 мм. Для крепления перильных ограждений в теле изделия размещены закладные детали, изготавливаемые из полосовой стали по ГОСТ 19903-74 и стальных стержней AII. Все металлические элементы в обязательном порядке проходят антикоррозионную обработку.
К отпуску допускается продукция, имеющая требуемую отпускную прочность и прошедшая испытания на основе ГОСТ 8829-85. Не допускается наличие оголенного армирования, сколов, наплывов и других повреждений, препятствующих последующей эксплуатации. Такие марши отбраковываются.
Транспортировка и хранение
Складирование лестничных маршей 2ЛМ 29-12-14-4 должно осуществляться в штабеля, ступенями вверх. Обязательно наличие инвентарных прокладок между конструкциями для предотвращения трения. Важно соблюдать все нормы и правила техники безопасности и руководствоваться требованиями ГОСТ 12504-80. Погрузочно-разгрузочные работы следует осуществлять с применением специального оборудования и траверс исключительно за строповочные петли. Важно обеспечить подъездные пути к местам хранения изделий и беречь от любых механических повреждений.