2ПР 73-15-51-22 у (Б1.038.1-1)

rjr7jjc44idh5bs
2ПР 73-15-51-22 у (Б1.038.1-1)

О товаре

Длина:1550
Ширина:510
Высота:220
Вес:433
ГОСТ, Серия:-
Объем бетона:0,17 м3
Геометрический объем:0,1739 м3

Цена по запросу

ОПИСАНИЕ

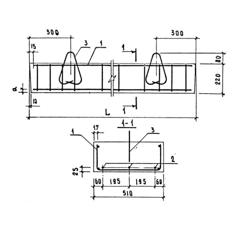
Перемычка плитная 2ПР 73-15-51-22 у (Б1.038.1-1) представляет собой прямоугольную плоскую железобетонную конструкцию. Основное ее предназначение - перекрытие проемов в зданиях жилого и общественного назначения с кирпичными стенами. Перемычки несут нагрузки от веса самой конструкции, а так же краткосрочные нагрузки, создаваемые кирпичной кладкой. Помимо этих нагрузок усиленные перемычки рассчитаны на восприятие нагрузок, создаваемых от выше установленных плит перекрытия. Нормативным документом изготовления предусмотрено использование данных изделий при обычных условиях для строительства.

Расшифровка маркировки

Согласно рабочим чертежам железобетонным перемычкам присваиваются марки, состоящие из нескольких групп обозначений, в которых зашифрована основная информация об изделии и их конструкционные особенности. Из маркировки 2ПР 73-15-51-22 у (Б1.038.1-1) можно узнать следующую информацию:

1. 2ПР - плитная перемычка;

2. 73 - индекс, характеризующий несущую способность;

3. 15 - длина;

4. 51 - ширина;

5. 22 - высота;

6. у - усиленная.

Габаритные параметры указываются округленные до целого числа в дециметрах.

На боковых поверхностях перемычек, видимых при хранении, должны быть указаны помимо марки: краткое наименование производителя, дата выпуска, штамп ОТК. Надписи требуется наносить краской стойкой к истиранию, к атмосферным осадкам и ультрафиолетовым лучам при помощи различных штампов или трафаретов

Материалы и производство

Перемычки плитные 2ПР 73-15-51-22 у (Б1.038.1-1) надлежит изготавливать со строгим соблюдением стандартов и требований, закрепленных в Серии Б1.038.1-1. Для их производства предусмотрен тяжелый бетон с классом В15, с маркой по морозостойкости F100. Для зданий 2 класса по степени ответственности марка бетона по водонепроницаемости принимается W2.

За счет восприятия растягивающих напряжений армирование позволяет добиться изделиям особой прочности, трещиностойкости и долговечности. Для данных перемычек предусмотрено напрягаемое армирование, которое отличается пониженной трудоемкостью арматурных работ и экономией стали. Армируются они сварными каркасами, сборку которых надлежит проводить в соответствии с указаниями ГОСТ 10922-75. В качестве арматуры применяется сталь классов АIII и АI и холодонатянутая проволока ВрI . Для удобства проведения монтажа и выполнения погрузо-разгрузочных работ, в теле перемычек запроектирована установка монтажных стальных петель класса АI. Для защиты изделий от пагубного влияния ржавчины заводом-изготовителем должен быть разработан комплекс мер по антикоррозийной защите согласно рекомендациям СНиП 2.03.11-85.

Готовые конструкции принимаются отделом технического контроля, путем прохождения испытаний на прочность, жесткость, раскрытие трещин, точности положения стальных элементов, линейных размеров, качества поверхностей. По итогам проверок изделия сопровождаются потребителю с документами о качестве установленного образца. При этом поставка допускается только при достижении бетоном отпускной прочности, которая напрямую зависит от времени года.

Транспортировка и хранение

Железобетонные плитные перемычки 2ПР 73-15-51-22 у (Б1.038.1-1) необходимо хранить на обустроенных площадках и складах с выровненным основанием. При складировании и перевозке должны обязательно применяться инвентарные прокладки, предотвращающие изделия от разрушения.

При перевозке автомобильным, железнодорожным транспортом изделиям должна быть обеспечена надежная фиксация, исключающая их опрокидывание, сдвиг и трение.