2КН 42-4 РС 3-2

2КН 42-4 РС 3-2
О товаре
Цена по запросу
ОПИСАНИЕ
Колонна 2КН 42-4 РС 3-2 - это железобетонное прямоугольное изделие с квадратным сечением в поперечном разрезе. На теле изделия предусмотрены консоли для опирания ригелей. Такие колонны используются для связевого каркаса, в котором служат для восприятия вертикальных нагрузок от плит перекрытий и наружных стеновых панелей и передачи этих нагрузок на фундаменты. Также в связевой системе колонны воспринимают горизонтальные нагрузки от ветра и переломов оси колонн. Запроектированные по Серии 1.022 КЛ-2 изделия, применяются при строительстве каркасно - панельных общественных зданий различного назначения: лечебных, научно - исследовательских, лабораторных, АТС, предприятий торговли, а также административно - бытовых зданий промышленных предприятий. Конструкции каркаса предназначены для эксплуатации в обычных условиях строительства для наиболее массовых типов зданий. Исключением для применения изделий являются условия агрессивной среды, а также при воздействии динамических многоповторяющихся нагрузок.
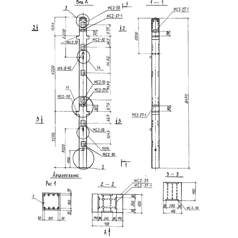
Расшифровка маркировки изделия
Железобетонная колонна имеет определенную маркировку, которая состоит из буквенно - числового индекса. Каждая группа индекса содержит в себе краткую сжатую информацию о конструктивных особенностях и основных характеристиках изделия. Так, если рассматривать расшифровку 2КН 42-4 РС 3-2, то можно увидеть следующее:
1. 2 - колонна двухэтажная;
2. КН - колонна стыковая нижнего яруса;
3. 42 - высота этажа в дм;
4. 2 - несущая способность ствола;
5. РС - колонна рядовая связевая;
6. 3 - нагрузка на консоль 43 тс;
7. 2 - для высоты окна 1800 мм.
Маркировочные символы наносятся на поверхности изделия, с применением краски темных оттенков, стойкой к воздействию влаги и ультрафиолету, для того чтобы важные сведения не стерлись случайным образом.
Материалы и производство
Железобетонные колонны для связевого каркаса изготавливают в заводских условиях, на основании чертежей, пометок и спецификации из Серии 1.022 КЛ-2. Основным сырьем для производства 2КН 42-4 РС 3-2 является тяжелый бетон М500 класса по прочности на сжатие В40, который представляет собой самую надежную и качественную смесь. Марки по водонепроницаемости и морозостойкости определяются автором проекта в индивидуальном порядке, в зависимости от климатических особенностей и режима эксплуатации.
Для того чтобы избежать разрушения колонны и добавить к ее характеристикам больше прочности, в нее закладывают стальную арматуру, поверхность которой отлично сцепляется с бетоном, образуя монолитное изделие. В качестве рабочей арматуры, из которой изготавливается пространственный каркас для 2КН 42-4 РС 3-2, используется арматура класса А-III. Правильная технология изготовления качественного железобетона требует применения пластиковых фиксаторов и закладных деталей.
Результатом производственного процесса является оценка качества готовых колонн, которая осуществляется в виде контрольных испытаний на прочность и трещиностойкость.
Хранение и транспортировка
Железобетонные изделия складируются в специально спланированных помещениях с ровным плотным основанием, и уклоном для отведения влаги. Колонны необходимо укладывать в горизонтальном ряду (штабеле) из-за их особой длины, массы и форм. Во время хранения под железобетонные колонны помещают специальные деревянные подкладки из сухой древесины. Перевозка может осуществляться автомобильным, железнодорожным или водным транспортом, с учетом возможности монтажа колонн непосредственно с ТС. Транспортируются лишь те изделия, прочность бетона которых достигла нужной отпускной прочности.