350ФП 2 (3.503-49)

qcetovqfcounmnj
350ФП 2 (3.503-49)

О товаре

Длина:2560
Ширина:3500
Высота:1420
Вес:14500
ГОСТ, Серия:-
Объем бетона:5,8 м3
Геометрический объем:12,7232 м3

Цена по запросу

ОПИСАНИЕ

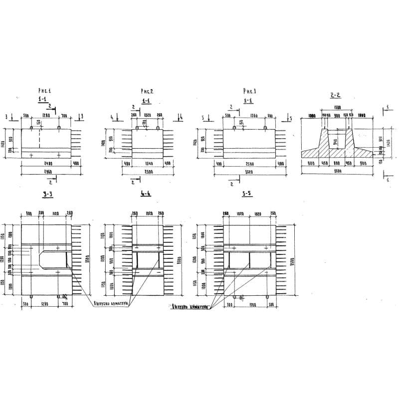
Сборный блок фундамента 350ФП 2 (3.503-49) представляет собой железобетонное изделие прямоугольной формы, с торцевых сторон которого располагаются арматурные выпуски для сопряжения с другими строительными элементами. Характерной отличительной чертой конструкции является наличие отверстия, расположенного с края одной из сторон с трапециевидным поперечным сечением. Являются данные блоки элементами сборного фундамента для устоя козлового типа на естественном основании при высоте опоры равной пять и семь метров. Такие опоры запроектированы под пролетные строения, длины которых 12,15,18,24 и 33 метра, предназначены для автомобильных мостов и путепроводов, рассчитанных под нагрузку автотранспорта - самосвалов Бел АЗ-548. Регламентировано применять блоки фундамента 350ФП 2 (3.503-49) в районах с сейсмической активностью до 6 баллов и расчетной температурой воздуха минус сорок градусов и выше.

Расшифровка маркировки изделия

Каждому железобетонному изделию присваивается марка в соответствии с рабочими чертежами. Марки отражают основные характеристики и конструктивные особенности конструкций и состоят из буквенных и цифровых кодов. Рассмотрим детально маркировку блока 350ФП 2 (3.503-49), из которой видно, что:

1. 350 - ширина блока в сантиметрах,

2. Ф - сборный фундаментный блок,

3. П - промежуточный,

4. 2 - индекс, характеризующий типоразмер.

Помимо марки на торцевой стороне фундамента должны быть указаны так же краткое наименование производителя, дата изготовления (после нее допускается указывать номер смены), отпускная величина массы и печать ОТК. Надписи наносятся несмываемой краской яркого цвета, устойчивой к истиранию при помощи штампов или трафаретов.

Материалы и производство

Сборные блоки фундамента 350ФП 2 (3.503-49) должны производиться в заводских условиях с соблюдением всех стандартов и требований, указанных в Серии 3.503-49. В основе блоков лежит тяжелый гидротехнический бетон марки М300, который отличается высокими прочностными показателями и влагостойкостью. Марка бетона по морозостойкости принимается проектной организацией в зависимости от расчетной температуры наиболее холодного месяца, при температуре -15 градусов и выше не менее F200, ниже -15 - не менее F300.

Армирование представляет собой внедрение в толщу бетонной смеси стальных каркасов, сеток и увеличивает несущую способность конструкции за счет восприятия растягивающих напряжений. Блоки фундамента армируются сварными и вязаными сетками и каркасами. В качестве арматуры применяются арматурные стержни из стали классов АI, АII, АIII.

Готовые блоки фундамента принимаются отделом контроля над качеством по итогам приемосдаточных и периодических испытаний на прочность, жесткость, трещиностойкость, оцениваются так же внешний вид изделий, точность геометрических размеров. По результатам проверки, изделия сопровождаются паспортами качества.

Хранение и транспортировка

Сборные блоки фундаментов 350ФП 2 (3.503-49) надлежит хранить на обустроенных складах с выровненной площадкой, рассортированные по видам и маркам. Фундаменты непрошедшие проверку и имеющие дефекты, следует складировать отдельно.

Чтобы сохранить конструкции в пригодном для эксплуатации состоянии надлежит их укладывать штабелями с опорой на деревянные подкладки. В штабель должны укладываться максимум два блока в высоту. Следует избегать любых действий, способных повлечь за собой повреждение целостности изделия: навал, сброс, перетаскивание войлоком.

Перевозку сборных фундаментных блоков необходимо выполнять с применением опорных и крепежных приспособлений, обеспечивающих прочное крепление изделий в кузове транспорта для исключения сдвига и опрокидывания.