2СД 75-53-30-3

2СД 75-53-30-3
О товаре
Цена по запросу
ОПИСАНИЕ
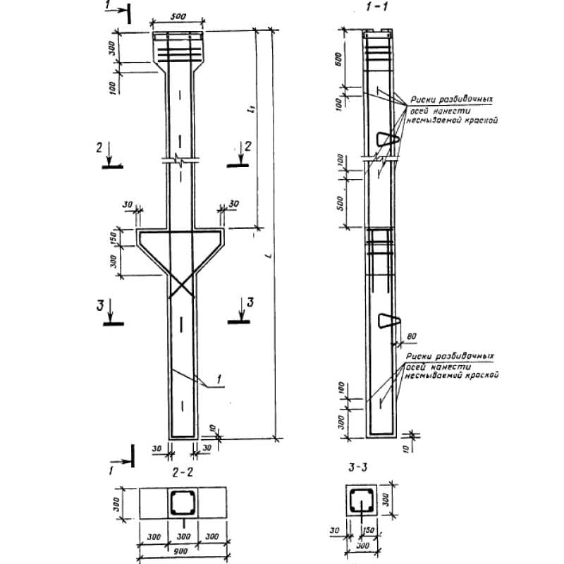
Сваи-колонны двухконсольные 2СД 75-53-30-3 - это высокопрочные строительные материалы из железобетона, которые имеют достаточно интересную форму: постоянный сплошной поперечный срез квадратной формы и два выступа для опирания примерно посередине. Сварной пространственный каркас, покрытый плотным защитным слоем бетона - лучшее решение, когда требуется максимальная надежность. Сваи типа СД выдерживают внушительные вертикальные и горизонтальные нагрузки и могут применяться в суровых климатических условиях. Их классифицируют как забивные элементы, а ход выпуска, правила приемки и эксплуатации регламентируются действующим ГОСТ 19804.7-93.
1. Варианты маркировки
Стандартизированный шифр (марка), присваиваемый двухконсольным сваям-колоннам, применяется при составлении спецификаций и технических документов, а также наносится на боковую грань готовых изделий. Актуальные и широко используемые типы написания подобной маркировки включают такие варианты:
1. 2СД 75-53-30-1;
2. 2СД 75-53-30-2;
3. 2СД 75-53-30-3.
2. Основная сфера применения
Как прочные и устойчивые элементы зданий, способные воспринимать повышенные нагрузки, сваи-колонны 2СД 75-53-30-3 используются преимущественно в сельскохозяйственном строительстве. В зависимости от типоразмера, сваи, выполненные по рабочим чертежам ГОСТ 19804.7-93, могут устанавливаться по крайним или по средним осям здания. Они не боятся перепадов температуры, однако применяются исключительно в условиях слабоагрессивной и неагрессивной газовой среды.
3. Обозначения маркировки изделия
Согласно с официальными стандартами марка типового железобетонного изделия всегда должна оставаться неизменной. На примере сваи-колонны 2СД 75-53-30-3 рассмотрим то, как маркировочные обозначения отображают конструктивные особенности определенных типоразмеров. Начнем с того, что сама марка расшифровывается так:
1. 2 – средняя, с уширением верха;
2. СД – свая-колонна двухконсольная;
3. 75 – длина в дм.;
4. 53 – длина между верхом и консолями в дм.;
5. 30 – размер стороны поперечного сечения в см.;
6. 3 – порядковый номер по несущей способности.
При проектировании и изготовлении конструкция с такой маркой всегда обладает одними и теми же пространственными характеристиками:
Длина = 7500;
Ширина = 300;
Высота = 300;
Вес = 1850;
Объем бетона = 0,74;
Геометрический объем = 0,675.
Для производителей принципиально важно использовать марку в ее официально утвержденном виде, не внося в шифр никаких изменений на собственное усмотрение.
4. Изготовление и основные характеристики
Изготавливаются двухконсольные сваи-колонны 2СД 75-53-30-3 в оборудованных заводских условиях в полном соответствии с чертежами и техническими условиями ГОСТа 19804.7-93. На первом этапе производства необходимо собрать и зафиксировать в опалубочной форме армирующий каркас будущего изделия. Для армирования поперечного типа применяются спирали из проволоки класса Вр-І, или сталь А-І (горячекатаная). Для продольного армирования берутся высокопрочные стержни из стали периодического профиля (класс А-ІІІ). В каждой точке пересечения продольные прутки привариваются к виткам спирали надежным методом контактно-точечной сварки. Также к пространственному каркасу сразу присоединяют закладные изделия. Когда стальная основа готова, ее покрывают слоем бетонной смеси.
Смесь в свою очередь состоит из высококлассного цемента, мелкофракционного щебня (диаметр не более 2 см) и очищенного песка в качестве заполнителей. Марка бетона по прочности на сжатие - М250, а для эксплуатации в более агрессивных условиях берется бетон повышенной плотности.
После фиксации положения всех элементов для изготовления (применяются цементные прокладки или пластиковые фиксаторы) начинается стадия формовки ЖБ изделий, а затем сушки, остывания и распалубки. Готовые сваи-колонны проходят комплекс приемо-сдаточных испытаний неразрушающего характера, в ходе которых проверяется отсутствие недопустимых отклонений в расположении арматуры, в толщине бетонного слоя и в геометрических размерах конструкции. Также изучается степень прочности и трещиностойкости изделия, а его поверхность тщательно осматривается на предмет дефектов и изъянов (сколов, раковин и прочего).
5. Транспортировка и хранение
Отправка готовых двухконсольных свай-колонн 2СД 75-53-30-3 на склад или на строительный объект заказчика осуществляется исключительно по достижению изделием отпускной прочности. При проведении погрузочно-разгрузочных работ предписывается подъем элементов на высоту за специальные стропы и ни в коем случае не непосредственно за подъемные петли. Складируют сваи-колонны в рассортированном виде, аккуратно размещая их в горизонтальном положении и располагая ровными, не слишком высокими штабелями. При перевозке изделия подвергаются тщательной фиксации в кузове грузового транспорта.