1Ф 21-8-2 (1.020.1-7)

q80a4lid05clfkm
1Ф 21-8-2 (1.020.1-7)

О товаре

Длина:2100
Ширина:2100
Высота:750
Вес:4500
ГОСТ, Серия:-
Объем бетона:1,8 м3
Геометрический объем:3,3075 м3

Цена по запросу

ОПИСАНИЕ

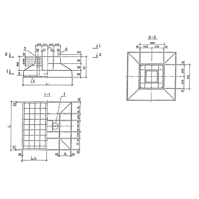
Фундамент цельный под колонну 1Ф 21-8-2 (1.020.1-7) незаменимый строительный материал, обладает высокой прочностью. Строительство каркасных зданий не возможно без такого конструктивного элемента, как колонны. Для возведения жесткого и устойчивого каркаса, разработан фундамент. Фундамент запроектирован стаканного типа. Применение изделий рассчитано в районах с неагрессивными, слабоагрессивными, среднеагрессивными грунтовыми водами. Монтирование фундаментов производится с соблюдением технических правил путем заглубления его в грунт, затем в стакан происходит замоноличивание колонны. Выпуск изделия регламентирует Серия 1.020.1-7, данный документ содержит рабочие чертежи конструкций, рекомендации к применению и изготовлению.

Расшифровка маркировки

Маркировочное обозначение фундамента разработано в виде буквенно - числовых групп, разделенных дефисом. Каждая группа несет характерную информацию об изделии. Рассмотрим маркировку на примере 1Ф 21-8-2 (1.020.1-7) где:

1. 1 индекс указывает на фундамент для колонн сечением 300х300 мм.;

2. Ф начальная буква названия элемента;

3. 21 размер стороны подошвы фундамента, в дм.;

4. 8 высота фундамента, в дм.;

5. 2 индекс, указывающий на несущую способность.

По готовности принято на каждое изделие наносить маркировку, дату выпуска, массу в килограммах.

Материалы и производство

Изготавливают фундамент на заводе или полигоне сборного железобетона. При производстве необходимо ориентироваться на рабочие чертежи и руководствоваться ГОСТом 24476-80*. Для выпуска геометрически правильного изделия с ровной поверхностью использую стальные формы. Перед заливкой бетона формы необходимо подготовить: очистить, и тщательно смазать. Основой производства служит тяжелый бетон класса В15, В25. Состав бетонной смеси должен отвечать будущим условиям эксплуатирования, поэтому дополнительные требования к бетонным показателям указывают в проектных документах. Высокая прочность фундамента обусловлена заложением арматурного каркаса. Армирование выполняется сварными сетками и каркасами. В качестве рабочей арматуры принято использовать стержневую сталь класса AI, AIII согласно ГОСТ 5781-82*. Объединение арматуры в пространственный каркас рекомендовано производить контактной точечной сваркой при помощи сварочных клещей или вязкой всех пересечений вязальной проволокой. Для перемещения изделий в тело фундамента замоноличены подъемные петли. В зависимости от окружающей среды возведения объекта, необходимо проводить мероприятия по защите металла от коррозии, методы защиты принимаются в конкретном проекте.

После достижения бетоном проектной прочности, производится распалубка изделий. Готовые фундаменты принимаются отделом технического контроля завода - производителя. Специалисты проверяют бетонную поверхность изделий, на ней не должно быть сколов, трещин, раковин. Геометрические размеры должны совпадать с размерами на рабочих чертежах. Приемка изделий осуществляется партиями. Отпущенная партия снабжается техническим документом. Технический паспорт заверяется лицом, отвечающим за технический контроль завода - производителя.

Транспортировка и хранение

На хранение изделия отправляются на склад готовой продукции. Фундаменты должны храниться, рассортированные по маркам и размерам. Складирование и транспортирование изделий рекомендовано производить с установкой в рабочее положение в один ряд. При перевозке необходимо фиксировать изделия, чтобы не допустить их смещения. Погрузку, разгрузку, монтаж производить, согласно, установленных правил.