3КК 96-2 (Шифр 2021-164)

3КК 96-2 (Шифр 2021-164)
О товаре
Цена по запросу
ОПИСАНИЕ
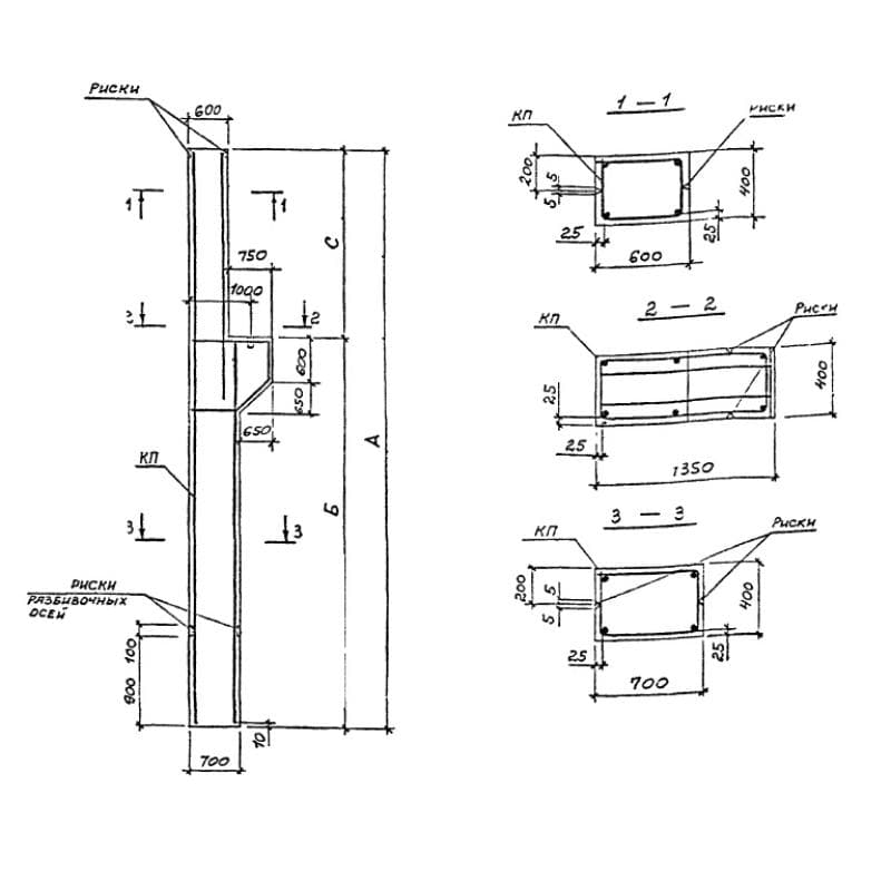
Колонна 3КК 96-2 (Шифр 2021-164) - это крупногабаритное изделие, соединяющее в себе бетон и стальную арматуру. Запроектирована данная конструкция с прямоугольным сечением, с выступами, ступенчатого вида, которые служат для опирания подкрановых балок. В целом, основной функцией колонн является усиление каркаса различных строений. 3КК 96-2 (Шифр 2021-164) по регламенту Шифр 2021-164 предназначена, непосредственно, для применения в одноэтажных производственных зданиях с неагрессивной, слабо и среднеагрессивной газовой средой, а также для отапливаемых и неотапливаемых помещений.
Расшифровка маркировки
Для обозначения всех железобетонных изделий, в том числе и колонн, используется буквенно-числовой индекс, в котором скрыты основные данные о параметрах и конструктивных особенностях изделия. Так расшифровка 3КК 96-2 (Шифр 2021-164) показывает следующую информацию:
1. 3 - типоразмер;
2. К - колонна;
3. К - для опирания подкрановых балок;
4. 96 - высота этажа здания в дм;
5. 2 - индекс, характеризующий несущую способность.
Маркировочные символы и знаки прописываются на готовой конструкции, с применением контрастной водостойкой краски, при помощи штампа или трафарета. Также там могут быть указаны дата выпуска колонны, вес, норматив, штамп отела технического контроля и наименование завода.
Материалы и производство
Предписания к изготовлению 3КК 96-2 (Шифр 2021-164) и информация по используемым материалам прописаны в регламенте Шифр 2021-164. В качестве основы для производства данных колонн используется бетон марок М300 и М400, которые относится к тяжелым литым бетонам. Рационально подобранные ингредиенты данных бетонов, такие как цемент, наполнители, песок и вода, отвечающие по качеству определённым регламентам, дают на выходе такие смеси, которые обладает рядом технических показателей, необходимых для создания высокопрочного изделия. Марки бетона по морозостойкости и водонепроницаемости назначаются индивидуально для каждого проекта, так как должны учитываться климатические особенности строительной площадки.
Дополнительное укрепление бетонного изделия происходит посредством добавления в него стальных элементов, соединенных между собой с помощью сварки. Так колонна армируется пространственным стальным каркасом, образованным из отдельных стержней продольной арматуры из стали классов А-I и А-III, а также из сеток и замкнутых хомутов. Для удобства соединения сборных железобетонных элементов между собой в тело колонны помещают закладные детали, которые крепятся к продольной арматуре пространственного каркаса ручной электродуговой сваркой. Также закладные элементы покрываются металлизированным покрытием.
Готовые 3КК 96-2 (Шифр 2021-164) проходят контрольные испытания, результатом которых является выявление изделий отвечающих эталону и обнаружение конструкций, не соответствующих ему. Методы контроля и испытаний, правила приема отражены в Серии 1.424.1-5.
Хранение и транспортировка
Такие длинномерные изделия как колонны складируются в заранее спланированном помещении, с ровным плотным основанием. Каждая конструкция укладывается поштучно, в положении «на ребро», таким образом, чтобы до нее был свободный доступ для грузоподъемной техники. Также важным условием хранения колонн является применение деревянного инвентаря - прокладок, с помощью которых удается изолировать изделия, и тем самым защитить их от сколов и других механических повреждений. Перевозка 3КК 96-2 (Шифр 2021-164) должна осуществляться исключительно специализированным транспортом, с применением специальных креплений, обеспечивающих неподвижное состояние колонн. Также здесь аналогично хранению необходимо использовать деревянные прокладочные приспособления.