2ПСО 33-33-4-1 птс (1.090.1-7с)

2ПСО 33-33-4-1 птс (1.090.1-7с)
О товаре
Цена по запросу
ОПИСАНИЕ
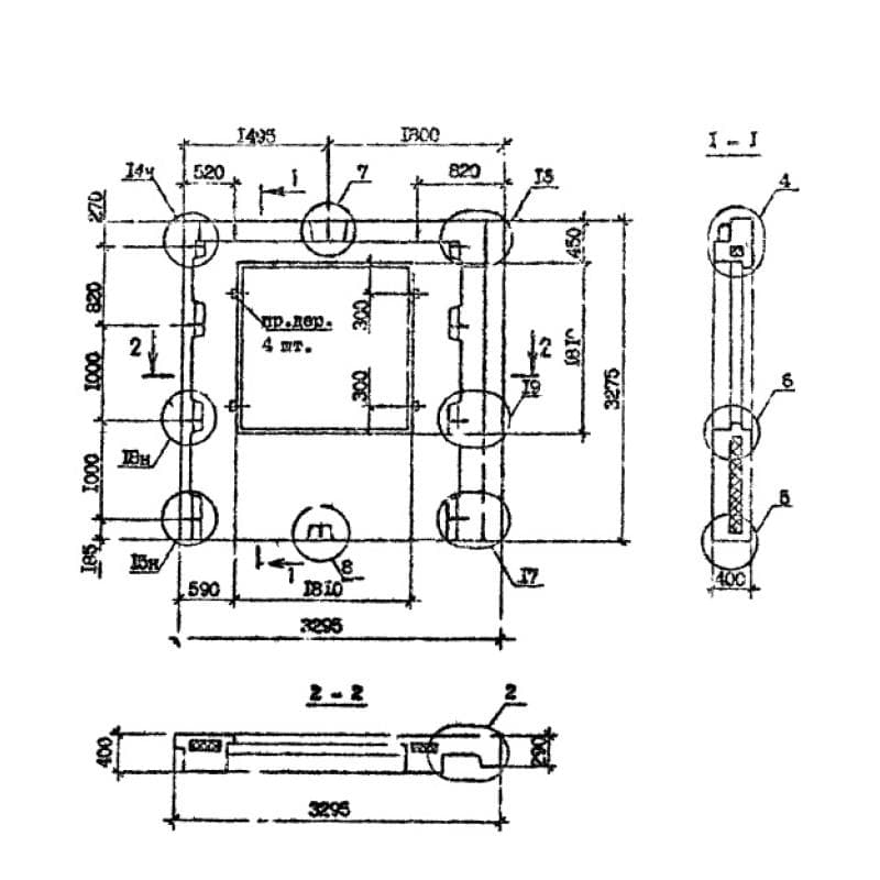
Панель наружных стен трехслойная 2ПСО 33-33-4-1 птс (1.090.1-7с) - это прочная железобетонная конструкция простой прямоугольной формы с выступами с торцевых сторон по всему периметру. Изделие запроектировано с наружным и внутренним слоями из армированного бетона и размещенным между ними слоем утепляющего материала толщиной 10 сантиметров. Также на вертикальных и горизонтальных гранях внутреннего слоя предусмотрены арматурные выпуски, шпонки и антисептированные деревянные пробки для соединения смежных строительных элементов между собой. Данные панели используются при строительстве крупных панельных построек различного назначения (общественных, административных, бытовых) с высотой этажа 3,3 метра, в местности с сейсмической активностью семь, восемь и девять баллов. К основным преимуществам таких изделий можно отнести огнестойкость не менее двух с половиной часов, прочность, устойчивость к перепадам температуры, а также длительность сроков эксплуатации.
Расшифровка маркировки
Для удобства хранения и эксплуатации, все железобетонные изделия наделены кратким символическим обозначением - маркировкой. Так марка трехслойной панели это буквенно-числовой индекс, в которым содержатся данные об основных характеристиках изделия:
1. 2 - отличие в размерах или расположении проема;
2. ПСО - стеновая панель с оконным проемом;
3. 33 - длина (длина в дм);
4. 33 - высота (в дм);
5. 4 - толщина (в дм);
6. 1 - нагрузка;
7. п - бетон на пористых заполнителях;
8. т - трехслойная;
9. с - для районов с сейсмичностью 7 и 8 баллов.
Марка, а также другие необходимые данные, такие как вес, дата выпуска, штамп ОТК, пишутся несмываемой темной краской, на торце готовой конструкции.
Материалы и производство
Основным регламентом для изготовления трехслойных панелей для наружных стен является Серия 1.090.1-7с. 2ПСО 33-33-4-1 птс (1.090.1-7с) производят в горизонтальной форме лицевой стороной вниз. Для внутреннего и внешнего слоев используется легкий бетон на пористых заполнителях (гравий керамзитовый) класса по прочности на сжатие В10 и плотностью D1200. Марка бетонной смеси по морозостойкости должна быть не ниже F50. Наружная поверхность изделий предусмотрена с применением долговечных отделочных материалов. Для увеличения показателя устойчивость к температурным изменениям, а также для улучшения звукоизолирующего свойства изделия, внутренний слой составляет утеплитель из пенопласта полистирольного, плотностью 40кг/м3.
Прочность будущей панели обеспечивает внутренний стальной пространственный каркас из сеток из стержней класса стали А-III и арматурной проволоки Вр-I. Наружный и внутренний слои изделия соединяются между собой жесткими связями толщиной 6 сантиметров, при этом связи должны быть армированы плоскими каркасами и сетками. В целях повышения пространственной жесткости здания, в котором будет использоваться панель, в 2ПСО 33-33-4-1 птс (1.090.1-7с) предусмотрены непрерывные арматурные «пояса», в виде расположенных в ее теле двух продольных арматурных стержней. Стержни устанавливаются в двух уровнях - верхней и нижней части строительного элемента. В качестве дополнительных конструктивных особенностей используются закладные детали, лицевая поверхность которых покрывается антикоррозийной обмазкой 0,5 миллиметров.
Приемка панелей отделом технического контроля завода и контрольная выборочная проверка осуществляется на основании требований ГОСТ 11024-84*.
Хранение и транспортировка
Изделия складируются в специально спланированном помещении с плотным ровным основанием. Опирание панелей, как при хранении, так и при перевозке, должно производиться на специальные прокладки (деревянные, резиновые). Подъем 2ПСО 33-33-4-1 птс (1.090.1-7с) важно осуществлять с применением траверсов, которые способны самостоятельно держать баланс, благодаря этой технической характеристике может обеспечиваться вертикальное положение изделий. Угол наклона строп допускается не больше чем пятнадцать градусов. Перевозят конструкции специальными видами транспортом, с использованием креплений.