3К 67-2 (3.012-3)

3К 67-2 (3.012-3)
О товаре
Цена по запросу
ОПИСАНИЕ
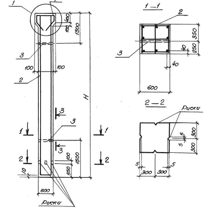
Колонна 3К 67-2 (3.012-3) представляет собой высокопрочное строительное изделие прямоугольной формы, которое является неотъемлемым элементом железобетонных силосов диаметром шесть и двенадцать метров для хранения сыпучих материалов. Колонны имеют следующее сечение: 40*40, 50*50 и 60*60, соответственно в маркировке это отображено цифрами как «1К», «2К» и «3К». В конструкции имеются закладные изделия, предназначенные для закрепления других элементов, в том числе и балок. Детали изготавливаются из прочного тяжелого бетона, таким образом, они способны выдерживать значительные нагрузки, применяются, как правило, в обычных климатических условиях. Более подробно ознакомиться с процессом производства, а так же с рабочими чертежами можно в Серии 3.012-3.
Расшифровка маркировки
Как и любое строительное изделие, данные колонны имеют собственные обозначения, которое состоят из буквенно-цифровых индексов и наносятся они на поверхность элемента в виде штампа. Марка указывается ни только на самом элементе ну и в технической документации. Рассмотрим подробно значение символов 3К 67-2 (3.012-3):
1. 3 - сечение колонны;
2. К - колонна;
3. 67 – длина колонны;
4. 2 - несущая способность.
Маркировка данных конструкций производится на боковой грани в соответствии со всеми требованиями Серии 3.012-3. Обязательным является информация о номере партии, дате производства, весе и указывают логотип производителя.
Материалы и производство
Железобетонные колонны 3К 67-2 (3.012-3) выпускаются на оборудованных заводах в жестких металлических формах в строгом соответствии со всеми требованиями Серии 3.012-3. В нормативном документе содержатся основная информация о самом изделии, представлены рабочие чертежи. В качестве основного сырья выступает тяжелый бетон марки М500. Армирование производится при помощи стальных стержней, которые соединены между собой контактной точечной сваркой. В качестве рабочей арматуры выступает сталь класса A-I A-III по требованиям ГОСТ 5781-75 и армируются пространственными каркасами. Закладные изделия запроектированы согласно нормативу ГОСТ 10922-75. Все элементы должны пройти обработку коррозионным составом по требованиям СНиП II-28-73. Отпускная прочность бетона определяется по требованиям ГОСТ 17624-78. Важной стадией является контрольная проверка железобетонных изделий отделом ОТК. Проверяется поверхность конструкций, расположение закладных деталей, а так же геометрические параметры сравнивают с проектными чертежами. После всех пройденных проверок, качественные изделия снабжаются паспортом качества, где указана информация о сырье, производителе и обязательно должна стоять печать отдела контроля предприятия изготовителя железобетонных конструкций. Те изделия, у которых был обнаружен брак, отправляются на ремонт.
Транспортировка и хранение
Складирование и транспортировка железобетонных колонн 3К 67-2 (3.012-3) производится в горизонтальном положении с применением деревянных подкладок. В обязательном порядке изделия сортируют по маркам и типоразмерам. При перевозке конструкции нужно закрепить их таким образом, чтобы обеспечить отсутствие смещения во время движения автомобильного или железнодорожного транспорта, таким образом избежать повреждений. Погрузку и выгрузку следует осуществлять с использованием траверсы и при помощи специализированной техники, с особой осторожностью и с безукоризненным соблюдением правил техники безопасности. Соблюдая все нормы регламента, потребитель получит изделия в идеальном состоянии.