1ПСР 58-30-1,6-3 т

h6kfqgtat2j93kq
1ПСР 58-30-1,6-3 т

О товаре

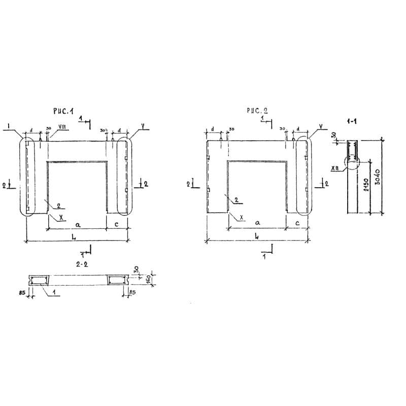
Длина:5800
Ширина:160
Высота:3040
Вес:3950
ГОСТ, Серия:-
Объем бетона:1,575 м3
Геометрический объем:2,8211 м3

Цена по запросу

ОПИСАНИЕ

Рамы внутренних стен 1ПСР 58-30-1,6-3 т представляют собой высокопрочные строительные элементы, которые широко используются при строительстве крупнопанельных общественных зданий высотой этажа 3.3 метра. Для получения значительно больших проемов при решении планировочных задач, в систему панелей внутренних стен включены рамы. Изделия внешне представлены в виде буквы «П» с одинаковой толщиной 160 мм. На боковых гранях рам запроектированы рифления, служащие для сопряжения с другими конструкциями. Согласно регламенту Серии 1.220.1-2 рамы предназначены для использования в обычных климатических зонах.

Расшифровка маркировки

Каждое индустриальное изделие имеет свою собственную маркировку. Маркировочное обозначение наносится на боковую часть элемента, таким образом, чтобы можно было быстро и без затруднений найти нужное нам строительное изделие на складском помещении. На основании ГОСТ 23009-78 маркировочные индексы 1ПСР 58-30-1,6-3 т имеют следующую расшифровку:

1.1 - тип рамы;

2. ПСР - рамы внутренних стен;

3. 58 - длина;

4. 30 - высота;

5.1,6 - ширина;

6. 3 - без косвенного армирования (индекс 7-с косвенным армированием).

7. т - тяжелый бетон.

В обязательном порядке на одной из торцевых сторон железобетонной конструкции должна быть прописана информация касательно веса, в килограммах, а также дата изготовления, логотип предприятия и штамп ОТК. Краска используется специальная и влагоустойчивая. В заводскую марку нельзя вносить изменения и дополнения.

Материалы и производство

Производство рам внутренних стен 1ПСР 58-30-1,6-3 т осуществляется на специализированных заводах, в кассетных установках, согласно требованиям ГОСТ 13015-75 и Серии 1.220.1-2. На основании действующего регламента применяется бетон марки М250. Показатели морозостойкости и водонепроницаемости назначаются по согласованию с потребителем. Армирование изделий осуществляется пространственными каркасами и запроектирована арматурная сталь класса AIII по Серии 1.220.1-2. Завод производитель должен предусмотреть работы по антикоррозионной защите изделий по требованиям СНиП 2.03.11-85-28. Монтажные петли изготавливаются из арматурной стали класса А-II и А-I. Отпускная прочность бетона должна составлять не менее 70% от проектной марки. Каждая готовая партия железобетонных изделий проходит жесткие проверки на качество. Рамы должны быть изготовлены из материалов одного вида, по одинаковой технологии. Отдел технического контроля производителя тщательно проверяет поверхность деталей, так как ни в коем случае не должно быть никаких вмятин, трещин, жировых пятен, а все габариты должны соответствовать проектным чертежам. Лицевые поверхности рам изготавливаются под покраску или оклейку обоями.

Хранение и транспортировка

Хранить и транспортировать рамы внутренних стен 1ПСР 58-30-1,6-3 т следует в соответствии с требованиями ГОСТ 13015.4-84 и Серии 1.220.1-2. Укладывают железобетонные изделия на заранее подготовленное ровное основание в рабочем положении с применением деревянных подкладок. Перевозить элементы допускается на оснащенном специальными фиксаторами автомобильном транспорте, так и железнодорожными составами. При этом изделия необходимо хорошо зафиксировать, чтобы всячески избежать смещения. Обязательно соблюдать осторожность и технику безопасности. Подъездной путь должен быть хорошо оборудован, для погрузочно-разгрузочных работ. Запрещается разгружать рамы внутренних стен со свободным падением, а так же перетаскивать волоком.