2ПВ 10-2 АтVт (1.865.1-4/80)

2ПВ 10-2 АтVт (1.865.1-4/80)
О товаре
Цена по запросу
ОПИСАНИЕ
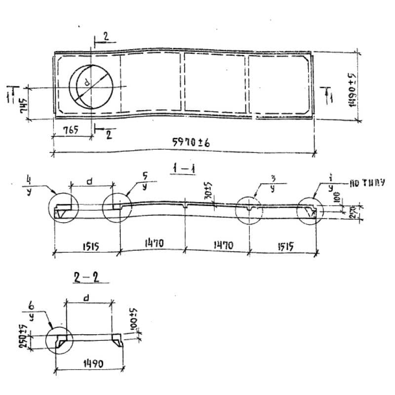
Плита ребристая 2ПВ 10-2 АтVт (1.865.1-4/80) представляет собой прямоугольный строительный элемент с двумя параллельными ребрами, а сверху располагается сплошная плита. Изделия широко применяются при строительстве сельскохозяйственных зданий, где шаг колонн составляет шесть метров. Благодаря данным универсальным деталям, увеличиваются нагрузки на всю конструкцию. Плиты делятся на два вида: ПГ- без проема в полке плиты, и обычно используется для глухих участков здания, и ПВ - с проемом в полке плиты и используется, как правило, для устройства вентиляционной шахты. Железобетонные изделия выполняются из качественного материала, поэтому выдерживают значительные нагрузки от кровли, осадков в виде снега и от различных тяжелых предметов. Рабочие чертежи и схемы по установки содержит Серия 1.865.1-4/80.
Расшифровка маркировки
На основании рабочих чертежей, каждому новому индустриальному изделию присваивается маркировочный шифр. Марка состоит из букв и цифр, каждая из которых имеет свое значение. Чтобы более детально познакомится с данными железобетонными конструкциями, на основании Серии 1.865.1-4/80 рассмотрим значение маркировки 2ПВ 10-2 АтVт (1.865.1-4/80):
1. 2ПВ - вид элемента - плита с проемом (ПГ - без проема);
2. 10 - типоразмер;
3. 2 - нагрузка;
4. AтV - класс арматурной стали;
5. т - вид бетона - тяжелый бетон.
Так же могут прописываться дополнительные индексы в конце маркировки, такие как:
п - агрессивность газовой среды; а, б, в, к - наличие закладных изделий.
Рядом с маркой ставят дату производства, вес конструкции и штамп ОТК.
Основные характеристики и изготовление
Плиты ребристые 2ПВ 10-2 АтVт (1.865.1-4/80) выпускаются на заводе сборного железобетона, где осуществляется пооперационный контроль за качеством применяемого сырья согласно требованиям ГОСТ 21506-87 и Серии 1.865.1-4/80. Основным и очень прочным материалом выступает бетон марки М250-350. Марка бетона по морозостойкости должна быть не менее F50, а по водонепроницаемости не ниже W4. Обычно данные марки назначаются исходя из климатических особенностей района постройки. Для удобства установки в тело железобетонных конструкций закладываются специальные строповочные петли из горячекатаной стали класса A-I. Помимо прочной основы, плиты подвергаются армированию. Армируются сварными каркасами и сетками из напряженной стержневой арматуры класса Aт-V, Aт-IVC, A-IV, и обыкновенной проволоки Bp-I. Все закладные элементы служат для сопряжения с другими деталями и должны подвергаться антикоррозионной обработке согласно СН 262-67. Отпускная прочность бетона в зимнее время должна быть не ниже 100%, в летний период не менее 75% от проектной марки бетона. Все выпущенные на заводе железобетонные плиты, проходят контрольные приемочные испытания. Согласно ГОСТ 13015-67, конструкции проверяются на прочность, жесткость и трещиностойкость, так же тщательно проверяется геометрия и внешний вид. По итогу проверок выписывают всю необходимую техническую документацию.
Транспортировка и хранение
Складирование плит 2ПВ 10-2 АтVт (1.865.1-4/80) осуществляется на специально отведенной территории. Индустриальные конструкции укладывают в рабочем положении в штабеля высотой не более двух метров с использованием инвертарных прокладок и подкладок. Транспортировка проводится на специализированном транспорте, который оснащен крепежными механизмами. Все строительные детали должны быть надежно зафиксированы в кузове автомобиля, для того, чтобы избежать порчи. Погрузочно-разгрузочные манипуляции осуществляются с соблюдением правил техники безопасности.