350ФП 1

350ФП 1
О товаре
Цена по запросу
ОПИСАНИЕ
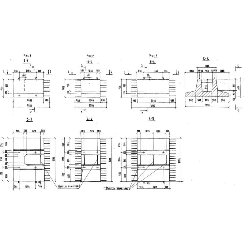
Блок фундамента 350ФП 1 – сборный железобетонный элемент. Данное изделие применяют для возведения устоев и промежуточных опор под пролетные строения длиной 12, 15, 18, 24 и 33 метра для автодорожных мостов. Блок фундамента стаканного типа. Блоки возможно применять в различных климатических зонах. Выпуск регламентирует Серия 3.503.1-57.
Расшифровка маркировки
Маркировка – это обозначение изделия при буквенно - числовой комбинации. Посредством маркировки прописывают основные характеристики элемента. Маркировка наносится на каждое готовое изделие, также следует проставлять штамп завода – производителя, массу и дату выпуска. Рассмотрим маркировку блок фундамента 350ФП 1:
1. 350 – ширина фундамента, в см.;
2. ФП – буквенное обозначение;
3. 1 – нагрузка.
Вносить дополнения в принятую маркировку не допускается.
Материалы и производство
Выпуск блоков запроектирован из гидротехнического бетона марки 300 по ГОСТ 4795-68. Благодаря выполнению изделий из специального бетона, они становятся устойчивыми к воздействию агрессивной водной среды. Марка бетона по морозостойкости принимается исходя из показателей среднемесячной температуры наиболее холодного месяца в соответствии с требованиями СН 365-67. Цемент, вода и заполнители для бетона должны соответствовать техническим требованиям. Прочный армирующий каркас обеспечивают стержни периодического профиля из низколегированной мартеновской горячекатаной стали класса AIII по ГОСТ 5781-75. Для армирования некоторых блоков фундамента с повышенными требованиями к трещиностойкости применяют углеродистую горячекатаную сталь класса AII. Для удобства транспортирования и монтажа в конструкции изделия предусмотрены монтажные петли. Проектное положение арматурного каркаса в опалубочной форме обеспечивается поставкой хомутов, которые привариваются к стержням сеток и каркасов при помощи сварочных клещей или привязываются вязальной проволокой. Запроектированный бетонный слой над арматурой обеспечивается установкой бетонных кубиков. Чтобы не происходило растрескивания металла в условиях агрессивной среды, металлические части следует обрабатывать для устойчивости к коррозии.
Готовое изделие должно быть качественным, поскольку обеспечивает устойчивость всей конструкции. Блоки фундамента принимаются отделом технического контроля. Блоки проверяются на соответствие рабочим чертежам. Измеряют габаритные размеры, осматривается бетонная поверхность. Принятые техническим контролем изделия получают технический паспорт, подписанный ответственным за технический контроль лицом.
Транспортировка и хранение
Хранить блоки фундамента следует на специально оборудованных складах и площадках готовой продукции. Изделия, которые не прошли проверку и были отправлены на ремонт, следует хранить отдельно. Блоки укладываются на специальные деревянные подкладки толщиной не менее 30 мм. Следует обеспечить свободный доступ специальной техники для захвата и подъёма изделий. Перевозку продукции можно производить авто транспортом и железнодорожными путями. При транспортировании изделия нужно тщательно фиксировать, чтобы не допустить непроизвольного смещения. Запрещено разгружать блоки со свободным их падением. Не допускается их перемещение волоком. При хранении, транспортировании и монтаже следует соблюдать правила безопасности.