1ПК 63-12-6 Н 0-АтV

gc97moeeubwafdb
1ПК 63-12-6 Н 0-АтV

О товаре

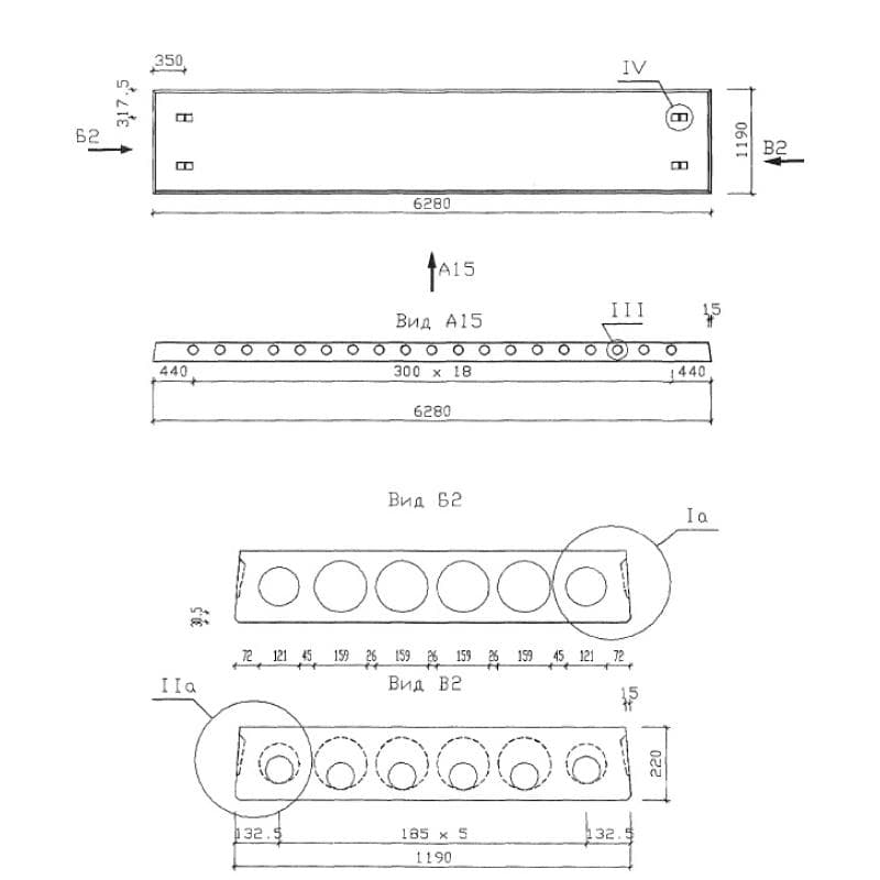
Длина:6280
Ширина:1190
Высота:220
Вес:2400
ГОСТ, Серия:-
Объем бетона:0,96 м3
Геометрический объем:1,6441 м3

Цена по запросу

ОПИСАНИЕ

Плита многопустотная 1ПК 63-12-6 Н 0-АтV представляет собой унифицированную железобетонную конструкцию, предназначенную для различных видов строительства. Форма изделия представлена прямоугольной, а постоянный шаг расположения продольных пустот равен 185 миллиметров. Отличительной особенностью данного круглопустотного элемента является уменьшенный диаметр отверстий у одного из торцов плиты. Наличие на продольных гранях шпонок закрытого типа гарантирует удобство соединения элемента при строительстве с другими изделиями, а присутствие в необходимых случаях бетонных вкладышей - обеспечивает усиление торцов. Плиты, выпускаемые по нормативу Серия 1.041.1-5 подразделяются по типу расположения в каркасе здания на связевые (средние и пристенные) и рядовые. Прямым назначением 1ПК 63-12-6 Н 0-АтV является создание перекрытия на стыке этажей и покрытие жилых, общественных и административно-бытовых зданий со стенами из кирпича или крупных блоков.

Расшифровка маркировки

Стандартным видом маркировочного обозначения железобетонного изделия является буквенно-числовой шифр. Так, если рассматривать расшифровку 1ПК 63-12-6 Н 0-АтV, можно увидеть следующее:

1. 1 - цифровая характеристика сечения - толщина изделия 220 мм, пустоты диаметром 150 мм;

2. ПК - плита круглопустотная;

3. 63 - длина в дм;

4. 12 - ширина в дм;

5. 6 - несущая способность;

6. Н - для использования в отапливаемых и закрытых помещениях;

7. О - изделие не имеет конструктивных особенностей;

8. AтV - применяемый класс арматуры.

Контрастной водостойкой краской на готовой плите прописываются марка, датировка, вес, название завода-изготовителя и штамп ОТК.

Материалы и производство

Серия 1.041.1-5 определяет основные технические требования для выпуска высококачественных многопустотных плит. В качестве главного материала для них применяется тяжелый бетон классов по прочности на сжатие В15-В30, средняя плотность которого должна составлять 2500 кг/м3. Изготовление такой смеси происходит на щебне из скальных пород, таких как гранит или известняк. Марки по морозостойкости и водонепроницаемости бетонного состава определяются автором конкретного проекта, на основании указаний главы СНиП 2.03.01-84*, в зависимости от природно-климатических условий района строительной площадки и режима эксплуатации.

Так как 1ПК 63-12-6 Н 0-АтV в будущем сооружении будет подвержена вертикальным и горизонтальным нагрузкам, она должна обладать колоссальной прочностью, которая достигается путем эффективной совместной работы металла и бетона. Так армирование линейки плит по Серии 1.041.1-5 осуществляется как напрягаемой, так и не напрягаемой арматурой, в зависимости от особенностей последующей эксплуатации. В качестве напрягаемой арматуры могут быть применены следующие классы стали: А-IIIв, Ат-IV, Ат-V.

Требования к внешнему виду готового изделия устанавливает ГОСТ 9561-91, который определяет что поверхность нижней потолочной плиты должна соответствовать категории А2, а верхние и боковые части - категории А7.

Хранение и транспортировка

Складские мероприятия с железобетонными прямоугольными изделиями осуществляются в заранее спланированном помещении. Располагать конструкции в штабель необходимо только после сортирования изделий по маркам и типоразмерам. Важно использование деревянного инвентаря - прокладок и подкладок. Подъем 1ПК 63-12-6 Н 0-АтV осуществляется с применением захватных устройств, специальных траверс, а также страховочных приспособлений. Допустимые для использования виды транспорта: автомобильный, железнодорожный, речной.