3КД 12-3 АIII-3

3КД 12-3 АIII-3
О товаре
Цена по запросу
ОПИСАНИЕ
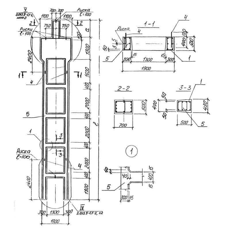
Колонна 3КД 12-3 АIII-3 представляет собой вертикальную железобетонную опору, имеющую прямоугольное сечение. Особенностью данного изделия является наличие прямоугольных отверстий по всей длине, что относит колонну 3КД 12-3 АIII-3 к двухветвевой. Также Серией их изготовления 3.013.9-19 запроектированы колонны без отверстий. Основное предназначение таких конструкций - это быть опорными элементами общего сооружения - открытой крановой эстакады. Данные эстакады применяются под мостовые электрические краны, на производствах, допускающих перерывы в работе кранов. Условиями для строительства таких сооружений является неагрессивная степень газовой среды, I-IV географический район по скоростному напору ветра, расчетная температура воздуха до минус 40 градусов по Цельсию, а также сейсмическая активность до восьми баллов включительно.
Расшифровка маркировки изделия
Марка сборной железобетонной колонны состоит из буквенно-числового индекса. Каждый символ индекса содержит сжатую информацию об изделии. Так если рассматривать расшифровку 3КД 12-3 АIII-3, то можно увидеть следующее:
1. 3 - номер типоразмера поперечного сечения изделия;
2. КД - колонна двухветвевая;
3. 12 - округлённая длина в м;
4. 3 - несущая способность;
5. АIII - класс применяемой рабочей арматуры;
6. 3 - индекс различия по закладным изделиям.
Темной краской особого состава на готовом изделии указываются следующие информационные обозначения: маркировка, товарный символ изготовителя, масса изделия, а также дата выпуска колонны. Для удобства написания здесь могут использоваться резиновые штампы или трафареты.
Материалы и производство
Железобетонные колонны изготавливают в заводских условиях в специальных металлических формах. Производители при этом должны руководствоваться пометками и рабочими чертежами из Серии 3.013.9-1. Основным материалом при производстве 3КД 12-3 АIII-3 является тяжёлый бетон классов В22,5-В40. Марка бетона по морозостойкости - F75, марка по водонепроницаемость назначается индивидуально в зависимости от климатических условий объекта строительства. Отпускная прочность бетона на сжатие должна быть не менее 70% в теплый период и 90% - в холодный период года.
Увеличение показателя прочности у будущего строительного элемента происходит в процессе армирования. Колонна 3КД 12-3 АIII-3 армируются с помощью соединенных между собой стальных плоских каркасов и сеток из ненапрягаемой арматурой. Также изделие снабжено строповочными петлями для удобства извлечения колонны из формы и упрощения процесса монтажа. Петли привариваются точечной электросваркой в четырех местах к продольной арматуре пространственного каркаса колонны до его установки в опалубку. Для изготовления петель применяется сталь класса А-I. Проектное расположение стальных изделий в форме обеспечивается специальными фиксирующими приспособлениями из пластмассы или цементно-песчаной массы. Положение закладных сохраняется путем крепления к форме, также они должны быть защищены от коррозии с помощью металлизации слоем цинка или алюминия толщиной 120 мкм.
Хранение и транспортировка
Колонны необходимо складировать в горизонтальном двухметровом ряду (штабеле) из-за их особой длины, массы и форм. Во время складирования под железобетонные конструкции помещают специальные деревянные подкладки. 3КД 12-3 АIII-3 транспортируют «плашмя» или «на ребро» поштучно или в кассетах с опиранием на деревянный инвентарь в двух точках вблизи строповочных петель. Подъем, погрузка и разгрузка изделий осуществляется с захватом за петли, или же с помощью инвентарных приспособлений.