ПК 24-12-8








ПК 24-12-8
О товаре
Цена по запросу
ОПИСАНИЕ
Плиты перекрытия многопустотные ПК 24-12-8 используются в том случае, когда необходимо перекрыть междуэтажный пролет в доме. Так как это высокопрочные изделия, то готовая конструкция также отвечает требованиям по долговечности и долговечности. С помощью четырехугольных плит перекрытия с пустотами ПК 24-12-8 удается получить цельное сооружение с перекрытыми пролетами больших размеров. За счет круглых пустот готовые элементы обладают высокими свойствами звуко- и теплоизоляции, что делает применение плит ПК 24-12-8 в гражданском строительстве полностью экономически оправданными.
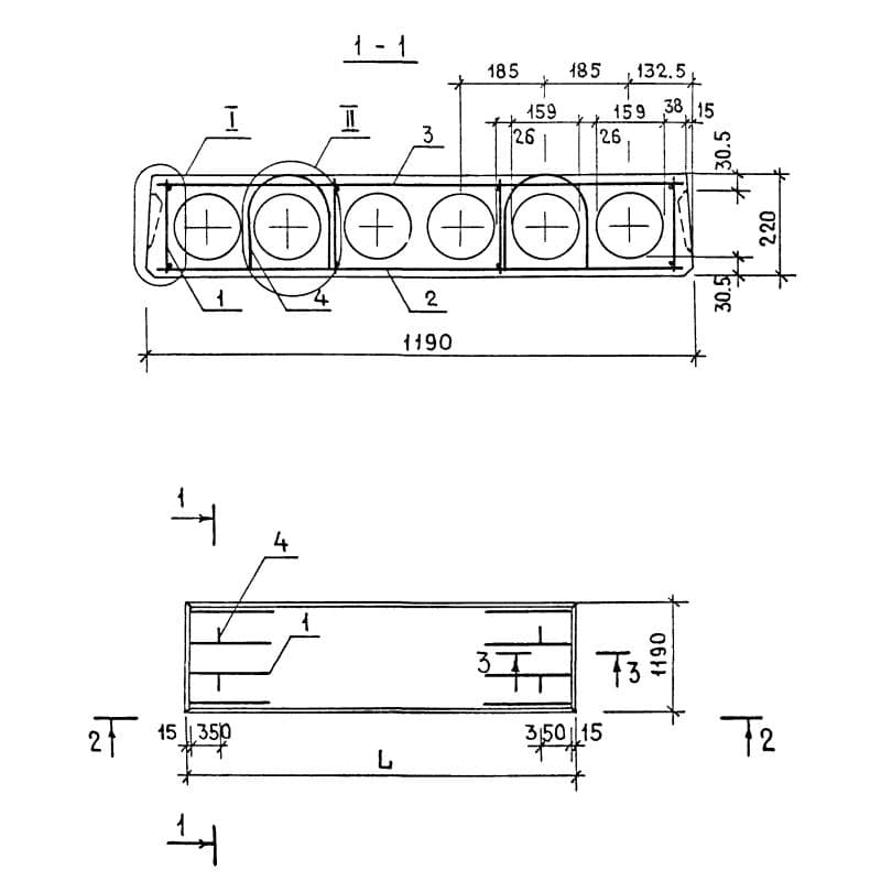
1.Варианты написания маркировки.
Написание маркировки многопустотных плит для перекрытия ПК 24-12-8 производится согласно Серии 1.141-1 и включает в обозначение тип изделия, его главные размеры и расчетную нагрузку. Варианты написания следующие:
1. ПК 24-12-8 т;
2. ПК 24-12-6 а;
3. ПК 24-12-10;
4. ПК 24-12-12,5;
5. 1ПК 24-12-8 та;
6. 2ПК 24-12-8 АIIIв ;
2.Основная сфера применения изделий.
Плиты с круглыми пустотами ПК 24-12-8 применяют в гражданском и общественном строительстве домов различного назначения для междуэтажного перекрытия. Здания могут быть построены из различных материалов, например, из кирпича или керамзитобетона. Плиты ПК 24-12-8 устанавливают только в горизонтальном положении. Заделка плит ПК 24-12-8 производится с дополнительным утеплением торцов на глубину – не менее чем 90 мм. Перекрытие этажа производится с гарантированной прочностью, при этом сама плита имеет относительно небольшой вес, что позволяет равномерно распределить вес по всей конструкции. Все это позволяет существенно уменьшить общий вес здания и обустроить более легкие типы фундаментов. Плиты ПК 24-12-8 изготавливаются прочными, с ровной поверхностью и круглыми пустотами. Способны воспринимать как статические, так и динамические нагрузки от вышерасположенных стен и элементов, а также сжимающие и сдавливающие существенные нагрузки. Наличие пустот в железобетонной плите ПК 24-12-8 позволяет проложить в них различные сети и коммуникации. Пустоты выполнены цилиндрической формы. Данные изделия должны применяться в жилых и общественных зданиях с налаженной вентиляционной системой и гидроизоляцией в санитарных помещениях. На готовую продукцию должен быть получен гигиенический и санитарно-эпидемиологический Сертификаты. Торцы могут быть оставлены как открытыми, так и заделываться бетонной смесью или специальными вкладышами (в маркировке указывается буквой "а").
3.Обозначение маркировки изделия .
Маркирование плит с пустотами ПК 24-12-8 осуществляется согласно Серии 1.141-1, с указанием типа изделия ПК – плита с круглыми пустотами, в цифровой комбинации указывают размеры и расчетную нагрузку плитного элемента. Габаритные размеры составляют – 2380х1190х220 , где указаны длина, ширина и высота. Дополнительно в маркировке железобетонных изделий могут быть указаны следующие параметры:
1. Класс напрягаемой арматуры, для ПК 24-12-8 – АтVт;
2. Вид бетона указывается буквой "Т" – тяжелый;
3. Наличие бетонных вкладышей может быть указано буквой "а";
4. Геометрический объем – 0,6231 ;
5. Объем бетона на одно изделие – 0,35;
6. Масса изделия составляет 857;
7. Огнестойкость – 1 и 2 класс.
Маркировка наносится на боковую грань плиты черной краской, также наносят дату изготовления партии и товарный знак компании-производителя.
4.Основные материалы для изготовления и характеристики.
Изготавливают плиты перекрытия с пустотами ПК 24-12-8 методом формования с дополнительным армированием изделий. В качестве напрягаемой арматуры используют прутки класса АтVт и Вр-I, сваренные в каркасные сетки методом контактно-точечной сварки. Каркас располагают на расстоянии от края 3-5 см. Тип сеток С1 и С10, тип стержней арматуры – Т3. Арматуру располагают в продольном положении плитного элемента. Для удобства подъема на высоту в тело плиты закладывают монтажные петли – П1 (после монтажа и срезают или загибают).
Изготавливают ПК 24-12-8 из тяжелых бетонов марки по прочности на сжатие – М200, класс по прочности на сжатие – В15 и В20. Марка бетона многопустотной плиты по морозостойкости не ниже чем F50 (не менее 50 циклов замораживания-размораживания), по водопроницаемости бетонная смесь должна соответствовать марке – не ниже W2. Также бетон для многопустотных плит должен отвечать требованиям достаточной жесткости и малой прогибаемости. Плита с данными характеристиками используется для перекрытия пролетов в 3 метра.
5.Складирование и перевозка.
Транспортировка плит ПК 24-12-8 производится спецтранспортом в "рабочем" горизонтально положении с надежной фиксацией всех элементов. Слои прокладывают изолирующим материалом. Погрузочно-разгрузочные работы производят с соблюдением техники безопасности, так как повреждение пустот приведет к потере несущей способности. Хранят данные изделия в стопке по 8 шт., также прокладывая каждый слой деревянными досками толщиной 3 см.