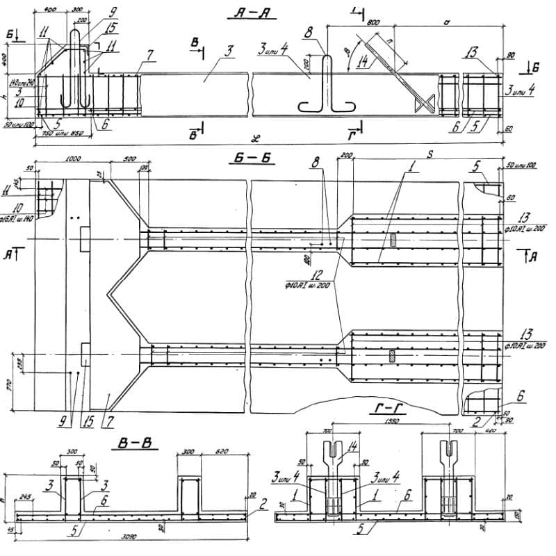
2ФПБ 90-7

cd0c2wxuzhyf4ni
2ФПБ 90-7

О товаре

Длина:9000
Ширина:3090
Высота:700
Вес:28800
ГОСТ, Серия:-
Объем бетона:11,52 м3
Геометрический объем:19,467 м3

Цена по запросу

ОПИСАНИЕ

Плита фундамента 2ФПБ 90-7 представляет собой высокопрочную железобетонную конструкцию сложной формы, отличительной особенностью которой является наличие анкерных выпусков и закладных деталей, служащих для надежного сопряжения с примыкающими вертикальными элементами и анкерными тягами. Такие плиты являются основой грузовых и пассажирских причальных набережных, они воспринимают нагрузки от выше установленных конструкций и равномерно их распределяют на грунт, тем самым обеспечивают устойчивость и долговечность всему сооружению.

Номенклатурный список фундаментных плит включает себя как одиночные, так и сдвоенные по ширине изделия, которые применяются для строительства набережных уголкового профиля с высотой в диапазоне от 4 до 15 метров. Существует три способа монтажа плит - насухо, в воду собранными блоками или отдельными элементами. Регламентировано их использовать в районах с температурой наружного воздуха наиболее холодной пятидневки до -40 градусов по Цельсию.

Более полная информация по условиям эксплуатации, монтажным схемам дана в Серии 3.505.1-15.

Расшифровка маркировки

Марки железобетонных изделий состоят из цифровых и буквенных индексов, образующих несколько групп обозначений, разделенных дефисом. Марка 2ФПБ 90-7 содержит в себе основную информацию об изделии и означает, что:

1. 2ФП - сдвоенная фундаментная плита;

2. Б - монтаж в воду собранными блоками;

3. 90 - длина (дм);

4. 7 - высота сечения (дм).

На поверхностях, видимых при складировании и монтаже, готовых плит должны указываться при помощи штампов или трафаретов: марка плиты и завода-изготовителя, дата выпуска, отпускной вес, печать отдела технического контроля.

Материалы и производство

Документ, регламентирующий требования к изготовлению фундаментных плит 2ФПБ 90-7, является Серия 3.505.1-15. Необходимо осуществлять их производство заводами ЖБИ с проведением систематического контроля над качеством на всех стадиях технологического процесса. Надежной основой плитам служит тяжелый гидротехнический бетон с маркой по прочности на сжатие М300. Рекомендуется добавлять в бетонную смесь специальные поверхностно-активные добавки, которые позволяют добиться получения материала с более высокими физико-механическими показателями. Марки бетона по морозостойкости и водонепроницаемости, а так же специальные требования к составу бетонной смеси и к защитным покрытиям принимаются при привязке проекта согласно СНиП II-28-73 с учетом степени агрессивности среды в области эксплуатации.

За счет восприятия растягивающих напряжений армирование существенно увеличивает несущую способность конструкций и делает их более стойкими к появлению трещин. Армируются плиты пространственными каркасами, собираемыми из плоских каркасов и сеток из стали классов АI, АIII.

Приемку готовых плит 2ФПБ 90-7 надлежит проводить согласно с указаниями ГОСТ 13015-75. Испытания на прочность и трещиностойкость рекомендуется выполнять неразрушительными методами. Конструкции с отклонениями по толщине защитного слоя бетона, положения стальных деталей, превышающими допустимые показатели, считаются браком и к поставке не допускаются.

Хранение и транспортировка

При складировании, погрузо-разгрузочных работах и перевозке готовых плит фундаментных 2ФПБ 90-7 требуется избегать действий, способных за собой повлечь повреждение изделий и выпусков арматуры.

Транспорт для перевозки фундаментных плит должен быть оснащен опорными и крепежными приспособлениями, гарантирующими на всем протяжении пути изделиям полную неподвижность.