ЛК 300-150-90-7 а





ЛК 300-150-90-7 а
О товаре
Цена по запросу
ОПИСАНИЕ
Лотки каналов ЛК 300-150-90-7 а это изделия играют ключевую роль в сфере строительства. Без этих элементов на сегодня вряд ли можно построить какое-либо сооружение, которое бы отвечало требованиям по прочности и долговечности. Лотки каналов ЛК 300-150-90-7 а используют при обустройстве технических сооружений, в которых осуществляется прокладка инженерных и коммуникационных сетей. Данный лоток также используют как основу из железобетона для каналов и тоннелей внутри различных зданий.
ЛК 300-150-90-7 а – это железобетонная плита особой формы (в виде скобы, П-образное сечение), которая дополнительно армируется. За счет высоких защитных функций лотки каналов нашли широкое применение.
1.Варианты написания маркировки.
Лотки каналов ЛК 300-150-90-7 а маркируют согласно Серии 3.006.1-8, где указывается условное обозначение типа железобетонного изделия и его размерный ряд. Данное изделие относится к разряду рядовых, что обозначает: для соединения с теплотрассами конструкция не имеет проемов. Обозначение может быть записано различными вариантами:
1. ЛК 300-150-90-7 а;
2. ЛК 300.150.90.7 а.
2.Основная сфера применения.
Лотки ЛК 300-150-90-7 а применяют в строительной сфере для прокладки кабельных каналов. Так как форма имеет П-образный профиль, то обеспечивается высокая защитная функция от проникновения влаги, как результат – коммуникацию имеют трехстороннюю защиты. Используют ЛК 300-150-90-7 а в системах водоотведения в качестве дренажных элементов, например, при обустройстве парковок, пешеходных дорожек и прочих конструкций благоустройства территорий.
ЛК применяют в строительстве дорог и сложно-технических сооружениях, так как низкая водонепроницаемость бетона обеспечивает возможность пропуска через них потоков воды. Поэтому применяют данные лотки в сооружениях теплотрасс, электросетей и электротехнических шин высокого напряжения.
На лотки ЛК 300-150-90-7 а укладывают плиты перекрытий однотипового размерного ряда, а также используют бруски – все эти элементы образуют герметичный канал, который полностью изолирует проложенные в нем сети или коммуникации. Общая конструкция укладывается на подготовленное основание: выполняется из песка 10 см. толщиной, обустраивается небольшой уклон для лучшего отвода грунтовых вод.
Лотки каналов способны выдерживать несущие нагрузки до 15 тс/м2, при этом прочность бетона обуславливает применение данных ж/б элементов в условиях сейсмической активности (включительно до 9 баллов). Стоит отметить, что даже небольшое землетрясение полностью разрушает стальные трубы, поэтому рекомендовано сооружать специальные каналы для прокладки инженерных сетей из железобетонных элементов.
3.Маркировка изделия.
1. ЛК - лотки каналов;
2. 300 - длина, указывается в см;
3. 150 - ширина, указывается в см;
4. 90 - высота, указывается в см;
5. 7 - индекс, характеризующий тип элемента по армированию;
6. а - индекс, характеризующий отличительные особенности элемента: наличие закладных деталей.
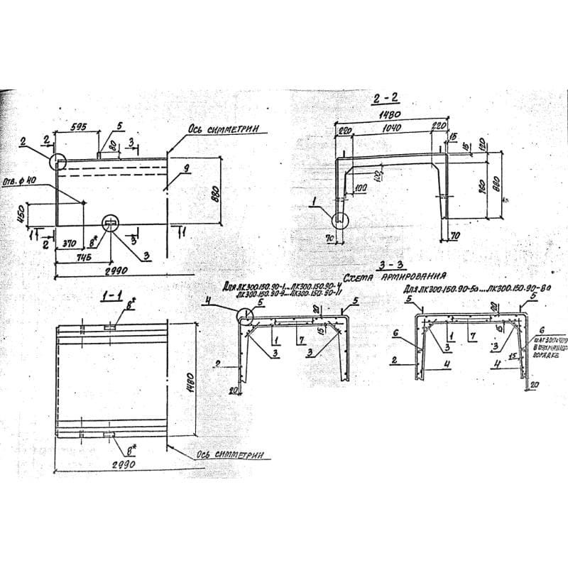
В обозначение лотков ЛК 300-150-90-7 а входит комбинация цифр и букв, где указывают тип изделия и размеры. Данный лоток имеет габаритные размеры: 2990х1480х880, где указаны длина, ширина и высота.
Дополнительно может быть указана расчетная вертикальная нагрузка, а также наличие закладных деталей. Геометрический объем изделия составляет 3,8942 , обьем бетона состовляет 1 , вес – 2500 . Маркировочные знаки наносят на боковые грани лотка несмываемой черной краской, также наносят дату изготовления и массу.
4.Изготовление и основные характеристики.
Лотки каналов ЛК 300-150-90-7 а изготавливают вибропрессованием с применением тяжелых бетонов. Данная смесь должна отвечать особым требованиям по прочности и стойкости к различным воздействиям, так как лотки эксплуатируются в агрессивных условиях. Итак, основные характеристики бетона:
1. Класс по прочности на сжатие – не менее В15;
2. Марка бетона по прочности на сжатие – не менее М200;
3. Морозостойкость – не менее F300;
4. Водонепроницаемость – не менее W4, дополнительно проводится гидрофобная защита (данное условие обуславливает максимальную "сухость" внутри инженерного сооружения).
Выполняется обязательное армирование готовых изделий ЛК 300-150-90-7 а стальным каркасом, типы сеток: С 3-2 и С 8-24. Класс арматурных прутков должен отвечать ГОСТ 6781-82 и составляет A-I и A-III. Прутки покрывают слоем бетона, эксплуатация с оголенной арматурой – не допускается. Закладные детали – монтажные петли внедряют в тело лотка для удобства подъема изделия на высоту. Впоследствии их загибают или срезают. Арматура берется горячекатаная или предварительно напряженная, что придает конечному изделию высокую прочность и долговечность. Для предотвращения течения коррозии или иных процессов лотки ЛК 300-150-90-7 а подвергают дополнительной обработке химическими составами.
5.Транспортировка и хранение.
Лотки каналов ЛК 300-150-90-7 а транспортируют при помощи спецтранспорта. Погрузочно-разгрузочные работы выполняют при помощи крана, так как изделие имеет значительную массу. Поднимают изделия плитой вверх. Хранение осуществляют штабелями не более трех слоев лотков, при этом под стенки изделий укладывают специальные опоры. Слои штабелей прокладывают деревянными досками.