2КН 20-27-4-1 сп (1.020.1-6сп)

bfz9fw9o6lckhcj
2КН 20-27-4-1 сп (1.020.1-6сп)

О товаре

Длина:2690
Ширина:400
Высота:400
Вес:1025
ГОСТ, Серия:-
Объем бетона:0,41 м3
Геометрический объем:0,4304 м3

Цена по запросу

ОПИСАНИЕ

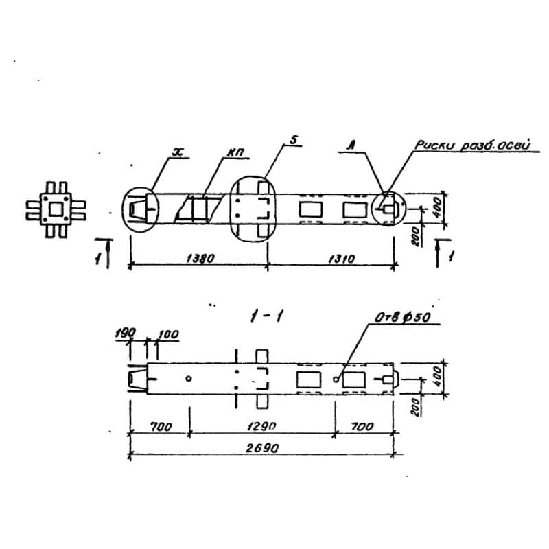
Колонны 2КН 20-27-4-1 сп (1.020.1-6сп) высокопрочные железобетонные изделия прямоугольной формы с квадратным поперечным сечением. В верхней части конструкции размещены выпуски арматуры, предназначенные для соединения изделий с диафрагмами поперечного и продольного направлений. Опирание диафрагм осуществляется на металлические уголки, расположенные в нижней части элементов.

Основной сферой применения колонн является возведение каркасных общественных зданий на просадочных грунтах. Они используются в сооружениях с высотой технического подполья 2 м, подвала 2,8, 3,3 и 3,6 м. Подходят для зон с сейсмичностью до 6 баллов. Железобетонные колонны применяются в качестве связующих элементов каркаса здания между диафрагмами нулевого цикла и позволяют создать жесткую коробку подвальной части. Элементы имеют существенные сортамент, позволяющий применять изделия по наружным осям, внутренним осям с жесткими рамными узлами и при обустройстве угловых частей здания. При разработке конструкций учитывались требования СНиП 2.03.01-84.

Расшифровка маркировки

Находящиеся на поверхности конструкций маркировочные обозначения упрощают процедуру поиска необходимых элементов. Знаки состоят из цифровых и буквенных обозначений, наносимых несмываемой масляной краской, и отражают ключевые характеристики. Совокупность символов 2КН 20-27-4-1 сп (1.020.1-6сп) трактуется:

1. 2 тип изделия в плане (2 по внутренним осям с жесткими рамными узлами, 3 по наружным осям, 5 и 5 с индексом н в конце маркировки угловые);

2. КН тип конструкции колонна нижняя;

3. 20 высота технического подполья или подвала;

4. 27 длина;

5. 4 индекс несущей способности;

6. 1 количество выпусков (1 по 2 в 6 направлениях, 2 4 в продольном и 2 в поперечном направлении, 3 по 4 в обоих направлениях);

7. сп изделие разработано для сейсмических районов на просадочных грунтах.

Индекс «н» в конце маркировки означает зеркальное отображение колонны.

Материалы и производство

Железобетонные колонны 2КН 20-27-4-1 сп (1.020.1-6сп) разработаны по Серии 1.020.1-6сп. По условиям нормативного документа в качестве главного материала выступает тяжелый бетон класса В25. Марки бетона по водонепроницаемости и морозостойкости подбираются индивидуально под каждый типовой проект.

Изделия армируются специальными пространственными каркасами из отдельных продольных стержней, замкнутых хомутов и сеток косвенного армирования. С этой целью применяется горячекатаная сталь классов AI и AIII по ГОСТ 5781-82. Для удобства транспортировки и монтажа в теле конструкции имеются специальные строповочные отверстия диаметром 50 мм. Закладные детали производятся из сортового проката. Для защиты металлических составляющих от коррозионных образований следует использовать средства, рекомендованные СНиП 2.03.11-85.

Перед поставкой обязательно прохождение приемо-сдаточных испытаний.

Транспортировка и хранение

Основание для хранения колонн должно иметь плотную структуру. Укладка допускается в один ряд или штабеля не выше 2 м. При однорядном хранении высота подкладок (с учетом возможности кантовки) равна 200 мм. Расстояние между изделиями 400-500 мм. В штабелях толщина подкладок должна составлять 40 мм. Располагать изолирующие материалы следует под отверстиями. Выступающие части конструкции должны быть защищены от механических повреждений.

Погрузочно-разгрузочные работы следует производить с помощью балансирной траверсы и пальцевых захватов, пропускаемых в отверстия. Необходимо соблюдать правила и нормы техники безопасности.