2П 15 н

2П 15 н
О товаре
Цена по запросу
ОПИСАНИЕ
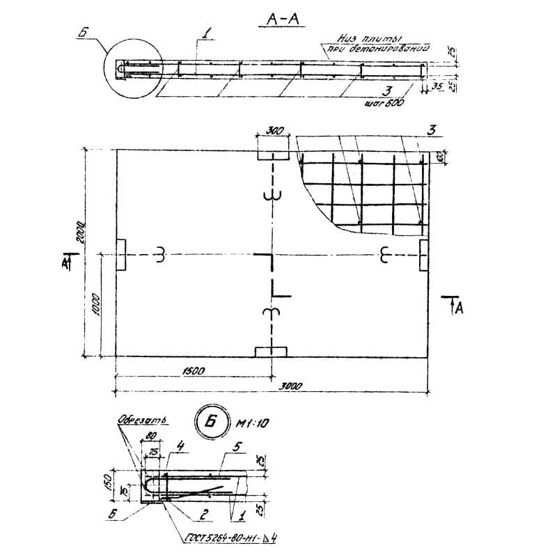
Плиты 2П 15 н– высокопрочные железобетонные изделия, имеющие прямоугольную форму и оснащенные небольшими углублениями по боковым сторонам.
Унифицированные плиты широко применяются при строительстве различных укрепляющих сооружений для поддержки откосов судоходных рек и каналов. Изделия обеспечивают надежную опорную конструкцию, препятствуя обвалу грунта и оберегающую судоходный канал от разрушений. Монтаж плит может осуществляться сборкой укрепления из соразмерных частей в укрепленные корты с последующим омоноличиванием, либо с обеспечением раздельных открытых швов. Прочность, надежность и долговечность конструкций достигается благодаря входящим в состав поверхностно-активным органическим добавкам, подбираемым по рекомендациям ВСН 6/118-74. Допускается использовать конструкции в климатических зонах с расчетной температурой наружного воздуха не ниже -40 градусов.
Расшифровка маркировки
На поверхность конструкций наносятся специальные знаки, упрощающие процесс поиска и сортировки готовых изделий. Маркировочные обозначения носят информационный характер и наносятся несмываемой масляной краской на поверхность каждого изделия. Знаки 2П 15 н расшифровываются:
1.2 – порядковый номер типоразмера по ширине и длине
2.П – тип конструкции – плита;
3.15 – высота сечения;
4.н – индекс, указывающий на наличие дополнительных закладных деталей в теле конструкции.
Для нанесения знаков допускается использование трафаретов и штампов.
Материалы и производство
В качестве основного материала по рекомендациям Серии 3.505.16 для изготовления плит крепления откосов 2П 15 н следует использовать тяжелый гидротехнический бетон марки М 300 по прочности на сжатие. Морозостойкость и водонепроницаемость подбираются отдельно под условия каждого типового проекта исходя из климатических и эксплуатационных особенностей. Бетон должен отвечать требованиям ГОСТ 4795-68. Величина защитного слоя бетона до поверхностей рабочей арматуры принята на уровне 25 мм.
Для армирования конструкций используется горячекатаная стержневая сталь классов AI и AIII по ГОСТ 5781-81. Закладные детали следует производить из стали класса AII и проката марки Вст3кп2 или ВСт3пс6 по ГОСТ 103-76. Качество арматурных и закладных изделий должно соответствовать требованиям ГОСТ 10922-75. Обязательна антикоррозионная обработка металлических частей специальными составами для продления эксплуатационного срока.
Контроль качества готовых изделий необходимо производить методами, изложенными ГОСТ 8829-77. Геометрические пропорции должны соответствовать рабочим чертежам, представленным в Серии 3.505.1-16. После прохождения приемосдаточных испытаний выдаются специальные паспорта с указанием следующих сведений: дата изготовления, информация о производителе, номер партии, марка конструкций, марка бетона, прочность, входящая в состав арматура и вид антикоррозионного покрытия (по требованию проекта).
Транспортировка и хранение
Складирование и транспортировка плит крепления откосов 2П 15 н должны осуществляться в горизонтальном положении с обеспечением надежного опирания из деревянных подкладок с толщиной минимум 50 мм. Между рядами обязательно наличие изолирующих материалов высокой плотности.
Транспортировка допускается грузовыми автотранспортными средствами и железнодорожными составами, удовлетворяющими требования по тоннажу. Перед перевозкой обязательно обеспечение надежной фиксации с целью предотвращения смещения. Следует безукоризненно соблюдать технику безопасности.