1НЧ 45-22-30-50 л-2

9qqvc0iblwqwywt
1НЧ 45-22-30-50 л-2

О товаре

Длина:4490
Ширина:300
Высота:2150
Вес:1510
ГОСТ, Серия:-
Объем бетона:1,19 м3
Геометрический объем:2,896 м3

Цена по запросу

ОПИСАНИЕ

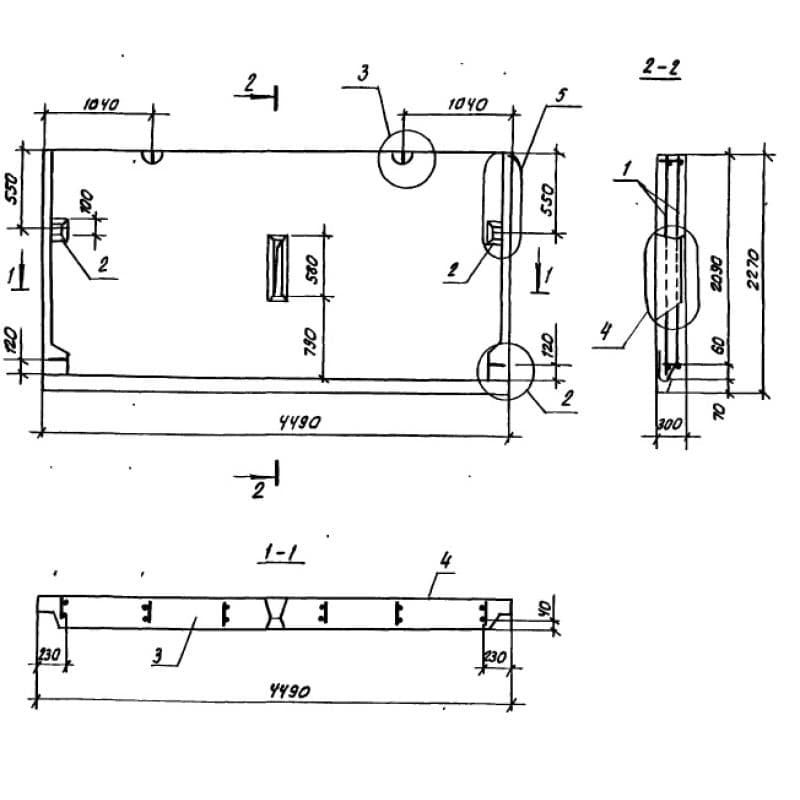
Панели опорные 1НЧ 45-22-30-50 л-2 - высокопрочные железобетонные конструкции, имеющие прямоугольную форму. По периметру элемента расположены закладные детали, позволяющие надежно фиксировать панель в каркасе здания.

Применяются опорные панели при строительстве многоэтажных домов, запроектированных по 97 домостроительной серии. Изделия отвечают за распределение нагрузки среди несущих стен в общем каркасе строящегося здания. Их используют при застройке холодного чердака в 5-9 этажных домах. Допускается эксплуатация в I климатическом районе с нормальным ветровым давлением до 0,38 кПа при температуре не ниже -40 градусов. При разработке строительных материалов учитывались требования СНиП 2.03.01-84 и ГОСТ 11024-84. Предельные габариты панелей не должны превышать следующих значений 6,31х2,67х0,31 м.

Маркировочные обозначения

Несмываемая краска позволяет отражать на поверхности железобетонных конструкций символы, устойчивые к истиранию и влаге. Их основная задача - отображение основных характеристик строительных элементов. Совокупность знаков 1НЧ 45-22-30-50 л-2 расшифровывается:

1. 1 - количество слоев;

2. НЧ - опорная панель;

3. 45 - длина (дм);

4. 22 - высота (дм);

5. 30 - толщина (см);

6. 50 - марка бетона по прочности на сжатие;

7. л - легкий бетон;

8. 2 - отличительны особенности по изменениям в опалубке.

Не допускается вносить произвольные изменения в маркировочное обозначение. Дополнительно можно указывать дату производства, массу, информацию об изготовителе.

Особенности производства

С полным порядком производства опорных панелей 1НЧ 45-22-30-50 л-2 можно ознакомиться в Серии 1.100.1-7. По условиям документа для изготовления изделий рекомендуется использовать керамзитобетон класса по прочности на сжатие В3,5 и плотностью 1100 кг/м3. Показатель морозостойкости должен составлять не менее F35. При наличии в панелях дополнительного утеплителя следует использовать класс бетона В12,5. Величина утеплителя не должна превышать 170 мм и плотность 50 кг/м3 (ГОСТ 15588-86).

Высокая прочность панелей достигается благодаря входящим в состав пространственным каркасам, и арматурным сеткам. Они выполняются из стержневой стали класса AIII и проволоки класса Вр1. Сварка металлических частей должна отвечать требованиям ГОСТ 10922-75. Для производства монтажных петель применяется сталь класса AcII по ГОСТ 5781-82. Металлические составляющие проходят противокоррозионную обработку для продления эксплуатационного срока.

После пропарки и распалубки важной частью производственного процесса является прохождение приемо-сдаточных испытаний. Точность геометрических пропорций следует сверять с рабочими чертежами в нормативной документации. По итогам проверок удовлетворяющие требования стандартов конструкции снабжаются необходимыми сертификатами, подтверждающими пригодность к эксплуатации. Некондиционные элементы, содержащие трещины, сколы и оголенное армирование - отбраковываются и складируются отдельно.

Транспортировка и хранение

Складирование опорных панелей 1НЧ 45-22-30-50 л-2 должно осуществляться на заранее подготовленных площадках в вертикальном положении. Важно обеспечить надежную опору из деревянных досок, размещать которые следует исключительно под внутренним бетонным слоем панели. Погрузочно-разгрузочные работы необходимо осуществлять с применением специализированного оборудования и с соблюдением правил и норм техники безопасности. Важно следовать рекомендациям ГОСТ13015.4-84.