1К 120-16

9kr2fzhwoljdxyn
1К 120-16

О товаре

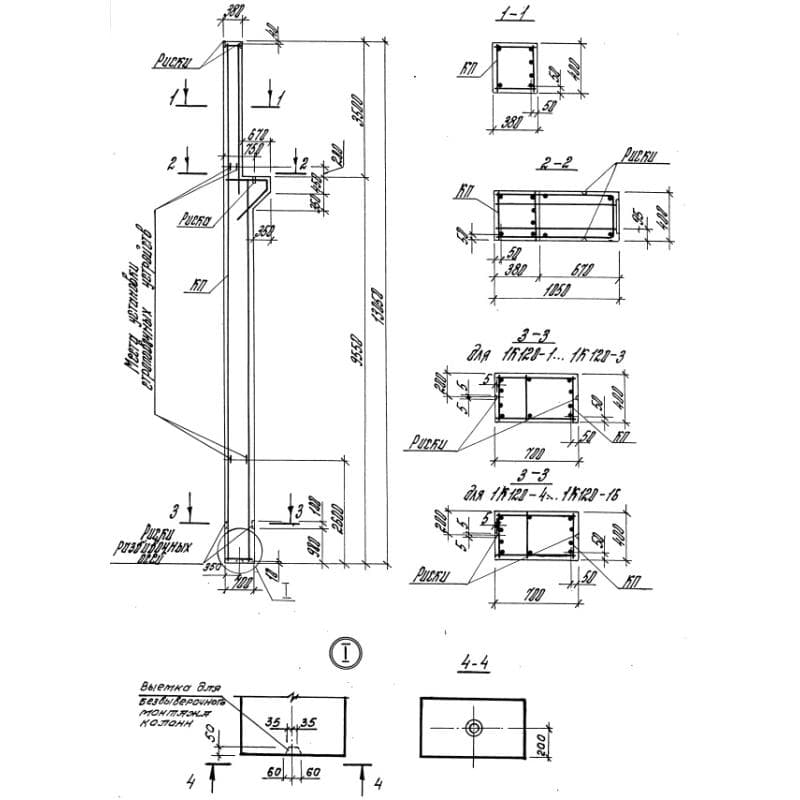
Длина:13050
Ширина:700
Высота:400
Вес:8200
ГОСТ, Серия:-
Объем бетона:3,3 м3
Геометрический объем:3,654 м3

Цена по запросу

ОПИСАНИЕ

Колонны 1К 120-16 разработаны в качестве несущих элементов для обустройства производственных зданий каркасного типа. Это прямоугольные ступенчатые конструкции, в плоскости большего сечения которых предусмотрены специальные консоли для опирания подкрановых блоков. В некоторых случаях предусматривается также наличие консолей в плоскости меньшего сечения. Они, в свою очередь, служат для опирания железобетонных подстропильных конструкций. Сами колонны также выполняются из высокопрочного бетона, армированного сталью. Технология изготовления прописана в Серии 1.424.1-5 – соответствующем типовом проекте.

1. Варианты маркировки

Согласно с действующими нормами марка железобетонных строительных материалов может писаться несколькими способами. Для колон 1К 120-16 утверждены следующие варианты:

1. 1К 120-1;

2. 1К 120-2;

3. 1К 120-3;

4. 1К 120-4;

5. 1К 120-5;

6. 1К 120-6;

7. 1К 120-7;

8. 1К 120-8;

9. 1К 120-9;

10. 1К 120-10;

11. 1К 120-11;

12. 1К 120-12;

13. 1К 120-13;

14. 1К 120-14;

15. 1К 120-15;

16. 1К 120-16.

2. Основная сфера применения

Колонны с прямоугольным сечением используются для проектирования и возведения одноэтажных промышленных зданий высотой от 12, 13.2 и 14.4. Грузоподъемность опорных мостовых кранов, которыми оборудованы подобные установки, не должна превышать 32-х тонн. В нулевом выпуске Серии 1.424.1-5 четко расписан алгоритм расчета нагрузок и выбора марок изделий для каждого отдельного случая. В целом, колонны должны обладать повышенной прочностью, способностью воспринимать большие вертикальные нагрузки не трескаясь и не деформируясь, а также завидной стойкостью к вредоносным внешним воздействиям. Они могут применяться в условиях агрессивной газовой среды, не подвержены процессам внутренней коррозии и не боятся повышенной влажности.

3. Обозначения маркировки изделия

Правильное написание маркировочных обозначений - это важный аспект производства ЖБ-изделий. Кроме того, умение расшифровывать марку позволяет быстро ориентироваться в технической документации и существенно упрощает процесс сортировки материалов. Элементы марки 1К 120-16 несут в себе следующую информацию:

1. 1 – номер типоразмера колонны;

2. К – колонна;

3. 120 – высота этажа здания в дм.;

4. 16 - порядковый номер по несущей способности.

На сами изделия маркировка наносится стойкой черной краской. Однако помимо основных обозначений, расшифрованных выше, на боковой грани колон указывается также дата их выпуска, название или лого производителя и основные технические параметры:

Длина = 13050;

Ширина = 700;

Высота = 400;

Вес = 8200;

Объем бетона = 3,3;

Геометрический объем = 3,654.

По стандарту такие обозначения должны быть нанесены как минимум на каждое 10-е изделие выпущенной партии.

4. Изготовление и основные характеристики

Рабочие чертежи колон 1К 120-16 приведены в Серии 1.424.1-5. Здесь же указаны основные технические условия производства. Для выпуска берется тяжелый бетон, класс прочности которого может составлять от В15 до В40 в зависимости от проекта будущего здания и роль в нем колон. Марки водонепроницаемости (W4-W6) и морозостойкости варьируются соответственно с климатическим режимом на местности, где будут проводиться строительные работы, а выбор марки по прочности на сжатие основан на требуемом уровне несущей способности опорного столба.

В качестве армирования применяется арматурная сталь классов А-ІІІ, А-І и Вр-І. Это прочные металлические стержни, которые сваривают в пространственный каркас и снабжают закладными деталями, предназначенными для крепления несущих конструкций покрытия здания, подкрановых балок или связей и стен. Металлическую основу монтируют в стальную опалубку для формовки и заливают плотным равномерным слоем подсушенного бетона. Не покрытыми цементной массой остаются только строповые петли. В ходе формования и сушки изделия обретают повышенную плотность и прочность, их поверхность становится ровной и гладкой. Соответствие готовых колон всем техническим требованиям проверяется в ходе заключительных приемо-сдаточных испытаний.

5. Транспортировка и хранение

Хранятся железобетонные колонны 1К 120-16 на специально оборудованных складах с заранее подготовленной выровненной песчано-щебенчатой основой. Их укладывают в положение «на ребро», поштучно изолируют деревянными инвентарными прокладками и обеспечивают прямой доступ подъемной спецтехники к каждому отдельному элементу.

Главным условием успешной транспортировки является максимально тщательное обездвиживание ЖБ изделий в кузове грузового транспорта. Для фиксации используются стальные ленты или проволоки, в ход также идут уже знакомые нам прокладочные материалы. Надежное крепление позволяет уберечь колонны от смещений и опрокидывания, а доски берегут их от трения между собой. Четкое соблюдение всех правил безопасности позволяет доставлять строительные элементы в полной сохранности.