ФБС 29-4-3 т-2 (шифр 27Н-83)










ФБС 29-4-3 т-2 (шифр 27Н-83)
О товаре
Цена по запросу
ОПИСАНИЕ
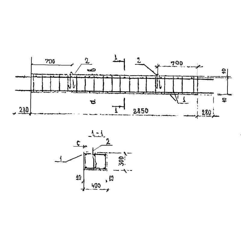
Фундаментные блоки ФБС 29-4-3 т-2 (шифр 27Н-83)– унифицированные железобетонные изделия прямоугольной формы. Характерной отличительной особенностью конструкции является наличие выступающей арматуры на торцевых концах элемента, предназначенной для сцепления со смежными изделиями.
Высокопрочные железобетонные фундаментные блоки широко применяются при строительстве жилых домов на сельскохозяйственных территориях. Изделие служит основой будущей постройке. Прочность, долговечность и способность выдерживать колоссальные нагрузки делают конструкции экономически целесообразным материалом для строительства жилых домов и различных объектов сельскохозяйственного назначения. По скоростному напору ветра элементы благоприятно применять в I-IV районах. По массе снегового покрова – I-V. Изделия рассчитаны на эксплуатацию в районах с сейсмичностью до 6 баллов, но при соблюдении мер в соответствии со СНиП II-7-81 допускается применение конструкций в районах с толчками до 9 баллов. Элементы разрабатывались в соответствии с рекомендациями СНиП II-15-74.
Расшифровка маркировки
Для упрощения складирования, транспортировки и подбора требуемых по типовому проекту элементов, были разработаны специальные маркировочные обозначения информационного характера. Они состоят из комбинаций цифр и букв, содержащих ключевые характеристики. ФБС 29-4-3 т-2 (шифр 27Н-83) имеет следующую расшифровку:
1. ФБС – тип конструкции – фундаментный блок сплошной;
2. 29 – длина;
3. 4 – ширина;
4. 3 – высота;
5. т – тяжелый бетон;
6. 2 – тип армирования.
Материалы и производство
Порядок производства, требования к материалам и рабочие чертежи изделий представлены в нормативном документе Шифр 27Н-83. По регламенту рекомендуется осуществлять изготовление в металлических формах. Основным материалом выступает тяжелый бетон марки М200 по прочности на сжатие. Толщина защитного бетонного слоя до поверхностей рабочей арматуры равна 40 мм. Марки водонепроницаемости и морозостойкости бетона зависят от климатических особенностей и условий эксплуатации в регионе застройки. Минимальные значения приняты на уровне W2 и F50.
В конструкции присутствуют пространственные каркасы, придающие дополнительную прочность и выносливость изделию. Они производятся из высокопрочной стали класса AIII по ГОСТ 5781-82 с диаметром стержней 10 и 12 мм. Для продольного армирования используется проволока класса Bp-I по ГОСТ 6727-80, диаметр прутка 4 мм. В теле элемента предусмотрены монтажные петли из горячекатаной стали класса AI марок ВСт3сп2 и ВСт3пс2. Допускается использование стали класса Ac-II марки 10ГТ. Все металлические элементы в обязательном порядке проходят антикоррозионную обработку специальными составами.
До поставок потребителю конструкции подвергаются гидроизоляционной обработке, должны набрать отпускную прочность и пройти контрольные испытания. По результатам проверок выдаются соответствующие документы.
Транспортировка и хранение
Железобетонные фундаментные блоки рекомендуется укладывать в горизонтальные штабеля высотой не более 2,5 м. Изделия должны храниться на выровненной территории на деревянных опорах с обязательным прокладыванием изоляционных материалов. Следует предохранять арматурные выпуски от механических повреждений.
Погрузочно-разгрузочные работы необходимо осуществлять с помощью специализированной техники исключительно за строповочные петли. Допускается использование любого грузового транспорта, оборудованного крепежными приспособлениями и фиксаторами.