2ПЦ 6-60-45 ф (1.817.1-2)

2ПЦ 6-60-45 ф (1.817.1-2)
О товаре
Цена по запросу
ОПИСАНИЕ
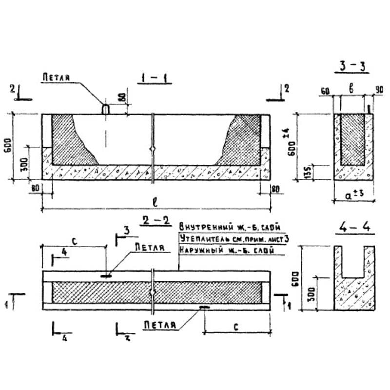
Панель стеновая цокольная трехслойная 2ПЦ 6-60-45 ф (1.817.1-2) это - высокопрочный строительный элемент, состоящий из двух наружных железобетонных слоев и внутреннего утеплителя из пенополистирола или фибролита. Многослойность изделия сформировала у панели полезные характеристики, такие как прочность, влагостойкость, отличную тепло- и звукоизоляцию, а также устойчивость к перепадам температуры и воздействиям агрессивной внешней среды. Данные цокольные изделия, согласно регламенту их изготовления, предназначены под установку наружных стен из облегченных панелей. Используются 2ПЦ 6-60-45 ф (1.817.1-2) при строительстве сельскохозяйственных отапливаемых зданий II класса ответственности, возводимых в I-IV географических районах по весу снегового покрова и ветровому давлению, с сейсмической активностью региона до 6 баллов. Допустимые степени воздействия газовых сред: неагрессивная, слабо или среднеагрессивная.
Расшифровка маркировки
Марки всех ЖБИ, в том числе и трехслойных элементов, приняты буквенно-числовым индексом. Каждый символ несет в себе смысловую нагрузку о габаритах и материалах. В 2ПЦ 6-60-45 ф (1.817.1-2) расшифровка маркировки представлена следующим образом:
1. 2 - второй тип конструкции;
2. ПЦ - панель цокольная;
3. 6 - длина в м;
4. 60 - ширина в см;
5. 45 - высота в см;
6. ф - вид утеплителя - фибролит.
Темной водостойкой краской на готовое изделие наносится маркировка, название завода-изготовителя, вес, датировка, а также штамп отдела технического контроля.
Материалы и производство
Серия 1.817.1-2 является основополагающим нормативом, на который основывается изготовитель стеновой цокольной трехслойной панели при ее создании. Выпуск таких изделий осуществляется исключительно в заводских условиях, в стальных формах, с соблюдением последовательности производственных этапов и с обязательным пооперационным контролем. Одним из главных материалов для создания 2ПЦ 6-60-45 ф (1.817.1-2) выступает тяжелый бетон В15. В состав данной смеси входят цемент, обладающий гидрофобными и быстротвердеющими свойствами, песок, щебень, вода и пластификаторы, качество которых отвечает определенному эталону. Средний слой конструкций может быть выполнен из полистирольного пенопласта с плотностью 40 кг/м3 или из фибролитовых плит на портландцементе с объемной массой 300 кг/м3.
Для создания прочного стального «скелета» 2ПЦ 6-60-45 ф (1.817.1-2), который поможет избежать разрушение бетона, используется стержневая арматура класса А-III и проволока класса Вр-I. Из данных материалов с помощью электросварочных клещей собирается пространственный каркас. Для удобства соединения панели с другими изделиями при строительстве, трехслойный элемент оснащается закладными деталями, марки стали которых определяются по температуре наружного воздуха строительной площадки. Дополнительно в конструкцию закладываются монтажные петли из гладкой горячекатаной стали класса А-I марок ВСт3сп2 и ВСт3пс2.
Документ о качестве, который сопровождает прошедшие контрольную проверку изделия, должен быть составлен по ГОСТ 13015.3-81.
Хранение и транспортировка
Железобетонные цокольные стеновые панели с утеплителем при складировании и перевозке размещаются в рабочем положении. Погрузку и разгрузку конструкций следует выполнять с соблюдением мер предосторожности, которые помогут исключить возможность повреждения 2ПЦ 6-60-45 ф (1.817.1-2). Также необходимо предусматривать мероприятия, предохраняющие утеплитель от механических повреждений и проникновения влаги.