3КД 180-5,5

3КД 180-5,5
О товаре
Цена по запросу
ОПИСАНИЕ
Колонны двухветвевые 3КД 180-5,5 - это типовые конструкции из тяжелого армированного бетона. С помощью этих изделий организовывают проходы для просматривания крановых путей в зданиях помышленного типа, чем обусловлены конструктивные особенности колонн. В нижней части они расходятся на две ветви, между которыми предусмотрены специальные распорки. Все отдельно взятые части изделия имеют сплошное прямоугольное сечение, а для надежности опирания на фундамент, в нижней плоскости предусмотрен так называемый стальной башмак с прорезями для анкерных болтов и креплений другого типа.
В конструкции здания основная функция двухветвевых железобетонных колонн - воспринимать горизонтальные и вертикальные нагрузки постоянного или временного типа. Они отлично подходят для применения в условиях неагрессивной или слабоагрессивной среды и могут выдерживать сейсмическую активность вплоть до 6 баллов по шкале Рихтера. Благодаря высоким эксплуатационным характеристикам и широкому номенклатурному ряду данные ЖБ-изделия пользуются большой популярностью в сфере индустриального строительства.
1. Варианты маркировки
Маркировка двухветвевых колонн 3КД 180-5,5 очень важна. Она используется в многочисленных технических документах и сертификатах для идентификации конкретного наименования. Способов написания марки существует несколько. Они определяются действующим регламентом Серия 1.424.1-9 и представлены следующими вариантами:
1. 3КД 180-1,3;
2. 3КД 180-2,3;
3. 3КД 180-3,3;
4. 3КД 180-3,4;
5. 3КД 180-4,4;
6. 3КД 180-5,4;
7. 3КД 180-7,3.
2. Основная сфера применения
В основном, двухветвевые железобетонные колонны, которые также часто называют колоннами с проходом, применяются в одноэтажных промышленных зданиях, оборудованных мостовыми опорными кранами легкого, среднего и тяжелого режимов работы, Однако с таким же успехом они могут быть установлены и в зданиях без кранов. При использовании в неотапливаемых помещениях температура внешней среды не должна опускаться ниже -40 градусов по Цельсию, а в постойках отапливаемого типа ограничений по температурному режиму нет.
3. Обозначения маркировки изделия
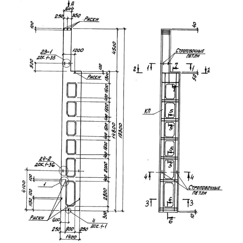
Итак, железобетонные колонны двухветвевого сечения подлежат обязательной маркировке, которая регламентируется Серией 1.424.1-9. Как же разобраться в группах буквенных и цифровых обозначений марки, чтобы получить исчерпывающее понятие о габаритах изделия и его технических характеристиках? Для колонн 3КД 180-5,5 данные симолы расшифровываются так:
1. 3 - типоразмер колонны;
2. КД - колонна для каркасов зданий, оборудованных электрическими опорными подвесными кранами, или без кранов;
3. 180 - высота этажа в дм.;
4. 5 - тип армирования;
5. 5 - марка бетона М500.
Какой бы исчерпывающей ни была маркировка любого строительного материала, выбор сильно зависит также и от точных габаритов изделия. Двухветвевая колонна данной марки характеризуется следующими размерными значениями:
Длина = 19300;
Ширина = 600;
Высота = 500;
Вес = 17300;
Объем бетона = 6,9;
Геометрический объем = 5,79.
4. Изготовление и основные характеристики
Производственный процесс регламентируется действующими стандартами так же строго, как и маркирование. Колонны двухветвевого сечения должны успешно выдерживать не только вертикальное давление от вышерасположенных элементов, но также и колебания, вызванные работой мостовых кранов, в связи с чем основным материалом для них служит высокий класс бетона до В40. Готовые двухветвевые колонны 3КД 180-5,5 обладают маркой водостойкости W4-W5, а все закладные детали, крепления, замки и другие элементы армирования в них покрываются специальной антикоррозийной защитой. Для усиления конструкции служит прочная сталь класса А-ІІІ, а марка морозостойкости составляет не менее F50.
Важным этапом производства является приемка: заключительные испытания качества, показывающие, готова ли партия ЖБИ к эксплуатации. Во время таких испытаний изделия проверяют на прочность, отсутствие недопустимых дефектов на поверхности, а также соответствие всем требованиям действующих нормативов. В выпусках Серии, определяющей ход изготовления данных материалов, четко прописаны все правила приемки. Тщательное следование предписаниям и применение надежного современного оборудования позволяет выпускать по-настоящему качественную продукцию.
5. Транспортировка и хранение
В связи со своеобразной формой двухветвевых железобетонных колонн их невозможно хранить в штабелях. На специальных крытых площадках данные изделия аккуратно укладывают в ряд, используя при этом деревянные подкладки во избежание механических повреждений. Особо пристальное внимание уделяется местам строповочных петель и монтажных отверстий. Их изолируют отдельно. Залог успешной транспортировки - надежная фиксация. Материалы обездвиживают и также прокладывают досками для максимальной надежности.