2ПССД 27-33-4,0 п (1.232.1-8)

2ПССД 27-33-4,0 п (1.232.1-8)
О товаре
Цена по запросу
ОПИСАНИЕ
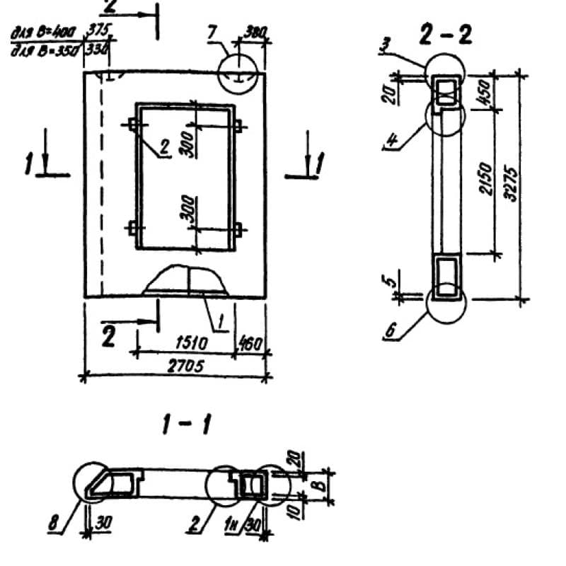
Панель однослойная самонесущая 2ПССД 27-33-4,0 п (1.232.1-8) представляет собой прочную прямоугольную конструкцию, выполненную из легкобетонной смеси и стального внутреннего каркаса. Наружная поверхность строительного элемента обладает эстетичным декоративным слоем. Вертикальные грани наружного слоя запроектированы из условия устройства стыков, заделываемых герметиками. На нижней горизонтальной грани предусмотрена декомпрессионная полость. Конструкционными особенностями, как данной панели, так и всех аналогичных изделий, изготавливаемых по регламенту Серия 1.232.1-8, является наличие проемов для окон и дверей. Благодаря 2ПССД 27-33-4,0 п (1.232.1-8) можно создавать стены при постройке крупнопанельных зданий промышленных предприятий с высотой этажа 3,3 метра. Климатическими особенностями строительной площадки, где могут применяться данные панели, является наличие неагрессивной среды, I-IV район по весу снегового покрова и по скоростному напору ветра, а также отсутствие сейсмичности региона и расчетная наружная температура воздух до -55 градусов по Цельсию.
Расшифровка маркировки
Буквенно-числовая аббревиатура представляет марку железобетонной панели, именно в ней содержится информация в кратком сжатом виде об основных характеристиках изделия. Так, если рассмотреть расшифровку 2ПССД 27-33-4,0 п (1.232.1-8) более подробно, то можно узнать следующее:
1. 2 - различие в размерах или расположении проема;
2. ПССД - панель стеновая самонесущая с отверстием для установки двери;
3. 27 - длина в дециметрах;
4. 33 - высота в дециметрах;
5. 4,0 - толщина в дециметрах;
6. п - используется бетонная смесь на пористых заполнителях.
Марка прописывается на боковой части однослойного элемента при помощи штампов или окраской по трафарету. Рядом с маркировкой могут быть указаны дата выпуска, вес, штамп ОТК, а также товарный символ предприятия-изготовителя.
Материалы и производство
Основным регламентом, определяющим производственные нормы, а также назначающим габариты, материалы и способы контроля качества самонесущих панелей, является Серия 1.232.1-8. Производство осуществляется в горизонтальных формах фасадной стороной вниз. Для изготовления 2ПССД 27-33-4,0 п (1.232.1-8) используется легкий бетон на пористых неорганических заполнителях марки по прочности на сжатие М75, обладающий высокими теплоизоляционными характеристиками. Используемый здесь наполнитель - гравий керамзитовый. Марка по морозостойкости бетонной смеси назначается в конкретном проекте, но должна быть не менее F25. Внешняя часть панели отделана декоративным слоем цементного раствора марки М100, толщиной 20 миллиметров. Цвет и вид отделки назначается при конкретном проектировании.
Армирование 2ПССД 27-33-4,0 п (1.232.1-8) осуществляется сварным пространственным каркасом, который собирается из плоских каркасов, арматурных сеток, отдельных стержней, петлевых выпусков и закладных деталей. Используемая здесь сталь - классов А-III, Ас-II и Вр-I. Для предохранения от коррозии лицевые поверхности закладных изделий покрываются антикоррозийной обмазкой слоем 0,5 мм.
При отпуске с завода панель должна иметь максимальную готовность в соответствии с требованиями ГОСТ 11024-84.
Хранение и транспортировка
Однослойные панели складируются в кассетах, в наклонном или вертикальном расположении. Важным условием здесь является использование деревянного инвентаря толщиной не менее трех сантиметров, который устанавливается под изделия. Подъем 2ПССД 27-33-4,0 п (1.232.1-8) производится с применением самобалансирующих траверс, обеспечивающих вертикальное положение элементов. Перевозка осуществляется в аналогичном хранению расположении, специализированными видами транспорта. Транспортное средство должно быть оборудовано специальными крепежными и опорными устройствами, которые помогают обеспечить неподвижность железобетонной продукции.