2ПС 6-18-3,0 я

2ПС 6-18-3,0 я
О товаре
Цена по запросу
ОПИСАНИЕ
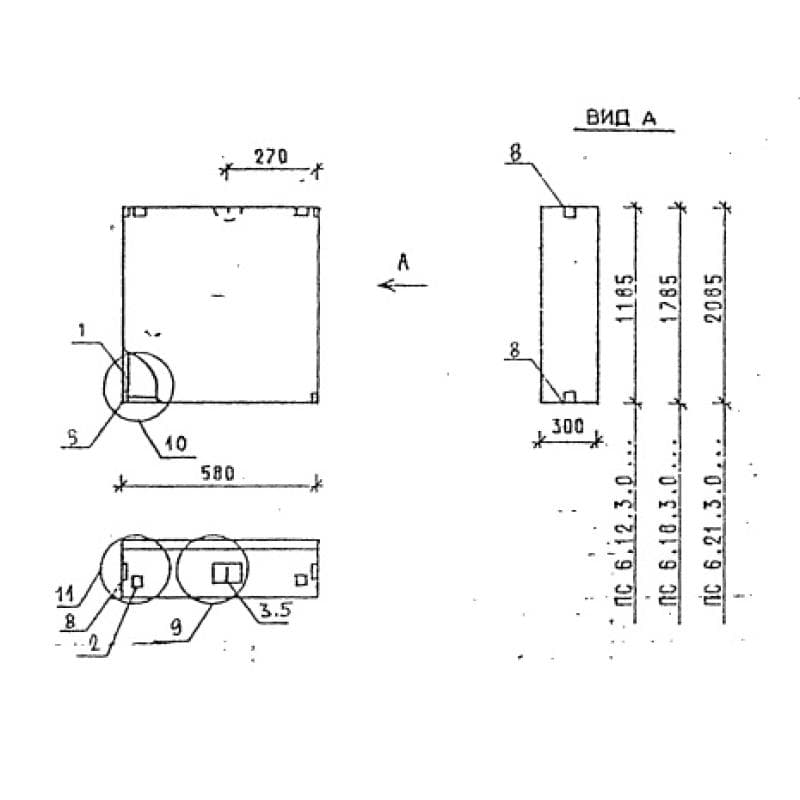
Панель стеновая 2ПС 6-18-3,0 я - это однослойная плоская конструкция, которая в зависимости от расположения в плане здания может иметь конструктивные особенности. Запроектированы такие строительные элементы из легкого и ячеистого бетона с градацией по ширине от 200 до 400 миллиметров и предназначены для сооружения самонесущих (более экономичный вариант) и навесных стен. Предназначены панели для каркасных многоэтажных производственных и вспомогательных зданий промышленных предприятий с высотой этажа 2,8 и 3 м (для сейсмических зон) и от 3,3 до 4,2 метра и до 7,2 м, с сеткой колонн 6х6. Применяются как в обычных условиях строительства, так и в районах с сейсмичностью 7-9 баллов и с разной степенью агрессивности среды, включая сильноагрессвную. Панели отличаются высокими показателями шумо- и теплоизоляции, быстротой и простотой монтажа, относятся к несгораемым конструкциям.
Расшифровка маркировки изделия
Условно обозначают железобетонные конструкции марками, которые состоят из буквенно-цифровых символов. Рассмотрим детально маркировку 2ПС 6-18-3,0 я, из которой видно что:
1. 2ПС – стеновая панель простеночная,
2. 6 – длина,
3. 18 – ширина,
4. 3,0 – высота,
5. я – ячеистый бетон.
Информация о марке изделия, весе, производителе наносится несмываемой, стойкой краской на торцевую сторону панели. Маркировочные надписи запрещено наносить на лицевую поверхность плиты.
Материалы и производство
Изготавливать однослойные стеновые панели 2ПС 6-18-3,0 я следует в заводских условиях с систематическим пооперационным контролем на всех стадиях производства с соблюдением вех требований и стандартов, прописанных в Серии 1.030.1-1. Производство панелей должно осуществляется в горизонтальных металлических формах фасадной стороной вниз. Основой конструкциям служит легкий бетон марки по М50 на пористых заполнителях и ячеистый марки М35. Однослойные панели из легкого бетона имеют еще два фактурных слоя - внешний и внутренний, выполненные из цементно-песчаного раствора, марками М50 и М100. Марка бетона и фактурного слоя по морозостойкости должна приниматься автором проекта в зависимости от расчетной зимней температурой в районе эксплуатации.
Армируются изделия сварными пространственными каркасами, состоящими из отдельных стержней и закладных деталей, выполненных из стали класса АIIIи ВрI. Установку арматуры в опалубку необходимо производить в собранном виде при закрытых бортах. Проектное положение арматуры обеспечивается цементными или пластмассовыми фиксаторами. Закладные детали предназначены для сопряжения с другими строительными элементами и должны подвергаться антикоррозийной обработке.
Партия или часть партии стеновых панелей признается годной после успешно пройденных контрольных испытаний на прочность, трещиностойкость и жесткость согласно ГОСТ 8829-77.
Транспортировка и хранение
Чтобы сохранить стеновые однослойные панели 2ПС 6-18-3,0 я после изготовления в пригодном состоянии для эксплуатации, необходимо их хранить в рабочем вертикальном положении или с небольшим наклоном в специальных кассетах. Для обеспечения конструкциям целостности следует обеспечивать им при складировании и перевозке опору на инвентарные прокладки.
Погрузку, разгрузку и монтаж разрешается осуществлять только за строповочные петли, а для панелей длиной 9 метров следует применять самобалансирующиеся траверсы.
Транспортирование конструкций необходимо реализовывать панелевозами, железнодорожными платформами, оборудованными опорными и крепежными приспособлениями для надежной фиксации изделий