1ВЭН 95-5

1ВЭН 95-5
О товаре
Цена по запросу
ОПИСАНИЕ
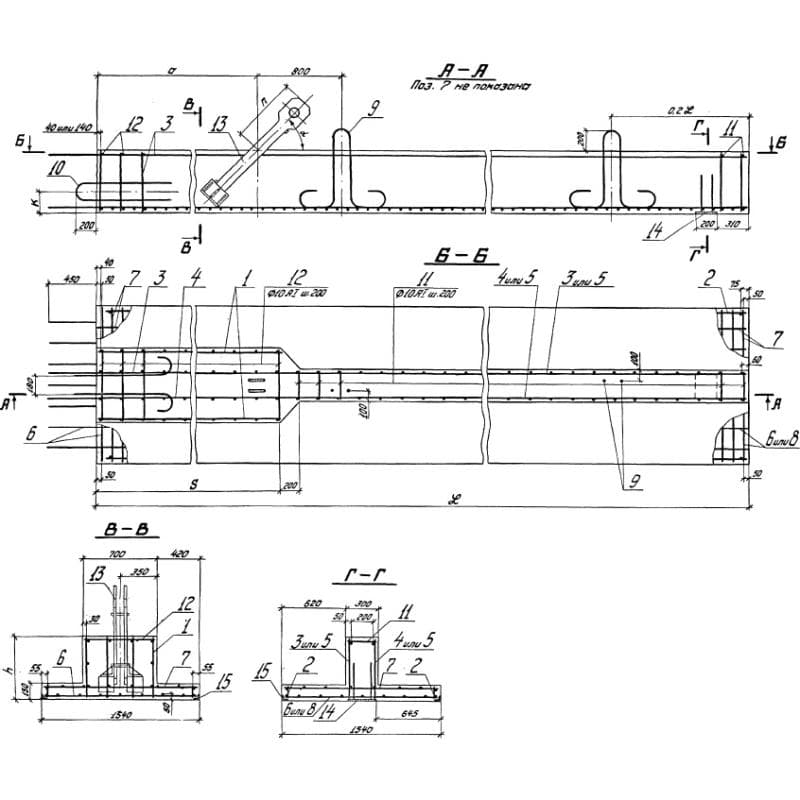
Вертикальный элемент 1ВЭН 95-5 - это железобетонная высокопрочная конструкция прямоугольной формы с тавровым поперечным сечением, особенность которой состоит в наличии арматурных выпусков, служащих для крепкого соединения с примыкающими строительными изделиями. Номенклатурный список элементов включает в себя конструкции с одним ребром (одиночные) и с двумя ребрами (сдвоенные). Разработаны такие изделия для возведения пассажирских и грузовых причальных набережных с высотой в диапазоне от 4 до 15 метров, возводимых на реках, озерах и водохранилищах. Используются данные изделия для строительства набережных уголкового профиля. Предусмотрено несколько способов монтажа вертикальных элементов - насухо, в воду собранными блоками или отдельными элементами.
Запроектированы 1ВЭО 125-8 АIIIв для областей с температурой наружного воздуха наиболее холодной пятидневки до -40 градусов по Цельсию. Более подробная информация по условиям эксплуатации, монтажным схемам прописана в серии изготовления.
Расшифровка маркировки
Условные обозначения (марки) железобетонных элементов состоят нескольких групп обозначений, отражающих их линейные размеры, способ монтажа, а у конструкций с предварительно напряженной арматурой, ее класс. При детальном рассмотрении маркировки 1ВЭН 95-5, можно узнать следующую информацию:
1. 1ВЭ - одиночный вертикальный элемент;
2. Н - для монтажа насухо;
3. 95 - длина (дм);
4. 5 - высота сечения (дм).
На всех готовых вертикальных элементах указываются помимо марки изделия: товарный знак или краткое наименование производителя, дата выпуска, отпускной вес, печать отдела технического контроля. Надписи надлежит наносить специальной краской, устойчивой к атмосферным осадкам с помощью штампов или трафаретов.
Материалы и производство
В Серии 3.505.1-15 прописаны основные требования к изготовлению железобетонных вертикальных элементов 1ВЭН 95-5. Регламентировано осуществлять их производство в заводских условиях с проведением на всех этапах технологического процесса контроля над качеством. В основе конструкций лежит тяжелый гидротехнический бетон с маркой по прочности на сжатие М400. Марки бетона по морозостойкости и водонепроницаемости, мероприятия по антикоррозийной защите принимаются при привязке проекта исходя от степени агрессивности среды и воды в области эксплуатации в соответствии со СНиП II-28-73.
Армирование, за счет восприятия растягивающих напряжений, обеспечивает вертикальным элементам прочность и долговечность. Армируются данные изделия пространственными каркасами, собранными из плоских каркасов и сеток, и отдельными стержнями. Нормативным документом изготовления предусмотрено два вида армирования - с предварительно напрягаемой арматурой и без предварительно напряжения. Подбор арматуры происходит с учетом необходимых показателей трещиностойкости и оснащенности заводов производителей.
Приемку готовых 1ВЭН 95-5 требуется проводить согласно с указаниями ГОСТ 13015-75. Испытания изделий на прочность и раскрытие трещин рекомендуется выполнять неразрушительными методами. Конструкции, не достигшие отпускной прочности, с размерами раковин, местных наплывов, превышающих допустимые параметры, к поставке не допускаются.
Хранение и транспортировка
При складировании, подъеме и перевозке вертикальных элементов 1ВЭН 95-5 следует избегать действий, которые могут за собой повлечь повреждение изделий и выпусков арматуры. При хранении и транспортировании конструкции должны опираться на инвентарные прокладки, предотвращающие их от смещения.