11ККП 132-5,3

11ККП 132-5,3
О товаре
Цена по запросу
ОПИСАНИЕ
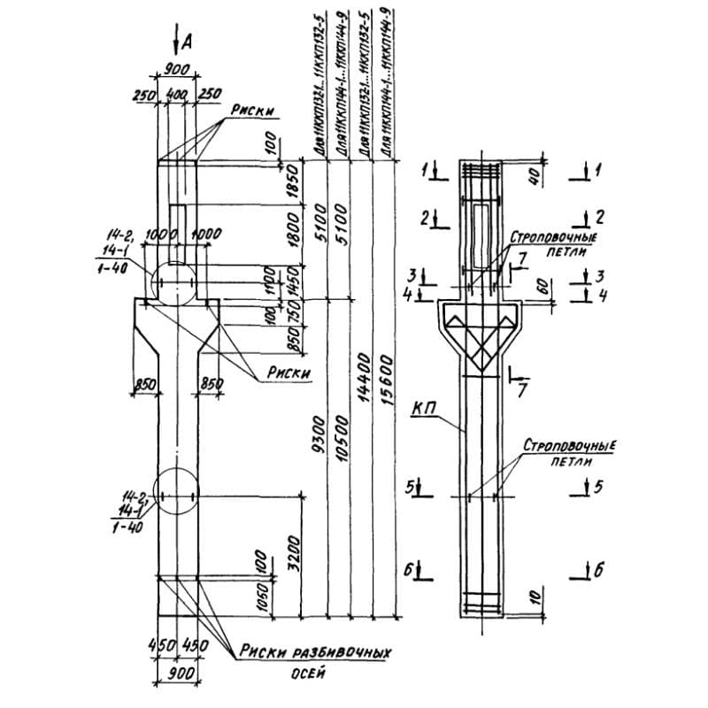
Колонны крановые 11ККП 132-5,3 разработаны для создания каркасов одноэтажных промышленных зданий, в которых предусмотрено использование мостовых опорных кранов с грузоподъёмностью до 32 тонн. В крановом уровне предусмотрены проходы размером 400х1800мм. Конструкция колонн допускает использование их арматурных каркасов в качестве заземляющих элементов.
1. Варианты маркировки
Полная маркировка колонн крановых 11ККП 132-5,3 по Серии 1.424.1-6/89 указывается в рабочих чертежах марки ЖКИ и может содержать дополнительную информацию производителя. Ссылка на Серию и наличие двух первых цифробуквенных групп обязательны.
1. 11ККП 132;
2. 11ККП 132-1,3;
3. 11ККП 132-1,4;
4. 11ККП 132-2,3;
5. 11ККП 132-2,4;
6. 11ККП 132-3,4;
7. 11ККП 132-4,3;
8. 11ККП 132-4,4;
9. 11ККП 132-5,3;
10. 11ККП 132-5,4.
2. Основная сфера применения
Колонны крановые 11ККП 132-5,3 предназначены для использования в промышленных одноэтажных зданиях. Они служат опорами для перекрытий, стеновых панелей и подкрановых путей мостовых кранов, которые работают в средних и тяжелых режимах. Максимальная грузоподъёмность монтируемых на них кранов 32 тонны. Колонны могут применяться без температурных ограничений в отапливаемых помещениях и при температуре выше -40°С в неотапливаемых. Использование колонн при расчётной температуре ниже -40°С требует применения в закладных изделиях и связях проката 09Г2С-6 по ГОСТу 19281-73 и ГОСТу 19282-73. Возводимые с их применением объекты могут располагаться в I-IV районах снегового и ветрового воздействия при сейсмичности до 6-ти баллов. Максимально допустима средняя агрессивность газовоздушной среды.
3. Обозначение маркировка изделия
Маркировка крановой колонны 11ККП 132-5,3 состоит из буквенно-цифровых групп, разделённых дефисом. Две из них основные, а одна дополнительная, заполняемая при адаптации чертежа серии к конкретному объекту:
Первая обязательная группа 11ККП 132-5,3 здесь:
1. 11 – типоразмер колонны конкретной высоты этажа. Определяет сечение колонны, надкрановую и подкрановую высоты (1-14);
2 ККП – характеристика конструкции: крановая колонна с проходом;
3. 132 – выраженная в дециметрах высота этажа здания (108, 120, 132, 144);
Вторая обязательная группа здесь:
4. 5 – характеристика армирования колонны;
5. 3 – условное обозначение класса бетона: 2 – В15, 3 - В22,5, 4 – В30.
Дополнительная группа, заполняемая при разработке рабочей документации конкретного объекта в чертежах ЖКИ. Содержит:
- Буквенный индекс, отражающий наличие, тип и количество закладных изделий;
- Характеристику проницаемости бетона.
Маркировочные надписи наносят несмываемой краской тёмного цвета на нижнем конце колонны, учитывая глубину её заделки в фундаментном стакане, с помощью трафаретов.
Колонны крановые 11ККП 132-5,3 по Серии 1.424.1-6/89 имеют следующие основные характеристики:
Длина = 14400;
Ширина = 900;
Высота = 400;
Вес = 14200;
Объем бетона = 5,7;
Геометрический объем = 5,184.
4. Изготовление и основные характеристики
Колонны крановые 11ККП 132-5,3 изготавливаются в металлических формах, соответствующих ГОСТ 25781-83Е. Пространственное расположение арматурных каркасов при размещении в опалубке обеспечивается пластмассовыми или цементно-песчаными фиксаторами. Использование металлических фиксаторов запрещено. Закладные изделия, предназначенные для крепления подстропильных и стропильных конструкций или подкрановых балок, фиксируют опалубочными инвентарными приспособлениями. Остальные закладные изделия крепят к арматурному каркасу.
Отклонения геометрических размеров колонны от номинала, в мм:
- по длине ±16;
- от торцов до консольных опорных плоскостей ±16:
- высота сечения ветвей ±3;
- ширина сечения ±4;
- высота сечения сплошной части ±5;
- отклонение от прямолинейности на 2-х метровой длине ±5мм при общей непрямолинейности 20мм;
Отклонение от проектного положения закладных металлических изделий, служащих монтажными фиксаторами или размещённых не на уровне поверхности бетона ±3мм. Толщина защитного бетонного слоя может отличаться от проектной в неагрессивной среде от -5 до +10мм, а в агрессивной от -3 до +10мм. Максимальное отклонение расположения строповочных петель ±15мм. Качество поверхностей по ГОСТ 13015.0-83 – А6. Не допускается на поверхности наличие ржавых и жировых пятен. Боковые грани содержат риски разбивочных осей здания.
5. Транспортировка и хранение
Все перемещения колонн крановых 11ККП 132-5,3 выполняют с использованием инвентарных строповочных приспособлений или монтажных петель. Хранят изделия в штабелях с обязательным использованием прокладок и подкладок с минимальной толщиной 40мм. Прокладки размещать по вертикали одну под другой строго. Маркировка при хранении должна быть доступна для считывания.